新苹果专利揭示:Vision Pro头显或将实现多用户共享功能
来源:ITBear科技资讯
2024-02-24 22:42:19
0浏览
收藏
有志者,事竟成!如果你在学习科技周边,那么本文《新苹果专利揭示:Vision Pro头显或将实现多用户共享功能》,就很适合你!文章讲解的知识点主要包括,若是你对本文感兴趣,或者是想搞懂其中某个知识点,就请你继续往下看吧~
苹果最近在美国市场推出了Vision Pro头显,引起了消费者的极大关注。然而,许多用户对其一个功能缺陷表达了不满:这款头显不支持多人账号功能,导致用户无法方便地与他人共享或分享内容。

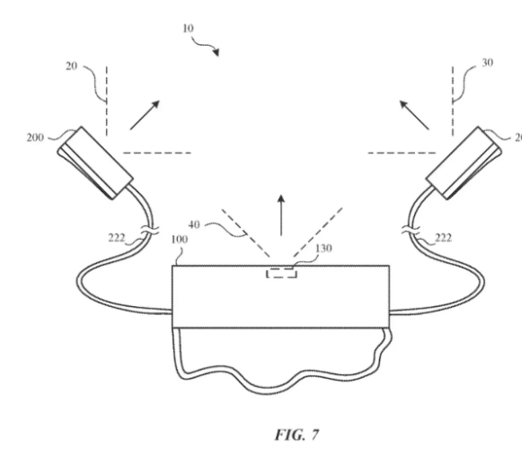
尽管这一抱怨声不断,但苹果似乎已经在为改善这一状况而努力。近日,美国商标和专利局(USPTO)公示了一项新的苹果专利,名为《用于共享体验的光学组件》,编号为US 20240064280 A1。据小编了解,这项专利描述了一种可以将用户视野中的内容投屏到外部显示器等设备上的技术,从而有望为多个用户提供共享的体验和内容享受。
苹果在专利摘要中指出,头戴设备可以与一个或多个光学组件协同工作,实现多人共享体验的目标。通过连接一个或两个光学组件,头戴设备可以促进多用户同时接收相同内容的操作。这种连接可以通过有线或无线通信链路来实现,从而实现共享用户视野范围内的视觉信息。尽管目前尚不清楚这项技术何时能够应用到实际产品中,但它为苹果头戴设备的未来发展开辟了新的可能性。
今天关于《新苹果专利揭示:Vision Pro头显或将实现多用户共享功能》的内容就介绍到这里了,是不是学起来一目了然!想要了解更多关于苹果的内容请关注golang学习网公众号!
版本声明
本文转载于:ITBear科技资讯 如有侵犯,请联系study_golang@163.com删除
下载最新的 Windows 11 官方原版镜像 - 纯净版安装指南
- 上一篇
- 下载最新的 Windows 11 官方原版镜像 - 纯净版安装指南
- 下一篇
- 对 Go 中的 GRPC 流发送功能进行测试评估
查看更多
最新文章
-
- 科技周边 · 业界新闻 | 12小时前 | c919零件通道 中美航天合作
- 200架波音换C919,国产零件持续供应!
- 345浏览 收藏
-
- 科技周边 · 业界新闻 | 14小时前 | win11
- Win11用户注意!木马威胁警告来袭
- 356浏览 收藏
-
- 科技周边 · 业界新闻 | 4天前 |
- 华为Mate 90双潜望长焦,10倍变焦来袭!
- 277浏览 收藏
-
- 科技周边 · 业界新闻 | 1星期前 | 神舟火箭发射
- 神舟二十三号待发,力箭一号一箭五星破百星
- 270浏览 收藏
-
- 科技周边 · 业界新闻 | 2星期前 | OpenAI gpt-6
- GPT-6对决DeepSeek V4,巅峰之战引爆AI圈
- 370浏览 收藏
-
- 科技周边 · 业界新闻 | 1个月前 | AI会导致失业吗
- AI不会失业?软件工程师岗位大增!
- 155浏览 收藏
-
- 科技周边 · 业界新闻 | 1个月前 | 微软 打印机
- Win11停用旧打印机驱动,多家厂商受影响
- 134浏览 收藏
-
- 科技周边 · 业界新闻 | 1个月前 |
- GPT-5.4将上线,支持百万字长文本与极限推理
- 158浏览 收藏
-
- 科技周边 · 业界新闻 | 1个月前 |
- ASML重组技术部,进军AI芯片封装市场
- 218浏览 收藏
-
- 科技周边 · 业界新闻 | 2个月前 |
- 三星S26水平锁定功能实测,手抖救星省六千云台费
- 105浏览 收藏
查看更多
课程推荐
-
- 前端进阶之JavaScript设计模式
- 设计模式是开发人员在软件开发过程中面临一般问题时的解决方案,代表了最佳的实践。本课程的主打内容包括JS常见设计模式以及具体应用场景,打造一站式知识长龙服务,适合有JS基础的同学学习。
- 543次学习
-
- GO语言核心编程课程
- 本课程采用真实案例,全面具体可落地,从理论到实践,一步一步将GO核心编程技术、编程思想、底层实现融会贯通,使学习者贴近时代脉搏,做IT互联网时代的弄潮儿。
- 516次学习
-
- 简单聊聊mysql8与网络通信
- 如有问题加微信:Le-studyg;在课程中,我们将首先介绍MySQL8的新特性,包括性能优化、安全增强、新数据类型等,帮助学生快速熟悉MySQL8的最新功能。接着,我们将深入解析MySQL的网络通信机制,包括协议、连接管理、数据传输等,让
- 500次学习
-
- JavaScript正则表达式基础与实战
- 在任何一门编程语言中,正则表达式,都是一项重要的知识,它提供了高效的字符串匹配与捕获机制,可以极大的简化程序设计。
- 487次学习
-
- 从零制作响应式网站—Grid布局
- 本系列教程将展示从零制作一个假想的网络科技公司官网,分为导航,轮播,关于我们,成功案例,服务流程,团队介绍,数据部分,公司动态,底部信息等内容区块。网站整体采用CSSGrid布局,支持响应式,有流畅过渡和展现动画。
- 485次学习
查看更多
AI推荐
-
- ChatExcel酷表
- ChatExcel酷表是由北京大学团队打造的Excel聊天机器人,用自然语言操控表格,简化数据处理,告别繁琐操作,提升工作效率!适用于学生、上班族及政府人员。
- 5887次使用
-
- Any绘本
- 探索Any绘本(anypicturebook.com/zh),一款开源免费的AI绘本创作工具,基于Google Gemini与Flux AI模型,让您轻松创作个性化绘本。适用于家庭、教育、创作等多种场景,零门槛,高自由度,技术透明,本地可控。
- 6320次使用
-
- 可赞AI
- 可赞AI,AI驱动的办公可视化智能工具,助您轻松实现文本与可视化元素高效转化。无论是智能文档生成、多格式文本解析,还是一键生成专业图表、脑图、知识卡片,可赞AI都能让信息处理更清晰高效。覆盖数据汇报、会议纪要、内容营销等全场景,大幅提升办公效率,降低专业门槛,是您提升工作效率的得力助手。
- 6127次使用
-
- 星月写作
- 星月写作是国内首款聚焦中文网络小说创作的AI辅助工具,解决网文作者从构思到变现的全流程痛点。AI扫榜、专属模板、全链路适配,助力新人快速上手,资深作者效率倍增。
- 8099次使用
-
- MagicLight
- MagicLight.ai是全球首款叙事驱动型AI动画视频创作平台,专注于解决从故事想法到完整动画的全流程痛点。它通过自研AI模型,保障角色、风格、场景高度一致性,让零动画经验者也能高效产出专业级叙事内容。广泛适用于独立创作者、动画工作室、教育机构及企业营销,助您轻松实现创意落地与商业化。
- 6559次使用
查看更多
相关文章
-
- Nothing品牌发布首个子品牌CMF,计划年底推出智能手表和耳机
- 2023-08-05 501浏览
-
- 中国气象局探讨促进人工智能气象预报大模型构建
- 2023-08-13 501浏览
-
- 强大性能搭配时尚外观:OPPO Reno 10系列手机正式开售!
- 2023-08-12 501浏览
-
- Trek推出Electra Pronto Go电动自行车,助力全球绿色出行浪潮
- 2023-08-23 501浏览
-
- 微软灵活升级计划:Win11 8月累积更新发布
- 2023-08-09 501浏览

