苹果发布全新专利:Apple Watch数字表冠集成触控和光线传感器
来源:ITBear科技资讯
2024-03-14 23:51:20
0浏览
收藏
学习科技周边要努力,但是不要急!今天的这篇文章《苹果发布全新专利:Apple Watch数字表冠集成触控和光线传感器》将会介绍到等等知识点,如果你想深入学习科技周边,可以关注我!我会持续更新相关文章的,希望对大家都能有所帮助!
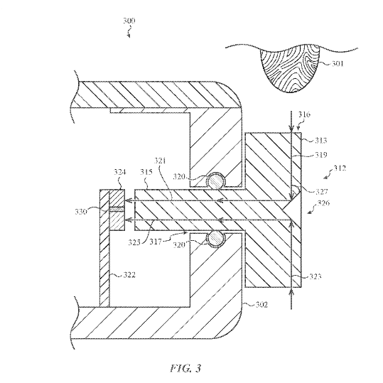
2月21日消息,近日,美国商标和专利局(USPTO)公示了一项由苹果公司获得的全新技术专利,该专利涉及Apple Watch的数字表冠设计。据悉,苹果公司在这一专利中成功将触控和光线传感器整合到了数字表冠之上。

专利详细描述了一种新型的数字表冠,其特点是配备了一个光敏表面。这个光敏表面能够基于与其接触的物体图像来引导传感器的变化,从而实现更为丰富的交互功能。与传统的旋转机械操作不同,这种新型数字表冠在旋转时将受到限制,仅能旋转一圈。




据小编了解,苹果公司的这项新专利主要通过记录用户手指的运动和速度来实现交互的多样性。光敏表面在这一过程中发挥着关键作用,它能够检测皮肤、拍摄用户手指的图像,甚至检测光线的变化,从而为用户提供更加直观、便捷的操作体验。这一创新设计有望进一步提升Apple Watch的用户体验,使其在智能手表市场中保持领先地位。
文中关于苹果的知识介绍,希望对你的学习有所帮助!若是受益匪浅,那就动动鼠标收藏这篇《苹果发布全新专利:Apple Watch数字表冠集成触控和光线传感器》文章吧,也可关注golang学习网公众号了解相关技术文章。
版本声明
本文转载于:ITBear科技资讯 如有侵犯,请联系study_golang@163.com删除
使用 SDK 从 S3 删除上传的对象
- 上一篇
- 使用 SDK 从 S3 删除上传的对象
- 下一篇
- 逐步指导:使用dedecms增加网站栏目
查看更多
最新文章
-
- 科技周边 · 业界新闻 | 2天前 |
- 华为Mate 90双潜望长焦,10倍变焦来袭!
- 277浏览 收藏
-
- 科技周边 · 业界新闻 | 6天前 | 神舟火箭发射
- 神舟二十三号待发,力箭一号一箭五星破百星
- 270浏览 收藏
-
- 科技周边 · 业界新闻 | 2星期前 | OpenAI gpt-6
- GPT-6对决DeepSeek V4,巅峰之战引爆AI圈
- 370浏览 收藏
-
- 科技周边 · 业界新闻 | 1个月前 | AI会导致失业吗
- AI不会失业?软件工程师岗位大增!
- 155浏览 收藏
-
- 科技周边 · 业界新闻 | 1个月前 | 微软 打印机
- Win11停用旧打印机驱动,多家厂商受影响
- 134浏览 收藏
-
- 科技周边 · 业界新闻 | 1个月前 |
- GPT-5.4将上线,支持百万字长文本与极限推理
- 158浏览 收藏
-
- 科技周边 · 业界新闻 | 1个月前 |
- ASML重组技术部,进军AI芯片封装市场
- 218浏览 收藏
-
- 科技周边 · 业界新闻 | 1个月前 |
- 三星S26水平锁定功能实测,手抖救星省六千云台费
- 105浏览 收藏
-
- 科技周边 · 业界新闻 | 1个月前 |
- Codex登陆Windows,多AI代理协作新体验
- 365浏览 收藏
-
- 科技周边 · 业界新闻 | 1个月前 |
- 高通布局机器人市场,CEO称两年内将迎增长高峰
- 226浏览 收藏
查看更多
课程推荐
-
- 前端进阶之JavaScript设计模式
- 设计模式是开发人员在软件开发过程中面临一般问题时的解决方案,代表了最佳的实践。本课程的主打内容包括JS常见设计模式以及具体应用场景,打造一站式知识长龙服务,适合有JS基础的同学学习。
- 543次学习
-
- GO语言核心编程课程
- 本课程采用真实案例,全面具体可落地,从理论到实践,一步一步将GO核心编程技术、编程思想、底层实现融会贯通,使学习者贴近时代脉搏,做IT互联网时代的弄潮儿。
- 516次学习
-
- 简单聊聊mysql8与网络通信
- 如有问题加微信:Le-studyg;在课程中,我们将首先介绍MySQL8的新特性,包括性能优化、安全增强、新数据类型等,帮助学生快速熟悉MySQL8的最新功能。接着,我们将深入解析MySQL的网络通信机制,包括协议、连接管理、数据传输等,让
- 500次学习
-
- JavaScript正则表达式基础与实战
- 在任何一门编程语言中,正则表达式,都是一项重要的知识,它提供了高效的字符串匹配与捕获机制,可以极大的简化程序设计。
- 487次学习
-
- 从零制作响应式网站—Grid布局
- 本系列教程将展示从零制作一个假想的网络科技公司官网,分为导航,轮播,关于我们,成功案例,服务流程,团队介绍,数据部分,公司动态,底部信息等内容区块。网站整体采用CSSGrid布局,支持响应式,有流畅过渡和展现动画。
- 485次学习
查看更多
AI推荐
-
- ChatExcel酷表
- ChatExcel酷表是由北京大学团队打造的Excel聊天机器人,用自然语言操控表格,简化数据处理,告别繁琐操作,提升工作效率!适用于学生、上班族及政府人员。
- 5815次使用
-
- Any绘本
- 探索Any绘本(anypicturebook.com/zh),一款开源免费的AI绘本创作工具,基于Google Gemini与Flux AI模型,让您轻松创作个性化绘本。适用于家庭、教育、创作等多种场景,零门槛,高自由度,技术透明,本地可控。
- 6251次使用
-
- 可赞AI
- 可赞AI,AI驱动的办公可视化智能工具,助您轻松实现文本与可视化元素高效转化。无论是智能文档生成、多格式文本解析,还是一键生成专业图表、脑图、知识卡片,可赞AI都能让信息处理更清晰高效。覆盖数据汇报、会议纪要、内容营销等全场景,大幅提升办公效率,降低专业门槛,是您提升工作效率的得力助手。
- 6067次使用
-
- 星月写作
- 星月写作是国内首款聚焦中文网络小说创作的AI辅助工具,解决网文作者从构思到变现的全流程痛点。AI扫榜、专属模板、全链路适配,助力新人快速上手,资深作者效率倍增。
- 8023次使用
-
- MagicLight
- MagicLight.ai是全球首款叙事驱动型AI动画视频创作平台,专注于解决从故事想法到完整动画的全流程痛点。它通过自研AI模型,保障角色、风格、场景高度一致性,让零动画经验者也能高效产出专业级叙事内容。广泛适用于独立创作者、动画工作室、教育机构及企业营销,助您轻松实现创意落地与商业化。
- 6455次使用
查看更多
相关文章
-
- Nothing品牌发布首个子品牌CMF,计划年底推出智能手表和耳机
- 2023-08-05 501浏览
-
- 中国气象局探讨促进人工智能气象预报大模型构建
- 2023-08-13 501浏览
-
- 强大性能搭配时尚外观:OPPO Reno 10系列手机正式开售!
- 2023-08-12 501浏览
-
- Trek推出Electra Pronto Go电动自行车,助力全球绿色出行浪潮
- 2023-08-23 501浏览
-
- 微软灵活升级计划:Win11 8月累积更新发布
- 2023-08-09 501浏览

