苹果新专利改善Apple Pencil在日历应用中的手写体验
苹果公司近期获得一项专利,旨在改善 Apple Pencil 在日历应用中的手写输入体验。此项专利解决了使用触控笔创建日历事件时效率低下的问题,为用户提供了更便捷高效的方式。当用户使用 Apple Pencil 在日历应用中书写时,系统将识别手写输入并将其与特定日期匹配,自动创建事件并根据书写范围确定时间。这项专利有望提升 Apple Pencil 在日历应用中的实用性和便捷性,为用户带来更流畅自然的手写输入体验。
近日,美国商标和专利局(USPTO)公布了苹果公司获得的一项关于Apple Pencil手写输入技术的专利。该专利旨在为用户提供更简单高效的方式在日历应用中创建事项。

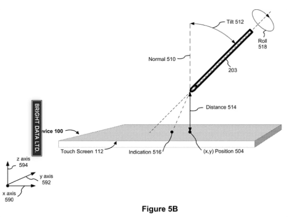
据悉,这项专利的名称为《在一台触控敏感的屏幕电子设备上,使用手绘输入创建日历项的方法》,编号为US 11907446 B2。苹果公司在专利中阐述了现有技术中,尽管手指和触控笔都可以用于在日历应用中创建事项,但使用触控笔进行手写输入的过程往往显得繁琐且效率低下,导致大多数用户更倾向于使用手指进行操作。
针对这一问题,苹果公司提出了一种更为有效的解决方案,旨在优化触控笔在日历应用中的操作体验。具体来说,当用户在带有触摸感应显示屏的电子设备上查看电子日历时,他们可以通过Apple Pencil进行手绘输入。这种输入方式并非针对整个日历界面,而是集中在与特定日期相对应的垂直区域内。一旦设备检测到手绘输入,它将在相应日期的垂直部分显示与手绘输入相匹配的图形或符号。
系统还将识别并处理与创建事件相关的请求。当用户手绘输入电子日历中的某一天时,系统可以自动为该日期创建一个事件,并根据手绘的范围确定事件的开始和结束时间。这样,用户只需简单的手绘操作,即可快速添加新事件到日历中。
据了解,这项专利的获得可能会为Apple Pencil在日历应用等场景中的实用性和便捷性带来进一步提升,为用户提供更加流畅、自然的手写输入体验。苹果公司不断努力优化和完善其触控笔技术,这一举措也展现了他们在这方面的努力和成果。
以上就是本文的全部内容了,是否有顺利帮助你解决问题?若是能给你带来学习上的帮助,请大家多多支持golang学习网!更多关于科技周边的相关知识,也可关注golang学习网公众号。
Win11如何分区硬盘分区?win11磁盘怎么分区硬盘教程
- 上一篇
- Win11如何分区硬盘分区?win11磁盘怎么分区硬盘教程
- 下一篇
- Goroutine 使用范围循环进行选择
-
- 科技周边 · 业界新闻 | 2星期前 | AI会导致失业吗
- AI不会失业?软件工程师岗位大增!
- 155浏览 收藏
-
- 科技周边 · 业界新闻 | 1个月前 | 微软 打印机
- Win11停用旧打印机驱动,多家厂商受影响
- 134浏览 收藏
-
- 科技周边 · 业界新闻 | 1个月前 |
- GPT-5.4将上线,支持百万字长文本与极限推理
- 158浏览 收藏
-
- 科技周边 · 业界新闻 | 1个月前 |
- ASML重组技术部,进军AI芯片封装市场
- 218浏览 收藏
-
- 科技周边 · 业界新闻 | 1个月前 |
- 三星S26水平锁定功能实测,手抖救星省六千云台费
- 105浏览 收藏
-
- 科技周边 · 业界新闻 | 1个月前 |
- Codex登陆Windows,多AI代理协作新体验
- 365浏览 收藏
-
- 科技周边 · 业界新闻 | 1个月前 |
- 高通布局机器人市场,CEO称两年内将迎增长高峰
- 226浏览 收藏
-
- 科技周边 · 业界新闻 | 1个月前 |
- iPhone17销量破2000万,领跑华为!
- 377浏览 收藏
-
- 科技周边 · 业界新闻 | 1个月前 |
- Google笔记变导演,NotebookLM生成动画片
- 150浏览 收藏
-
- 科技周边 · 业界新闻 | 1个月前 |
- ASML布局AI,2026年需求强劲增长
- 199浏览 收藏
-
- 前端进阶之JavaScript设计模式
- 设计模式是开发人员在软件开发过程中面临一般问题时的解决方案,代表了最佳的实践。本课程的主打内容包括JS常见设计模式以及具体应用场景,打造一站式知识长龙服务,适合有JS基础的同学学习。
- 543次学习
-
- GO语言核心编程课程
- 本课程采用真实案例,全面具体可落地,从理论到实践,一步一步将GO核心编程技术、编程思想、底层实现融会贯通,使学习者贴近时代脉搏,做IT互联网时代的弄潮儿。
- 516次学习
-
- 简单聊聊mysql8与网络通信
- 如有问题加微信:Le-studyg;在课程中,我们将首先介绍MySQL8的新特性,包括性能优化、安全增强、新数据类型等,帮助学生快速熟悉MySQL8的最新功能。接着,我们将深入解析MySQL的网络通信机制,包括协议、连接管理、数据传输等,让
- 500次学习
-
- JavaScript正则表达式基础与实战
- 在任何一门编程语言中,正则表达式,都是一项重要的知识,它提供了高效的字符串匹配与捕获机制,可以极大的简化程序设计。
- 487次学习
-
- 从零制作响应式网站—Grid布局
- 本系列教程将展示从零制作一个假想的网络科技公司官网,分为导航,轮播,关于我们,成功案例,服务流程,团队介绍,数据部分,公司动态,底部信息等内容区块。网站整体采用CSSGrid布局,支持响应式,有流畅过渡和展现动画。
- 485次学习
-
- ChatExcel酷表
- ChatExcel酷表是由北京大学团队打造的Excel聊天机器人,用自然语言操控表格,简化数据处理,告别繁琐操作,提升工作效率!适用于学生、上班族及政府人员。
- 4480次使用
-
- Any绘本
- 探索Any绘本(anypicturebook.com/zh),一款开源免费的AI绘本创作工具,基于Google Gemini与Flux AI模型,让您轻松创作个性化绘本。适用于家庭、教育、创作等多种场景,零门槛,高自由度,技术透明,本地可控。
- 4822次使用
-
- 可赞AI
- 可赞AI,AI驱动的办公可视化智能工具,助您轻松实现文本与可视化元素高效转化。无论是智能文档生成、多格式文本解析,还是一键生成专业图表、脑图、知识卡片,可赞AI都能让信息处理更清晰高效。覆盖数据汇报、会议纪要、内容营销等全场景,大幅提升办公效率,降低专业门槛,是您提升工作效率的得力助手。
- 4706次使用
-
- 星月写作
- 星月写作是国内首款聚焦中文网络小说创作的AI辅助工具,解决网文作者从构思到变现的全流程痛点。AI扫榜、专属模板、全链路适配,助力新人快速上手,资深作者效率倍增。
- 6498次使用
-
- MagicLight
- MagicLight.ai是全球首款叙事驱动型AI动画视频创作平台,专注于解决从故事想法到完整动画的全流程痛点。它通过自研AI模型,保障角色、风格、场景高度一致性,让零动画经验者也能高效产出专业级叙事内容。广泛适用于独立创作者、动画工作室、教育机构及企业营销,助您轻松实现创意落地与商业化。
- 5076次使用
-
- Nothing品牌发布首个子品牌CMF,计划年底推出智能手表和耳机
- 2023-08-05 501浏览
-
- 中国气象局探讨促进人工智能气象预报大模型构建
- 2023-08-13 501浏览
-
- 强大性能搭配时尚外观:OPPO Reno 10系列手机正式开售!
- 2023-08-12 501浏览
-
- Trek推出Electra Pronto Go电动自行车,助力全球绿色出行浪潮
- 2023-08-23 501浏览
-
- 微软灵活升级计划:Win11 8月累积更新发布
- 2023-08-09 501浏览

