全面剖析PHP 数组底层实现逻辑
PHP 数组是强大且重要的数据类型,支持单纯数组和键值对数组。它采用哈希表实现,保证基本查找时间复杂度为 O(1)。PHP 数组底层结构包括 HashTable 和 Bucket。HashTable 储存数组元数据和 Bucket 数组,而 Bucket 储存数组元素。数组访问通过散列算法将键名映射到映射表下标,再通过映射表获取 Bucket。插入元素时,如果发生散列冲突,采用链地址法解决。当数组已满时,通过扩容和重新索引机制来动态调整大小,以适应新的元素。
前言
最近在看《PHP 内核剖析》,关于 php 数组方面有所得,特此撰文一篇总结记录 (∩_∩)。因为 PHP 的数组是很强大且很重要的数据类型,它既支持单纯的数组又支持键值对数组,其中键值对数组类似于 Go 语言的 map 但又保证了能够按顺序遍历,并且由于采用了哈希表实现能够保证基本查找时间复杂度为 O(1)。所以接下来让我们了解一下 PHP 数组的底层实现吧~
数组的结构
一个数组在 PHP 内核里是长什么样的呢?我们可以从 PHP 的源码里看到其结构如下:
<code>// 定义结构体别名为 HashTable
typedef struct _zend_array HashTable;
struct _zend_array {
// <strong class="keylink">GC</strong> 保存引用计数,内存管理相关;本文不涉及
zend_refcounted_h gc;
// u 储存辅助信息;本文不涉及
u<strong class="keylink">NIO</strong>n {
struct {
ZEND_ENDIAN_LOHI_4(
zend_uchar flags,
zend_uchar nApplyCount,
zend_uchar nIteratorsCount,
zend_uchar consistency)
} v;
uint32_t flags;
} u;
// 用于散列函数
uint32_t nTableMask;
// arData 指向储存元素的数组第一个 Bucket,Bucket 为统一的数组元素类型
Bucket *arData;
// 已使用 Bucket 数
uint32_t nNumUsed;
// 数组内有效元素个数
uint32_t nNumOfElements;
// 数组总容量
uint32_t nTableSize;
// 内部指针,用于遍历
uint32_t nInternalPointer;
// 下一个可用数字<strong class="keylink">索引</strong>
zend_long nNextFreeElement;
// 析构函数
dtor_func_t pDestructor;
};</code>nNumUsed和nNumOfElements的区别:nNumUsed指的是arData数组中已使用的Bucket数,因为数组在删除元素后只是将该元素Bucket对应值的类型设置为IS_UNDEF(因为如果每次删除元素都要将数组移动并重新索引太浪费时间),而nNumOfElements对应的是数组中真正的元素个数。nTableSize数组的容量,该值为 2 的幂次方。PHP 的数组是不定长度但 C 语言的数组定长的,为了实现 PHP 的不定长数组的功能,采用了「扩容」的机制,就是在每次插入元素的时候判断nTableSize是否足以储存。如果不足则重新申请 2 倍nTableSize大小的新数组,并将原数组复制过来(此时正是清除原数组中类型为IS_UNDEF元素的时机)并且重新索引。nNextFreeElement保存下一个可用数字索引,例如在 PHP 中$a[] = 1;这种用法将插入一个索引为nNextFreeElement的元素,然后nNextFreeElement自增 1。
_zend_array 这个结构先讲到这里,有些结构体成员的作用在下文会解释,不用紧张O(∩_∩)O哈哈~。下面来看看作为数组成员的 Bucket 结构:
<code>typedef struct _Bucket {
// 数组元素的值
zval val;
// key 通过 Time 33 <strong class="keylink">算法</strong>计算得到的哈希值或数字索引
zend_ulong h;
// 字符键名,数字索引则为 NULL
zend_string *key;
} Bucket;</code>数组访问
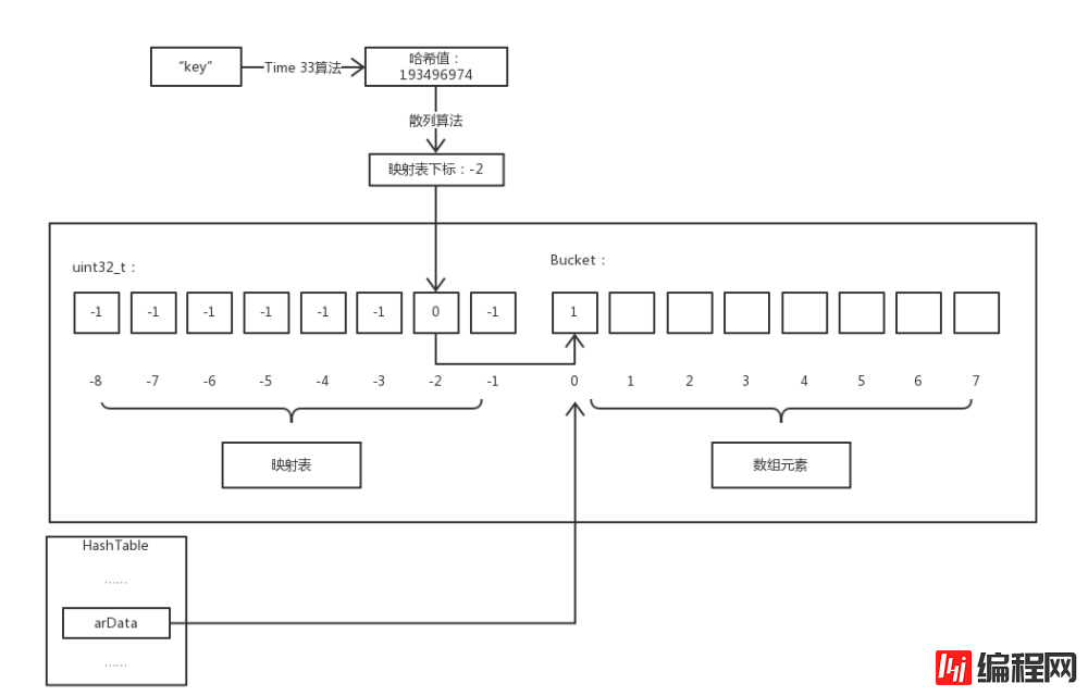
我们知道 PHP 数组是基于哈希表实现的,而与一般哈希表不同的是 PHP 的数组还实现了元素的有序性,就是插入的元素从内存上来看是连续的而不是乱序的,为了实现这个有序性 PHP 采用了「映射表」技术。下面就通过图例说明我们是如何访问 PHP 数组的元素 :-D。

注意:因为键名到映射表下标经过了两次散列运算,为了区分本文用哈希特指第一次散列,散列即为第二次散列。
由图可知,映射表和数组元素在同一片连续的内存中,映射表是一个长度与存储元素相同的整型数组,它默认值为 -1 ,有效值为 Bucket 数组的下标。而 HashTable->arData 指向的是这片内存中 Bucket 数组的第一个元素。
举个例子 $a['key'] 访问数组 $a 中键名为 key 的成员,流程介绍:首先通过 Time 33 算法计算出 key 的哈希值,然后通过散列算法计算出该哈希值对应的映射表下标,因为映射表中保存的值就是 Bucket 数组中的下标值,所以就能获取到 Bucket 数组中对应的元素。
现在我们来聊一下散列算法,就是通过键名的哈希值映射到「映射表」的下标的算法。其实很简单就一行代码:
<code>nIndex = h | ht->nTableMask;</code>
将哈希值和 nTableMask 进行或运算即可得出映射表的下标,其中 nTableMask 数值为 nTableSize 的负数。并且由于 nTableSize 的值为 2 的幂次方,所以 h | ht->nTableMask 的取值范围在 [-nTableSize, -1] 之间,正好在映射表的下标范围内。至于为何不用简单的「取余」运算而是费尽周折的采用「按位或」运算?因为「按位或」运算的速度要比「取余」运算要快很多,我觉得对于这种频繁使用的操作来说,复杂一点的实现带来的时间上的优化是值得的。
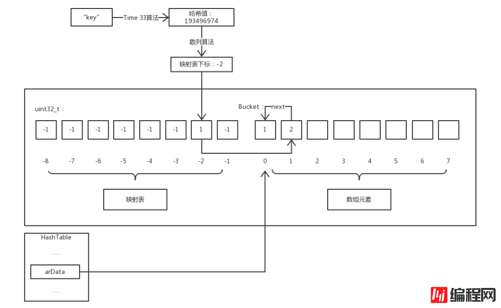
散列冲突
不同键名的哈希值通过散列计算得到的「映射表」下标有可能相同,此时便发生了散列冲突。对于这种情况 PHP 使用了「链地址法」解决。下图是访问发生散列冲突的元素的情况:

这看似与第一张图差不多,但我们同样访问 $a['key'] 的过程多了一些步骤。首先通过散列运算得出映射表下标为 -2 ,然后访问映射表发现其内容指向 arData 数组下标为 1 的元素。此时我们将该元素的 key 和要访问的键名相比较,发现两者并不相等,则该元素并非我们所想访问的元素,而元素的 val.u2.next 保存的值正是下一个具有相同散列值的元素对应 arData 数组的下标,所以我们可以不断通过 next 的值遍历直到找到键名相同的元素或查找失败。
插入元素
插入元素的函数 _zend_hash_add_or_update_i ,基于 PHP 7.2.9 的代码如下:
<code>static zend_always_inline zval *_zend_hash_add_or_update_i(HashTable *ht, zend_string *key, zval *pData, uint32_t flag ZEND_FILE_LINE_DC)
{
zend_ulong h;
uint32_t nIndex;
uint32_t idx;
Bucket *p;
IS_CONSISTENT(ht);
HT_ASSERT_RC1(ht);
if (UNEXPECTED(!(ht->u.flags & HASH_FLAG_INITIALIZED))) { // 数组未初始化
// 初始化数组
CHECK_INIT(ht, 0);
// 跳转至插入元素段
goto add_to_hash;
} else if (ht->u.flags & HASH_FLAG_PACKED) { // 数组为连续数字索引数组
// 转换为关联数组
zend_hash_packed_to_hash(ht);
} else if ((flag & HASH_ADD_NEW) == 0) { // 添加新元素
// 查找键名对应的元素
p = zend_hash_find_bucket(ht, key);
if (p) { // 若相同键名元素存在
zval *data;
if (flag & HASH_ADD) { // 指定 add 操作
if (!(flag & HASH_UPDATE_INDIRECT)) { // 若不允许更新间接类型变量则直接返回
return NULL;
}
// 确定当前值和新值不同
ZEND_ASSERT(&p->val != pData);
// data 指向原数组成员值
data = &p->val;
if (Z_TYPE_P(data) == IS_INDIRECT) { // 原数组元素变量类型为间接类型
// 取间接变量对应的变量
data = Z_INDIRECT_P(data);
if (Z_TYPE_P(data) != IS_UNDEF) { // 该对应变量存在则直接返回
return NULL;
}
} else { // 非间接类型直接返回
return NULL;
}
} else { // 没有指定 add 操作
// 确定当前值和新值不同
ZEND_ASSERT(&p->val != pData);
// data 指向原数组元素值
data = &p->val;
// 允许更新间接类型变量则 data 指向对应的变量
if ((flag & HASH_UPDATE_INDIRECT) && Z_TYPE_P(data) == IS_INDIRECT) {
data = Z_INDIRECT_P(data);
}
}
if (ht->pDestructor) { // 析构函数存在
// 执行析构函数
ht->pDestructor(data);
}
// 将 pData 的值复制给 data
ZVAL_COPY_VALUE(data, pData);
return data;
}
}
// 如果哈希表已满,则进行扩容
ZEND_HASH_IF_FULL_DO_RESIZE(ht);
add_to_hash:
// 数组已使用 Bucket 数 +1
idx = ht->nNumUsed++;
// 数组有效元素数目 +1
ht->nNumOfElements++;
// 若内部指针无效则指向当前下标
if (ht->nInternalPointer == HT_INVALID_IDX) {
ht->nInternalPointer = idx;
}
zend_hash_iterators_update(ht, HT_INVALID_IDX, idx);
// p 为新元素对应的 Bucket
p = ht->arData + idx;
// 设置键名
p->key = key;
if (!ZSTR_IS_INTERNED(key)) {
zend_string_addref(key);
ht->u.flags &= ~HASH_FLAG_STATIC_KEYS;
zend_string_hash_val(key);
}
// 计算键名的哈希值并赋值给 p
p->h = h = ZSTR_H(key);
// 将 pData 赋值该 Bucket 的 val
ZVAL_COPY_VALUE(&p->val, pData);
// 计算映射表下标
nIndex = h | ht->nTableMask;
// 解决冲突,将原映射表中的内容赋值给新元素变量值的 u2.next 成员
Z_NEXT(p->val) = HT_HASH(ht, nIndex);
// 将映射表中的值设为 idx
HT_HASH(ht, nIndex) = HT_IDX_TO_HASH(idx);
return &p->val;
}</code>扩容
前面将数组结构的时候我们有提到扩容,而在插入元素的代码里有这样一个宏 ZEND_HASH_IF_FULL_DO_RESIZE,这个宏其实就是调用了 zend_hash_do_resize 函数,对数组进行扩容并重新索引。注意:并非每次 Bucket 数组满了都需要扩容,如果 Bucket 数组中 IS_UNDEF 元素的数量占较大比例,就直接将 IS_UNDEF 元素删除并重新索引,以此节省内存。下面我们看看 zend_hash_do_resize 函数:
重新索引的逻辑在 zend_hash_rehash 函数中,代码如下:
总结
嗯哼,本文就到此结束了,因为自身水平原因不能解释的十分详尽清楚。这算是我写过最难写的内容了,写完之后似乎觉得这篇文章就我自己能看明白/(ㄒoㄒ)/~~因为文笔太辣鸡。想起一句话「如果你不能简单地解释一样东西,说明你没真正理解它。」PHP 的源码里有很多细节和实现我都不算熟悉,这篇文章只是一个我的 PHP 底层学习的开篇,希望以后能够写出真正深入浅出的好文章。
今天关于《全面剖析PHP 数组底层实现逻辑》的内容介绍就到此结束,如果有什么疑问或者建议,可以在golang学习网公众号下多多回复交流;文中若有不正之处,也希望回复留言以告知!
gorm 获取当前数据库连接
- 上一篇
- gorm 获取当前数据库连接
- 下一篇
- 如何使用 golang 执行 AWS S3 分段复制
-
- 文章 · php教程 | 3小时前 |
- 加密数据抓取技巧:PHP解密网页方法指南
- 138浏览 收藏
-
- 文章 · php教程 | 3小时前 | Yii框架
- Yii框架移动端适配与检测方案
- 327浏览 收藏
-
- 文章 · php教程 | 3小时前 |
- Laravel事务提交前验证方法详解
- 141浏览 收藏
-
- 文章 · php教程 | 3小时前 |
- PHP项目为何用适配器模式?低成本对接旧系统解析
- 162浏览 收藏
-
- 文章 · php教程 | 3小时前 | PHP环境搭建
- Ubuntu20.04PHP扩展安装失败解决办法
- 233浏览 收藏
-
- 文章 · php教程 | 3小时前 |
- PHP版本标签使用全攻略
- 385浏览 收藏
-
- 文章 · php教程 | 4小时前 | phpenv
- PHPEnv配置Nginx防目录遍历指南
- 299浏览 收藏
-
- 文章 · php教程 | 4小时前 |
- PHP数组常见误区与正确使用方法
- 121浏览 收藏
-
- 文章 · php教程 | 4小时前 |
- Linux安装ZipArchive扩展详解
- 179浏览 收藏
-
- 文章 · php教程 | 4小时前 | phpenv
- PHPEnv配置HTTP强制跳转HTTPS设置
- 132浏览 收藏
-
- 文章 · php教程 | 4小时前 |
- Laravel管道处理请求详解
- 323浏览 收藏
-
- 文章 · php教程 | 4小时前 |
- PHPMAIL获取邮件路径方法解析
- 350浏览 收藏
-
- 前端进阶之JavaScript设计模式
- 设计模式是开发人员在软件开发过程中面临一般问题时的解决方案,代表了最佳的实践。本课程的主打内容包括JS常见设计模式以及具体应用场景,打造一站式知识长龙服务,适合有JS基础的同学学习。
- 543次学习
-
- GO语言核心编程课程
- 本课程采用真实案例,全面具体可落地,从理论到实践,一步一步将GO核心编程技术、编程思想、底层实现融会贯通,使学习者贴近时代脉搏,做IT互联网时代的弄潮儿。
- 516次学习
-
- 简单聊聊mysql8与网络通信
- 如有问题加微信:Le-studyg;在课程中,我们将首先介绍MySQL8的新特性,包括性能优化、安全增强、新数据类型等,帮助学生快速熟悉MySQL8的最新功能。接着,我们将深入解析MySQL的网络通信机制,包括协议、连接管理、数据传输等,让
- 500次学习
-
- JavaScript正则表达式基础与实战
- 在任何一门编程语言中,正则表达式,都是一项重要的知识,它提供了高效的字符串匹配与捕获机制,可以极大的简化程序设计。
- 487次学习
-
- 从零制作响应式网站—Grid布局
- 本系列教程将展示从零制作一个假想的网络科技公司官网,分为导航,轮播,关于我们,成功案例,服务流程,团队介绍,数据部分,公司动态,底部信息等内容区块。网站整体采用CSSGrid布局,支持响应式,有流畅过渡和展现动画。
- 485次学习
-
- ChatExcel酷表
- ChatExcel酷表是由北京大学团队打造的Excel聊天机器人,用自然语言操控表格,简化数据处理,告别繁琐操作,提升工作效率!适用于学生、上班族及政府人员。
- 4480次使用
-
- Any绘本
- 探索Any绘本(anypicturebook.com/zh),一款开源免费的AI绘本创作工具,基于Google Gemini与Flux AI模型,让您轻松创作个性化绘本。适用于家庭、教育、创作等多种场景,零门槛,高自由度,技术透明,本地可控。
- 4822次使用
-
- 可赞AI
- 可赞AI,AI驱动的办公可视化智能工具,助您轻松实现文本与可视化元素高效转化。无论是智能文档生成、多格式文本解析,还是一键生成专业图表、脑图、知识卡片,可赞AI都能让信息处理更清晰高效。覆盖数据汇报、会议纪要、内容营销等全场景,大幅提升办公效率,降低专业门槛,是您提升工作效率的得力助手。
- 4706次使用
-
- 星月写作
- 星月写作是国内首款聚焦中文网络小说创作的AI辅助工具,解决网文作者从构思到变现的全流程痛点。AI扫榜、专属模板、全链路适配,助力新人快速上手,资深作者效率倍增。
- 6498次使用
-
- MagicLight
- MagicLight.ai是全球首款叙事驱动型AI动画视频创作平台,专注于解决从故事想法到完整动画的全流程痛点。它通过自研AI模型,保障角色、风格、场景高度一致性,让零动画经验者也能高效产出专业级叙事内容。广泛适用于独立创作者、动画工作室、教育机构及企业营销,助您轻松实现创意落地与商业化。
- 5076次使用
-
- PHP技术的高薪回报与发展前景
- 2023-10-08 501浏览
-
- 基于 PHP 的商场优惠券系统开发中的常见问题解决方案
- 2023-10-05 501浏览
-
- 如何使用PHP开发简单的在线支付功能
- 2023-09-27 501浏览
-
- PHP消息队列开发指南:实现分布式缓存刷新器
- 2023-09-30 501浏览
-
- 如何在PHP微服务中实现分布式任务分配和调度
- 2023-10-04 501浏览

