三星新科技:卷曲手机搭载空气传感器,领跑健康科技领域
来源:ITBear科技资讯
2024-03-21 13:58:23
0浏览
收藏
IT行业相对于一般传统行业,发展更新速度更快,一旦停止了学习,很快就会被行业所淘汰。所以我们需要踏踏实实的不断学习,精进自己的技术,尤其是初学者。今天golang学习网给大家整理了《三星新科技:卷曲手机搭载空气传感器,领跑健康科技领域》,聊聊,我们一起来看看吧!
近日,有消息人士@xleaks7透露了三星最新的专利设计,其中包括一款配备空气质量传感器的卷轴手机。这项创新设计体现了当今消费者对环境健康越来越重视的态度,并将这种需求融入到日常电子设备中。

据报道,三星推出的卷轴手机在保持设备便携性、实用性和美观性的基础上,独具创意地搭载了空气质量传感器。这一举措为便携式电子设备提供了全新可能性,使空气质量监测变得更高效、可靠且用户友好。



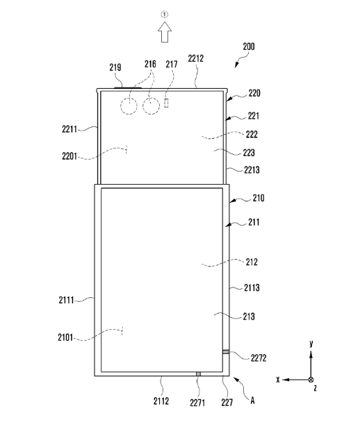
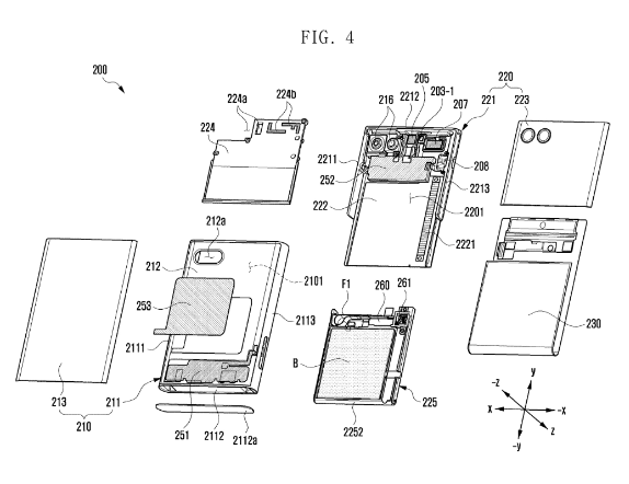
据小编了解,该款手机的突出特性包括一个可调节的滑动外壳,这一设计不仅可以调整显示屏的尺寸,还可以控制气流进入空气质量传感器。手机采用可滚动的显示屏,屏幕尺寸灵活可变,既能满足用户的多样化需求,又能保持设备的便携性。此外,手机还集成了气流管道,能够将外部空气导入空气质量传感器,以提高空气质量测量的精确度和速度。

该设备还配备了智能的开合机制,它可以根据外壳的滑动动作进行工作,通过精准控制空气的流入,确保空气质量传感器能够始终处于最佳的工作状态。这一设计也有助于传感器更快地响应空气质量的变化,为用户提供及时、准确的信息。同时,通过防止设备内部的元件污染传感器,确保空气质量的读数始终可靠。此外,其节省空间的设计理念也避免了额外的组件占用空间,使得设备在保持强大功能的同时,也拥有了时尚的外形。
以上就是《三星新科技:卷曲手机搭载空气传感器,领跑健康科技领域》的详细内容,更多关于三星的资料请关注golang学习网公众号!
版本声明
本文转载于:ITBear科技资讯 如有侵犯,请联系study_golang@163.com删除
Hugo,请问如何在本地化中对日期进行分组?
- 上一篇
- Hugo,请问如何在本地化中对日期进行分组?
- 下一篇
- 如何实现快速双向消息通信
查看更多
最新文章
-
- 科技周边 · 业界新闻 | 1天前 |
- 华为Mate 90双潜望长焦,10倍变焦来袭!
- 277浏览 收藏
-
- 科技周边 · 业界新闻 | 6天前 | 神舟火箭发射
- 神舟二十三号待发,力箭一号一箭五星破百星
- 270浏览 收藏
-
- 科技周边 · 业界新闻 | 2星期前 | OpenAI gpt-6
- GPT-6对决DeepSeek V4,巅峰之战引爆AI圈
- 370浏览 收藏
-
- 科技周边 · 业界新闻 | 1个月前 | AI会导致失业吗
- AI不会失业?软件工程师岗位大增!
- 155浏览 收藏
-
- 科技周边 · 业界新闻 | 1个月前 | 微软 打印机
- Win11停用旧打印机驱动,多家厂商受影响
- 134浏览 收藏
-
- 科技周边 · 业界新闻 | 1个月前 |
- GPT-5.4将上线,支持百万字长文本与极限推理
- 158浏览 收藏
-
- 科技周边 · 业界新闻 | 1个月前 |
- ASML重组技术部,进军AI芯片封装市场
- 218浏览 收藏
-
- 科技周边 · 业界新闻 | 1个月前 |
- 三星S26水平锁定功能实测,手抖救星省六千云台费
- 105浏览 收藏
-
- 科技周边 · 业界新闻 | 1个月前 |
- Codex登陆Windows,多AI代理协作新体验
- 365浏览 收藏
-
- 科技周边 · 业界新闻 | 1个月前 |
- 高通布局机器人市场,CEO称两年内将迎增长高峰
- 226浏览 收藏
查看更多
课程推荐
-
- 前端进阶之JavaScript设计模式
- 设计模式是开发人员在软件开发过程中面临一般问题时的解决方案,代表了最佳的实践。本课程的主打内容包括JS常见设计模式以及具体应用场景,打造一站式知识长龙服务,适合有JS基础的同学学习。
- 543次学习
-
- GO语言核心编程课程
- 本课程采用真实案例,全面具体可落地,从理论到实践,一步一步将GO核心编程技术、编程思想、底层实现融会贯通,使学习者贴近时代脉搏,做IT互联网时代的弄潮儿。
- 516次学习
-
- 简单聊聊mysql8与网络通信
- 如有问题加微信:Le-studyg;在课程中,我们将首先介绍MySQL8的新特性,包括性能优化、安全增强、新数据类型等,帮助学生快速熟悉MySQL8的最新功能。接着,我们将深入解析MySQL的网络通信机制,包括协议、连接管理、数据传输等,让
- 500次学习
-
- JavaScript正则表达式基础与实战
- 在任何一门编程语言中,正则表达式,都是一项重要的知识,它提供了高效的字符串匹配与捕获机制,可以极大的简化程序设计。
- 487次学习
-
- 从零制作响应式网站—Grid布局
- 本系列教程将展示从零制作一个假想的网络科技公司官网,分为导航,轮播,关于我们,成功案例,服务流程,团队介绍,数据部分,公司动态,底部信息等内容区块。网站整体采用CSSGrid布局,支持响应式,有流畅过渡和展现动画。
- 485次学习
查看更多
AI推荐
-
- ChatExcel酷表
- ChatExcel酷表是由北京大学团队打造的Excel聊天机器人,用自然语言操控表格,简化数据处理,告别繁琐操作,提升工作效率!适用于学生、上班族及政府人员。
- 5698次使用
-
- Any绘本
- 探索Any绘本(anypicturebook.com/zh),一款开源免费的AI绘本创作工具,基于Google Gemini与Flux AI模型,让您轻松创作个性化绘本。适用于家庭、教育、创作等多种场景,零门槛,高自由度,技术透明,本地可控。
- 6112次使用
-
- 可赞AI
- 可赞AI,AI驱动的办公可视化智能工具,助您轻松实现文本与可视化元素高效转化。无论是智能文档生成、多格式文本解析,还是一键生成专业图表、脑图、知识卡片,可赞AI都能让信息处理更清晰高效。覆盖数据汇报、会议纪要、内容营销等全场景,大幅提升办公效率,降低专业门槛,是您提升工作效率的得力助手。
- 5943次使用
-
- 星月写作
- 星月写作是国内首款聚焦中文网络小说创作的AI辅助工具,解决网文作者从构思到变现的全流程痛点。AI扫榜、专属模板、全链路适配,助力新人快速上手,资深作者效率倍增。
- 7893次使用
-
- MagicLight
- MagicLight.ai是全球首款叙事驱动型AI动画视频创作平台,专注于解决从故事想法到完整动画的全流程痛点。它通过自研AI模型,保障角色、风格、场景高度一致性,让零动画经验者也能高效产出专业级叙事内容。广泛适用于独立创作者、动画工作室、教育机构及企业营销,助您轻松实现创意落地与商业化。
- 6330次使用
查看更多
相关文章
-
- Nothing品牌发布首个子品牌CMF,计划年底推出智能手表和耳机
- 2023-08-05 501浏览
-
- 中国气象局探讨促进人工智能气象预报大模型构建
- 2023-08-13 501浏览
-
- 强大性能搭配时尚外观:OPPO Reno 10系列手机正式开售!
- 2023-08-12 501浏览
-
- Trek推出Electra Pronto Go电动自行车,助力全球绿色出行浪潮
- 2023-08-23 501浏览
-
- 微软灵活升级计划:Win11 8月累积更新发布
- 2023-08-09 501浏览

