iMac触控屏新专利曝光,市场瞩目期待
苹果近期更新一项专利申请,引发市场关注。该专利描述了一款配备可倾斜触控屏幕的 iMac,暗示苹果可能改变长期以来对推出触控屏 Mac 产品的拒绝态度。此前,微软在 2016 年推出的 Surface Studio 获得市场认可,而苹果始终坚守自己的立场。这项新专利是否预示着苹果将推出类似 Surface Studio 的触控屏 iMac,值得期待。
3月12日消息显示,苹果长期以来一直抱持对推出触控屏的iMac或MacBook持拒绝态度。然而,最近的一项新专利申请却引起了人们的关注,暗示着苹果可能会改变立场,推出触控屏版本的Mac产品。

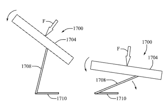
回顾历史,微软在2016年就推出了支持触控操作的Surface Studio,这一设备在市场上得到了广泛的关注和认可。与此同时,苹果却一直坚守自己的立场,没有跟随潮流推出类似的设备。但如今,据Patently Apple报道,苹果更新了一项去年11月首次提交的专利申请。这项专利被该网站解读为“为艺术家等用户群体量身定制的实用性iMac设计,特色在于配备有可倾斜的触控屏幕”。
尽管这项专利的申请内容主要是关于一种用于台式电脑的旋转支架,而苹果方面也表示,这一设计主要是为了提高iMac在搬运方面的便利性。然而,从专利的描述和插图来看,人们不难发现其与现有的触控屏设备有着异曲同工之妙。这也引发了外界的猜测:苹果是否真的在暗中筹备推出一款类似于Surface Studio的触控屏iMac?

随着科技的不断进步,消费者对电子设备的需求也在不断变化。更大的显示屏、更纤薄的机身已经成为了市场的主流趋势。然而,这些追求往往也带来了搬运困难、包装和运输效率低下等问题。因此,对于计算机设备的支架、支撑装置和相关组件的改进显得尤为重要。从这个角度来看,苹果的这项专利不仅具有实用价值,更可能引领未来的发展趋势。
然而,对于苹果是否真的会推出触控屏的iMac,目前还无法给出明确的答案。毕竟,从苹果的历史来看,即使申请了相关的专利,也不一定意味着会立即将其转化为实际的产品。因此,我们只能拭目以待,期待苹果在未来能给我们带来更多的惊喜和创新。同时,我们也将继续关注科技领域的最新动态,为广大读者提供更多有价值的资讯和分析。
文中关于苹果的知识介绍,希望对你的学习有所帮助!若是受益匪浅,那就动动鼠标收藏这篇《iMac触控屏新专利曝光,市场瞩目期待》文章吧,也可关注golang学习网公众号了解相关技术文章。
将 PostgreSQL 查询翻译为 GORM 查询
- 上一篇
- 将 PostgreSQL 查询翻译为 GORM 查询
- 下一篇
- Python编程全新配置必备要素
-
- 科技周边 · 业界新闻 | 14小时前 |
- 华为Mate 90双潜望长焦,10倍变焦来袭!
- 277浏览 收藏
-
- 科技周边 · 业界新闻 | 5天前 | 神舟火箭发射
- 神舟二十三号待发,力箭一号一箭五星破百星
- 270浏览 收藏
-
- 科技周边 · 业界新闻 | 2星期前 | OpenAI gpt-6
- GPT-6对决DeepSeek V4,巅峰之战引爆AI圈
- 370浏览 收藏
-
- 科技周边 · 业界新闻 | 1个月前 | AI会导致失业吗
- AI不会失业?软件工程师岗位大增!
- 155浏览 收藏
-
- 科技周边 · 业界新闻 | 1个月前 | 微软 打印机
- Win11停用旧打印机驱动,多家厂商受影响
- 134浏览 收藏
-
- 科技周边 · 业界新闻 | 1个月前 |
- GPT-5.4将上线,支持百万字长文本与极限推理
- 158浏览 收藏
-
- 科技周边 · 业界新闻 | 1个月前 |
- ASML重组技术部,进军AI芯片封装市场
- 218浏览 收藏
-
- 科技周边 · 业界新闻 | 1个月前 |
- 三星S26水平锁定功能实测,手抖救星省六千云台费
- 105浏览 收藏
-
- 科技周边 · 业界新闻 | 1个月前 |
- Codex登陆Windows,多AI代理协作新体验
- 365浏览 收藏
-
- 科技周边 · 业界新闻 | 1个月前 |
- 高通布局机器人市场,CEO称两年内将迎增长高峰
- 226浏览 收藏
-
- 前端进阶之JavaScript设计模式
- 设计模式是开发人员在软件开发过程中面临一般问题时的解决方案,代表了最佳的实践。本课程的主打内容包括JS常见设计模式以及具体应用场景,打造一站式知识长龙服务,适合有JS基础的同学学习。
- 543次学习
-
- GO语言核心编程课程
- 本课程采用真实案例,全面具体可落地,从理论到实践,一步一步将GO核心编程技术、编程思想、底层实现融会贯通,使学习者贴近时代脉搏,做IT互联网时代的弄潮儿。
- 516次学习
-
- 简单聊聊mysql8与网络通信
- 如有问题加微信:Le-studyg;在课程中,我们将首先介绍MySQL8的新特性,包括性能优化、安全增强、新数据类型等,帮助学生快速熟悉MySQL8的最新功能。接着,我们将深入解析MySQL的网络通信机制,包括协议、连接管理、数据传输等,让
- 500次学习
-
- JavaScript正则表达式基础与实战
- 在任何一门编程语言中,正则表达式,都是一项重要的知识,它提供了高效的字符串匹配与捕获机制,可以极大的简化程序设计。
- 487次学习
-
- 从零制作响应式网站—Grid布局
- 本系列教程将展示从零制作一个假想的网络科技公司官网,分为导航,轮播,关于我们,成功案例,服务流程,团队介绍,数据部分,公司动态,底部信息等内容区块。网站整体采用CSSGrid布局,支持响应式,有流畅过渡和展现动画。
- 485次学习
-
- ChatExcel酷表
- ChatExcel酷表是由北京大学团队打造的Excel聊天机器人,用自然语言操控表格,简化数据处理,告别繁琐操作,提升工作效率!适用于学生、上班族及政府人员。
- 5530次使用
-
- Any绘本
- 探索Any绘本(anypicturebook.com/zh),一款开源免费的AI绘本创作工具,基于Google Gemini与Flux AI模型,让您轻松创作个性化绘本。适用于家庭、教育、创作等多种场景,零门槛,高自由度,技术透明,本地可控。
- 5948次使用
-
- 可赞AI
- 可赞AI,AI驱动的办公可视化智能工具,助您轻松实现文本与可视化元素高效转化。无论是智能文档生成、多格式文本解析,还是一键生成专业图表、脑图、知识卡片,可赞AI都能让信息处理更清晰高效。覆盖数据汇报、会议纪要、内容营销等全场景,大幅提升办公效率,降低专业门槛,是您提升工作效率的得力助手。
- 5784次使用
-
- 星月写作
- 星月写作是国内首款聚焦中文网络小说创作的AI辅助工具,解决网文作者从构思到变现的全流程痛点。AI扫榜、专属模板、全链路适配,助力新人快速上手,资深作者效率倍增。
- 7725次使用
-
- MagicLight
- MagicLight.ai是全球首款叙事驱动型AI动画视频创作平台,专注于解决从故事想法到完整动画的全流程痛点。它通过自研AI模型,保障角色、风格、场景高度一致性,让零动画经验者也能高效产出专业级叙事内容。广泛适用于独立创作者、动画工作室、教育机构及企业营销,助您轻松实现创意落地与商业化。
- 6167次使用
-
- Nothing品牌发布首个子品牌CMF,计划年底推出智能手表和耳机
- 2023-08-05 501浏览
-
- 中国气象局探讨促进人工智能气象预报大模型构建
- 2023-08-13 501浏览
-
- 强大性能搭配时尚外观:OPPO Reno 10系列手机正式开售!
- 2023-08-12 501浏览
-
- Trek推出Electra Pronto Go电动自行车,助力全球绿色出行浪潮
- 2023-08-23 501浏览
-
- 微软灵活升级计划:Win11 8月累积更新发布
- 2023-08-09 501浏览

