苹果新专利曝光:妙控鼠标将引入触觉振动技术,提升交互体验
来到golang学习网的大家,相信都是编程学习爱好者,希望在这里学习科技周边相关编程知识。下面本篇文章就来带大家聊聊《苹果新专利曝光:妙控鼠标将引入触觉振动技术,提升交互体验》,介绍一下,希望对大家的知识积累有所帮助,助力实战开发!
近日,美国商标和专利局(USPTO)公布了一份新的专利清单,引起了广泛关注。其中,苹果公司的一项关于妙控鼠标(Magic Mouse)的新专利备受瞩目。根据专利描述,苹果计划为妙控鼠标带来更加丰富的交互体验,其中包括了触觉振动技术。这一技术的应用将使用户能够通过触感来更直观地与设备进行互动,为用户带来全新的操作体验。苹果公司一直以来致力于创新和提升用户体验,这一新专利的引入无疑将进一步巩固其在科技领域的领先地位。这一举措也表明苹果在不断寻求突

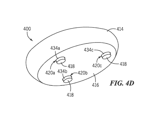
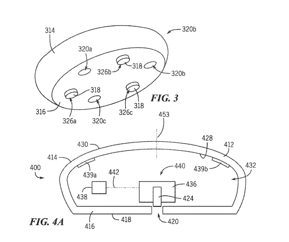
苹果在专利中详细描述了一种创新设计,其中妙控鼠标内置了触觉组件。这一技术使得鼠标底部的传感器能够感知用户在不同纹理表面上的操作,从而实现相应的触觉反馈。借助这一设计,用户可以享受到更加真实和自然的触控体验。这种技术有望为用户带来全新的操作方式,提升用户体验并增加产品的吸引力。


苹果还考虑到了未来妙控鼠标可以预设多种纹理配置的可能性。这意味着,即使在日常使用中,用户也可以模拟不同的表面纹理或使用场景,从而获得更加多样化和个性化的触控体验。

苹果在专利中除了展示触觉振动技术外,还提出了多种脚贴方案。这些脚贴具有动态启用功能,可以通过调整摩擦力来提供不同的触觉反馈体验。这种设计将为用户带来更大的灵活性和个性化选择,让他们可以根据自身需求和喜好来调整鼠标的触感。

综合而言,苹果通过这一新专利展示了他们在改善用户交互体验方面的不懈努力。如果这些技术能成功应用于未来的鼠标设计中,我们有理由相信苹果将推出更出色和创新的鼠标产品,为用户带来更好的体验。
好了,本文到此结束,带大家了解了《苹果新专利曝光:妙控鼠标将引入触觉振动技术,提升交互体验》,希望本文对你有所帮助!关注golang学习网公众号,给大家分享更多科技周边知识!
使用PHP和PHPUnit实现代码性能测试的技巧
- 上一篇
- 使用PHP和PHPUnit实现代码性能测试的技巧
- 下一篇
- 使用Python和Java构建完整的分布式系统
-
- 科技周边 · 业界新闻 | 1天前 | OpenAI gpt-6
- GPT-6对决DeepSeek V4,巅峰之战引爆AI圈
- 370浏览 收藏
-
- 科技周边 · 业界新闻 | 3星期前 | AI会导致失业吗
- AI不会失业?软件工程师岗位大增!
- 155浏览 收藏
-
- 科技周边 · 业界新闻 | 1个月前 | 微软 打印机
- Win11停用旧打印机驱动,多家厂商受影响
- 134浏览 收藏
-
- 科技周边 · 业界新闻 | 1个月前 |
- GPT-5.4将上线,支持百万字长文本与极限推理
- 158浏览 收藏
-
- 科技周边 · 业界新闻 | 1个月前 |
- ASML重组技术部,进军AI芯片封装市场
- 218浏览 收藏
-
- 科技周边 · 业界新闻 | 1个月前 |
- 三星S26水平锁定功能实测,手抖救星省六千云台费
- 105浏览 收藏
-
- 科技周边 · 业界新闻 | 1个月前 |
- Codex登陆Windows,多AI代理协作新体验
- 365浏览 收藏
-
- 科技周边 · 业界新闻 | 1个月前 |
- 高通布局机器人市场,CEO称两年内将迎增长高峰
- 226浏览 收藏
-
- 科技周边 · 业界新闻 | 1个月前 |
- iPhone17销量破2000万,领跑华为!
- 377浏览 收藏
-
- 科技周边 · 业界新闻 | 1个月前 |
- Google笔记变导演,NotebookLM生成动画片
- 150浏览 收藏
-
- 前端进阶之JavaScript设计模式
- 设计模式是开发人员在软件开发过程中面临一般问题时的解决方案,代表了最佳的实践。本课程的主打内容包括JS常见设计模式以及具体应用场景,打造一站式知识长龙服务,适合有JS基础的同学学习。
- 543次学习
-
- GO语言核心编程课程
- 本课程采用真实案例,全面具体可落地,从理论到实践,一步一步将GO核心编程技术、编程思想、底层实现融会贯通,使学习者贴近时代脉搏,做IT互联网时代的弄潮儿。
- 516次学习
-
- 简单聊聊mysql8与网络通信
- 如有问题加微信:Le-studyg;在课程中,我们将首先介绍MySQL8的新特性,包括性能优化、安全增强、新数据类型等,帮助学生快速熟悉MySQL8的最新功能。接着,我们将深入解析MySQL的网络通信机制,包括协议、连接管理、数据传输等,让
- 500次学习
-
- JavaScript正则表达式基础与实战
- 在任何一门编程语言中,正则表达式,都是一项重要的知识,它提供了高效的字符串匹配与捕获机制,可以极大的简化程序设计。
- 487次学习
-
- 从零制作响应式网站—Grid布局
- 本系列教程将展示从零制作一个假想的网络科技公司官网,分为导航,轮播,关于我们,成功案例,服务流程,团队介绍,数据部分,公司动态,底部信息等内容区块。网站整体采用CSSGrid布局,支持响应式,有流畅过渡和展现动画。
- 485次学习
-
- ChatExcel酷表
- ChatExcel酷表是由北京大学团队打造的Excel聊天机器人,用自然语言操控表格,简化数据处理,告别繁琐操作,提升工作效率!适用于学生、上班族及政府人员。
- 4515次使用
-
- Any绘本
- 探索Any绘本(anypicturebook.com/zh),一款开源免费的AI绘本创作工具,基于Google Gemini与Flux AI模型,让您轻松创作个性化绘本。适用于家庭、教育、创作等多种场景,零门槛,高自由度,技术透明,本地可控。
- 4866次使用
-
- 可赞AI
- 可赞AI,AI驱动的办公可视化智能工具,助您轻松实现文本与可视化元素高效转化。无论是智能文档生成、多格式文本解析,还是一键生成专业图表、脑图、知识卡片,可赞AI都能让信息处理更清晰高效。覆盖数据汇报、会议纪要、内容营销等全场景,大幅提升办公效率,降低专业门槛,是您提升工作效率的得力助手。
- 4743次使用
-
- 星月写作
- 星月写作是国内首款聚焦中文网络小说创作的AI辅助工具,解决网文作者从构思到变现的全流程痛点。AI扫榜、专属模板、全链路适配,助力新人快速上手,资深作者效率倍增。
- 6601次使用
-
- MagicLight
- MagicLight.ai是全球首款叙事驱动型AI动画视频创作平台,专注于解决从故事想法到完整动画的全流程痛点。它通过自研AI模型,保障角色、风格、场景高度一致性,让零动画经验者也能高效产出专业级叙事内容。广泛适用于独立创作者、动画工作室、教育机构及企业营销,助您轻松实现创意落地与商业化。
- 5104次使用
-
- Nothing品牌发布首个子品牌CMF,计划年底推出智能手表和耳机
- 2023-08-05 501浏览
-
- 中国气象局探讨促进人工智能气象预报大模型构建
- 2023-08-13 501浏览
-
- 强大性能搭配时尚外观:OPPO Reno 10系列手机正式开售!
- 2023-08-12 501浏览
-
- Trek推出Electra Pronto Go电动自行车,助力全球绿色出行浪潮
- 2023-08-23 501浏览
-
- 微软灵活升级计划:Win11 8月累积更新发布
- 2023-08-09 501浏览

