苹果新专利亮相:智能戒指/指套引领虚拟现实交互新纪元
IT行业相对于一般传统行业,发展更新速度更快,一旦停止了学习,很快就会被行业所淘汰。所以我们需要踏踏实实的不断学习,精进自己的技术,尤其是初学者。今天golang学习网给大家整理了《苹果新专利亮相:智能戒指/指套引领虚拟现实交互新纪元》,聊聊,我们一起来看看吧!
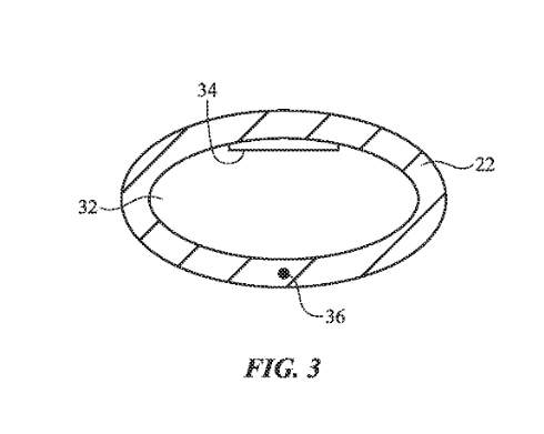
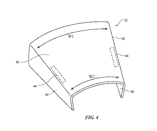
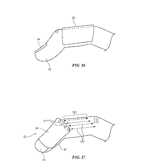
最近,美国商标和专利局(USPTO)公布了一项由苹果公司获得的新专利,揭示了一种创新的智能戒指/指套设备。该设备旨在提高佩戴者在虚拟现实环境中与虚拟对象互动时的触感和感知能力。

这项专利描述了一种装置,即一种戴在手指上的设备,它配备了传感器和触觉反馈。这些传感器能够准确地检测用户手部的动作,使用户能够以更自然、更直观的方式与虚拟现实世界中的内容进行交互。通过这种装置,用户可以提升沉浸感和体验的真实感,为虚拟现实技术带来更加身临其境的体验。


苹果公司在专利文件中指出,尽管手套等现有可穿戴设备在收集用于控制电子设备的输入方面已经取得了一定的进展,但它们仍然面临一些挑战。例如,这些设备可能会干扰用户感知周围物体的能力,长期佩戴可能会引起不适,或者无法从用户那里收集到准确、合适的输入信息。


为了解决这些问题,苹果公司提出了指套类设备的创新解决方案。这种设备不仅能够在用户与虚拟世界进行交互时收集来自手指的精确输入,还能够在这些交互过程中提供点击和其他形式的触觉反馈。据小编了解,这意味着当用户佩戴苹果Vision Pro等虚拟现实设备并使用这种指套时,他们不仅能够更自然地与虚拟环境进行交互,还能够通过指尖上的触觉传感器感受到虚拟物体的真实触感和动态反馈,例如接住一个抛向自己的虚拟球。
本篇关于《苹果新专利亮相:智能戒指/指套引领虚拟现实交互新纪元》的介绍就到此结束啦,但是学无止境,想要了解学习更多关于科技周边的相关知识,请关注golang学习网公众号!
揭秘 Java RESTful API 创建的奥秘:循序渐进指南
- 上一篇
- 揭秘 Java RESTful API 创建的奥秘:循序渐进指南
- 下一篇
- golang go测试具体目录
-
- 科技周边 · 业界新闻 | 2星期前 | AI会导致失业吗
- AI不会失业?软件工程师岗位大增!
- 155浏览 收藏
-
- 科技周边 · 业界新闻 | 1个月前 | 微软 打印机
- Win11停用旧打印机驱动,多家厂商受影响
- 134浏览 收藏
-
- 科技周边 · 业界新闻 | 1个月前 |
- GPT-5.4将上线,支持百万字长文本与极限推理
- 158浏览 收藏
-
- 科技周边 · 业界新闻 | 1个月前 |
- ASML重组技术部,进军AI芯片封装市场
- 218浏览 收藏
-
- 科技周边 · 业界新闻 | 1个月前 |
- 三星S26水平锁定功能实测,手抖救星省六千云台费
- 105浏览 收藏
-
- 科技周边 · 业界新闻 | 1个月前 |
- Codex登陆Windows,多AI代理协作新体验
- 365浏览 收藏
-
- 科技周边 · 业界新闻 | 1个月前 |
- 高通布局机器人市场,CEO称两年内将迎增长高峰
- 226浏览 收藏
-
- 科技周边 · 业界新闻 | 1个月前 |
- iPhone17销量破2000万,领跑华为!
- 377浏览 收藏
-
- 科技周边 · 业界新闻 | 1个月前 |
- Google笔记变导演,NotebookLM生成动画片
- 150浏览 收藏
-
- 科技周边 · 业界新闻 | 1个月前 |
- ASML布局AI,2026年需求强劲增长
- 199浏览 收藏
-
- 前端进阶之JavaScript设计模式
- 设计模式是开发人员在软件开发过程中面临一般问题时的解决方案,代表了最佳的实践。本课程的主打内容包括JS常见设计模式以及具体应用场景,打造一站式知识长龙服务,适合有JS基础的同学学习。
- 543次学习
-
- GO语言核心编程课程
- 本课程采用真实案例,全面具体可落地,从理论到实践,一步一步将GO核心编程技术、编程思想、底层实现融会贯通,使学习者贴近时代脉搏,做IT互联网时代的弄潮儿。
- 516次学习
-
- 简单聊聊mysql8与网络通信
- 如有问题加微信:Le-studyg;在课程中,我们将首先介绍MySQL8的新特性,包括性能优化、安全增强、新数据类型等,帮助学生快速熟悉MySQL8的最新功能。接着,我们将深入解析MySQL的网络通信机制,包括协议、连接管理、数据传输等,让
- 500次学习
-
- JavaScript正则表达式基础与实战
- 在任何一门编程语言中,正则表达式,都是一项重要的知识,它提供了高效的字符串匹配与捕获机制,可以极大的简化程序设计。
- 487次学习
-
- 从零制作响应式网站—Grid布局
- 本系列教程将展示从零制作一个假想的网络科技公司官网,分为导航,轮播,关于我们,成功案例,服务流程,团队介绍,数据部分,公司动态,底部信息等内容区块。网站整体采用CSSGrid布局,支持响应式,有流畅过渡和展现动画。
- 485次学习
-
- ChatExcel酷表
- ChatExcel酷表是由北京大学团队打造的Excel聊天机器人,用自然语言操控表格,简化数据处理,告别繁琐操作,提升工作效率!适用于学生、上班族及政府人员。
- 4503次使用
-
- Any绘本
- 探索Any绘本(anypicturebook.com/zh),一款开源免费的AI绘本创作工具,基于Google Gemini与Flux AI模型,让您轻松创作个性化绘本。适用于家庭、教育、创作等多种场景,零门槛,高自由度,技术透明,本地可控。
- 4856次使用
-
- 可赞AI
- 可赞AI,AI驱动的办公可视化智能工具,助您轻松实现文本与可视化元素高效转化。无论是智能文档生成、多格式文本解析,还是一键生成专业图表、脑图、知识卡片,可赞AI都能让信息处理更清晰高效。覆盖数据汇报、会议纪要、内容营销等全场景,大幅提升办公效率,降低专业门槛,是您提升工作效率的得力助手。
- 4730次使用
-
- 星月写作
- 星月写作是国内首款聚焦中文网络小说创作的AI辅助工具,解决网文作者从构思到变现的全流程痛点。AI扫榜、专属模板、全链路适配,助力新人快速上手,资深作者效率倍增。
- 6573次使用
-
- MagicLight
- MagicLight.ai是全球首款叙事驱动型AI动画视频创作平台,专注于解决从故事想法到完整动画的全流程痛点。它通过自研AI模型,保障角色、风格、场景高度一致性,让零动画经验者也能高效产出专业级叙事内容。广泛适用于独立创作者、动画工作室、教育机构及企业营销,助您轻松实现创意落地与商业化。
- 5095次使用
-
- Nothing品牌发布首个子品牌CMF,计划年底推出智能手表和耳机
- 2023-08-05 501浏览
-
- 中国气象局探讨促进人工智能气象预报大模型构建
- 2023-08-13 501浏览
-
- 强大性能搭配时尚外观:OPPO Reno 10系列手机正式开售!
- 2023-08-12 501浏览
-
- Trek推出Electra Pronto Go电动自行车,助力全球绿色出行浪潮
- 2023-08-23 501浏览
-
- 微软灵活升级计划:Win11 8月累积更新发布
- 2023-08-09 501浏览

