苹果新专利亮相:iPhone电池续航将获大幅提升
来源:ITBear科技资讯
2024-04-01 12:33:29
0浏览
收藏
哈喽!今天心血来潮给大家带来了《苹果新专利亮相:iPhone电池续航将获大幅提升》,想必大家应该对科技周边都不陌生吧,那么阅读本文就都不会很困难,以下内容主要涉及到,若是你正在学习科技周边,千万别错过这篇文章~希望能帮助到你!
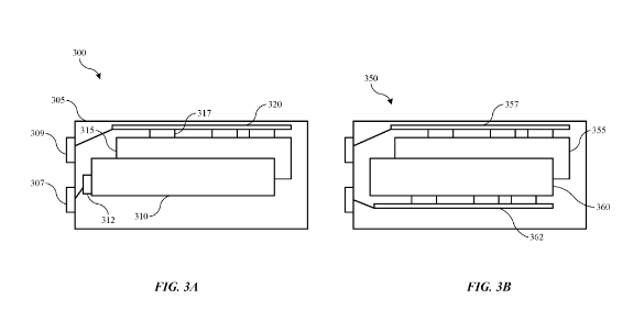
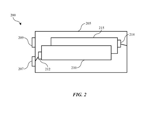
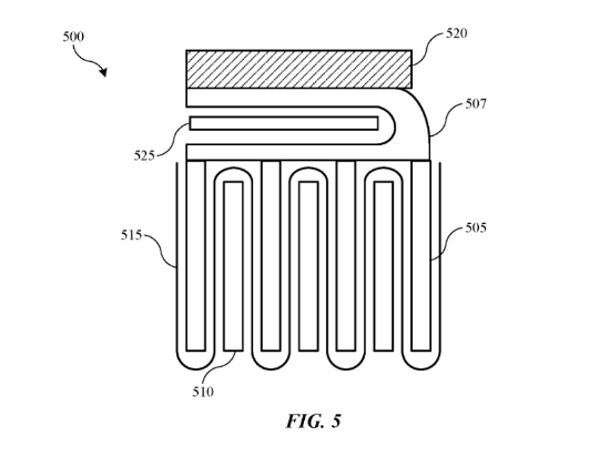
美国商标和专利局最近公布了苹果公司的一项名为《带直角凸片的电池单元》的新专利。这项创新的电池技术旨在提供iPhone用户更持久的电池续航时间,同时保持设备紧凑的体积设计。

据悉,该专利在2021年9月提交,并于2024年3月26日正式公示。它详细探讨了当前电池技术的瓶颈与挑战,并揭示了苹果公司如何通过研究新型隔膜、带折叠的隔膜以及电池组件的耦合等方式,以突破现有技术限制,提升电池的整体性能。


据小编了解,专利中特别提及了一种创新的标签化方案,这种方案允许iPhone电池在未来设计中拥有更大的容量,并且通过使用不同角度的连接器和标签,有效解决了空间限制的问题。这一独特设计不仅有望为iPhone带来更长的续航时间,同时也有望改善电池的整体电阻,进而提升其工作效率。

这种新设计的电池单元具有一组接片,可沿着表面延伸第一方向,以及另一组接片,这些接片与第一方向几乎垂直。这种布局不仅精巧地解决了空间限制的挑战,还进一步优化了电池内部的电阻结构,从而提高了整体能效。这项创新技术预示着苹果公司在电池技术领域的持续领先地位,并将为消费者带来更出色的移动设备使用体验。
版本声明
本文转载于:ITBear科技资讯 如有侵犯,请联系study_golang@163.com删除
CGO_ENABLED 如何影响动态链接和静态链接?
- 上一篇
- CGO_ENABLED 如何影响动态链接和静态链接?
- 下一篇
- 苹果加强中国实验室布局,面临华为“Vision Pro”商标挑战
查看更多
最新文章
-
- 科技周边 · 业界新闻 | 19小时前 |
- ASML布局AI,2026年需求强劲增长
- 199浏览 收藏
-
- 科技周边 · 业界新闻 | 4天前 |
- 芯片短缺预警,Nexperia争议再升温
- 132浏览 收藏
-
- 科技周边 · 业界新闻 | 4天前 |
- M5Max性能提升30%效能爆表
- 497浏览 收藏
-
- 科技周边 · 业界新闻 | 5天前 |
- MacBook Neo桌布暗藏字母密码,开机有惊喜
- 221浏览 收藏
-
- 科技周边 · 业界新闻 | 1星期前 | 50系显卡
- RTX5080成销冠,RX9070XT领跑市场
- 249浏览 收藏
-
- 科技周边 · 业界新闻 | 1星期前 |
- 微软CEO:没有苹果就没有Office!
- 116浏览 收藏
-
- 科技周边 · 业界新闻 | 1星期前 |
- 2026手机销量下滑,二手机成新宠
- 454浏览 收藏
-
- 科技周边 · 业界新闻 | 1星期前 |
- ChatGPT天价广告费引热议,Shopify进军AI营销
- 294浏览 收藏
-
- 科技周边 · 业界新闻 | 1星期前 |
- 川普拟禁AI芯片出口,辉达AMD遭限制
- 374浏览 收藏
-
- 科技周边 · 业界新闻 | 1星期前 |
- ChatGPT发布GPT-5.3 Instant,表现如何?
- 486浏览 收藏
-
- 科技周边 · 业界新闻 | 2星期前 |
- NotebookLM新增AI图片生成功能
- 466浏览 收藏
查看更多
课程推荐
-
- 前端进阶之JavaScript设计模式
- 设计模式是开发人员在软件开发过程中面临一般问题时的解决方案,代表了最佳的实践。本课程的主打内容包括JS常见设计模式以及具体应用场景,打造一站式知识长龙服务,适合有JS基础的同学学习。
- 543次学习
-
- GO语言核心编程课程
- 本课程采用真实案例,全面具体可落地,从理论到实践,一步一步将GO核心编程技术、编程思想、底层实现融会贯通,使学习者贴近时代脉搏,做IT互联网时代的弄潮儿。
- 516次学习
-
- 简单聊聊mysql8与网络通信
- 如有问题加微信:Le-studyg;在课程中,我们将首先介绍MySQL8的新特性,包括性能优化、安全增强、新数据类型等,帮助学生快速熟悉MySQL8的最新功能。接着,我们将深入解析MySQL的网络通信机制,包括协议、连接管理、数据传输等,让
- 500次学习
-
- JavaScript正则表达式基础与实战
- 在任何一门编程语言中,正则表达式,都是一项重要的知识,它提供了高效的字符串匹配与捕获机制,可以极大的简化程序设计。
- 487次学习
-
- 从零制作响应式网站—Grid布局
- 本系列教程将展示从零制作一个假想的网络科技公司官网,分为导航,轮播,关于我们,成功案例,服务流程,团队介绍,数据部分,公司动态,底部信息等内容区块。网站整体采用CSSGrid布局,支持响应式,有流畅过渡和展现动画。
- 485次学习
查看更多
AI推荐
-
- ChatExcel酷表
- ChatExcel酷表是由北京大学团队打造的Excel聊天机器人,用自然语言操控表格,简化数据处理,告别繁琐操作,提升工作效率!适用于学生、上班族及政府人员。
- 4215次使用
-
- Any绘本
- 探索Any绘本(anypicturebook.com/zh),一款开源免费的AI绘本创作工具,基于Google Gemini与Flux AI模型,让您轻松创作个性化绘本。适用于家庭、教育、创作等多种场景,零门槛,高自由度,技术透明,本地可控。
- 4573次使用
-
- 可赞AI
- 可赞AI,AI驱动的办公可视化智能工具,助您轻松实现文本与可视化元素高效转化。无论是智能文档生成、多格式文本解析,还是一键生成专业图表、脑图、知识卡片,可赞AI都能让信息处理更清晰高效。覆盖数据汇报、会议纪要、内容营销等全场景,大幅提升办公效率,降低专业门槛,是您提升工作效率的得力助手。
- 4454次使用
-
- 星月写作
- 星月写作是国内首款聚焦中文网络小说创作的AI辅助工具,解决网文作者从构思到变现的全流程痛点。AI扫榜、专属模板、全链路适配,助力新人快速上手,资深作者效率倍增。
- 6102次使用
-
- MagicLight
- MagicLight.ai是全球首款叙事驱动型AI动画视频创作平台,专注于解决从故事想法到完整动画的全流程痛点。它通过自研AI模型,保障角色、风格、场景高度一致性,让零动画经验者也能高效产出专业级叙事内容。广泛适用于独立创作者、动画工作室、教育机构及企业营销,助您轻松实现创意落地与商业化。
- 4820次使用
查看更多
相关文章
-
- Nothing品牌发布首个子品牌CMF,计划年底推出智能手表和耳机
- 2023-08-05 501浏览
-
- 中国气象局探讨促进人工智能气象预报大模型构建
- 2023-08-13 501浏览
-
- 强大性能搭配时尚外观:OPPO Reno 10系列手机正式开售!
- 2023-08-12 501浏览
-
- Trek推出Electra Pronto Go电动自行车,助力全球绿色出行浪潮
- 2023-08-23 501浏览
-
- 微软灵活升级计划:Win11 8月累积更新发布
- 2023-08-09 501浏览

