苹果公司新专利揭秘:Vision Pro头显将配备风扇降温除尘
在科技周边实战开发的过程中,我们经常会遇到一些这样那样的问题,然后要卡好半天,等问题解决了才发现原来一些细节知识点还是没有掌握好。今天golang学习网就整理分享《苹果公司新专利揭秘:Vision Pro头显将配备风扇降温除尘》,聊聊,希望可以帮助到正在努力赚钱的你。
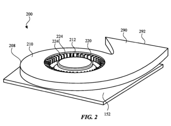
最近,美国商标和专利局公布了一项由苹果公司拥有的新专利。该专利展示了一种全新的头戴设备设计,这个设计将创新的风扇系统整合到了Vision Pro头戴设备中。这个系统不仅可以为用户在使用头戴设备时提供降温效果,还可以有效地清除设备内部的灰尘和颗粒。

据专利描述,这款名为《减少碎屑的风扇》的装置,将被装配在苹果公司的Vision Pro等头显设备上。其主要功能是在头显运行过程中,通过风扇系统及时带走产生的热量,以防止设备过热。苹果在专利中明确指出,长时间的过热不仅会损坏头显的组件,还会给用户带来不适。
苹果公司在专利中详细描述了头显内部的散热通风通道设计,该设计旨在有效地排除头显组件运行时产生的热量。通过风扇系统将热量排出设备外部,确保设备在运行过程中保持适宜的温度。此外,风扇的运转还有助于清除可能进入头显内部的颗粒或其他碎片,保持设备内部的清洁和顺畅运行。
这款风扇的设计考虑了颗粒的排放和防止聚集的问题。风扇可以包括开口,使微粒能从风扇中顺利排出。同时,风扇的固定部件和运动部件之间的间距可以调节,以避免颗粒在风扇内部聚集。此外,风扇还配备了一个粘合垫,用于在不影响叶轮运行的位置收集和保留颗粒,进一步增强了设备的防尘效果。
苹果公司获得这项新专利将为其在头显设备领域的进步注入新的活力。这为我们带来了更多期待,期待苹果未来推出更具创新和用户友好性的头显产品。
文中关于苹果的知识介绍,希望对你的学习有所帮助!若是受益匪浅,那就动动鼠标收藏这篇《苹果公司新专利揭秘:Vision Pro头显将配备风扇降温除尘》文章吧,也可关注golang学习网公众号了解相关技术文章。
Go 中将字符串转换为 json
- 上一篇
- Go 中将字符串转换为 json
- 下一篇
- VUE3怎么使用JSON编辑器
-
- 科技周边 · 业界新闻 | 1天前 | c919零件通道 中美航天合作
- 200架波音换C919,国产零件持续供应!
- 345浏览 收藏
-
- 科技周边 · 业界新闻 | 1天前 | win11
- Win11用户注意!木马威胁警告来袭
- 356浏览 收藏
-
- 科技周边 · 业界新闻 | 5天前 |
- 华为Mate 90双潜望长焦,10倍变焦来袭!
- 277浏览 收藏
-
- 科技周边 · 业界新闻 | 1星期前 | 神舟火箭发射
- 神舟二十三号待发,力箭一号一箭五星破百星
- 270浏览 收藏
-
- 科技周边 · 业界新闻 | 2星期前 | OpenAI gpt-6
- GPT-6对决DeepSeek V4,巅峰之战引爆AI圈
- 370浏览 收藏
-
- 科技周边 · 业界新闻 | 1个月前 | AI会导致失业吗
- AI不会失业?软件工程师岗位大增!
- 155浏览 收藏
-
- 科技周边 · 业界新闻 | 1个月前 | 微软 打印机
- Win11停用旧打印机驱动,多家厂商受影响
- 134浏览 收藏
-
- 科技周边 · 业界新闻 | 1个月前 |
- GPT-5.4将上线,支持百万字长文本与极限推理
- 158浏览 收藏
-
- 科技周边 · 业界新闻 | 1个月前 |
- ASML重组技术部,进军AI芯片封装市场
- 218浏览 收藏
-
- 科技周边 · 业界新闻 | 2个月前 |
- 三星S26水平锁定功能实测,手抖救星省六千云台费
- 105浏览 收藏
-
- 前端进阶之JavaScript设计模式
- 设计模式是开发人员在软件开发过程中面临一般问题时的解决方案,代表了最佳的实践。本课程的主打内容包括JS常见设计模式以及具体应用场景,打造一站式知识长龙服务,适合有JS基础的同学学习。
- 543次学习
-
- GO语言核心编程课程
- 本课程采用真实案例,全面具体可落地,从理论到实践,一步一步将GO核心编程技术、编程思想、底层实现融会贯通,使学习者贴近时代脉搏,做IT互联网时代的弄潮儿。
- 516次学习
-
- 简单聊聊mysql8与网络通信
- 如有问题加微信:Le-studyg;在课程中,我们将首先介绍MySQL8的新特性,包括性能优化、安全增强、新数据类型等,帮助学生快速熟悉MySQL8的最新功能。接着,我们将深入解析MySQL的网络通信机制,包括协议、连接管理、数据传输等,让
- 500次学习
-
- JavaScript正则表达式基础与实战
- 在任何一门编程语言中,正则表达式,都是一项重要的知识,它提供了高效的字符串匹配与捕获机制,可以极大的简化程序设计。
- 487次学习
-
- 从零制作响应式网站—Grid布局
- 本系列教程将展示从零制作一个假想的网络科技公司官网,分为导航,轮播,关于我们,成功案例,服务流程,团队介绍,数据部分,公司动态,底部信息等内容区块。网站整体采用CSSGrid布局,支持响应式,有流畅过渡和展现动画。
- 485次学习
-
- ChatExcel酷表
- ChatExcel酷表是由北京大学团队打造的Excel聊天机器人,用自然语言操控表格,简化数据处理,告别繁琐操作,提升工作效率!适用于学生、上班族及政府人员。
- 5888次使用
-
- Any绘本
- 探索Any绘本(anypicturebook.com/zh),一款开源免费的AI绘本创作工具,基于Google Gemini与Flux AI模型,让您轻松创作个性化绘本。适用于家庭、教育、创作等多种场景,零门槛,高自由度,技术透明,本地可控。
- 6323次使用
-
- 可赞AI
- 可赞AI,AI驱动的办公可视化智能工具,助您轻松实现文本与可视化元素高效转化。无论是智能文档生成、多格式文本解析,还是一键生成专业图表、脑图、知识卡片,可赞AI都能让信息处理更清晰高效。覆盖数据汇报、会议纪要、内容营销等全场景,大幅提升办公效率,降低专业门槛,是您提升工作效率的得力助手。
- 6132次使用
-
- 星月写作
- 星月写作是国内首款聚焦中文网络小说创作的AI辅助工具,解决网文作者从构思到变现的全流程痛点。AI扫榜、专属模板、全链路适配,助力新人快速上手,资深作者效率倍增。
- 8103次使用
-
- MagicLight
- MagicLight.ai是全球首款叙事驱动型AI动画视频创作平台,专注于解决从故事想法到完整动画的全流程痛点。它通过自研AI模型,保障角色、风格、场景高度一致性,让零动画经验者也能高效产出专业级叙事内容。广泛适用于独立创作者、动画工作室、教育机构及企业营销,助您轻松实现创意落地与商业化。
- 6561次使用
-
- Nothing品牌发布首个子品牌CMF,计划年底推出智能手表和耳机
- 2023-08-05 501浏览
-
- 中国气象局探讨促进人工智能气象预报大模型构建
- 2023-08-13 501浏览
-
- 强大性能搭配时尚外观:OPPO Reno 10系列手机正式开售!
- 2023-08-12 501浏览
-
- Trek推出Electra Pronto Go电动自行车,助力全球绿色出行浪潮
- 2023-08-23 501浏览
-
- 微软灵活升级计划:Win11 8月累积更新发布
- 2023-08-09 501浏览

