苹果新专利曝光:Vision Pro头显将配备触控Light Seal,交互体验再升级
来源:ITBear科技资讯
2024-04-09 16:21:29
0浏览
收藏
本篇文章给大家分享《苹果新专利曝光:Vision Pro头显将配备触控Light Seal,交互体验再升级》,覆盖了科技周边的常见基础知识,其实一个语言的全部知识点一篇文章是不可能说完的,但希望通过这些问题,让读者对自己的掌握程度有一定的认识(B 数),从而弥补自己的不足,更好的掌握它。
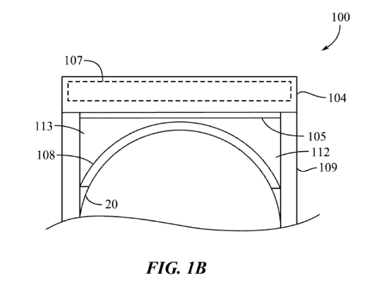
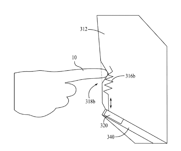
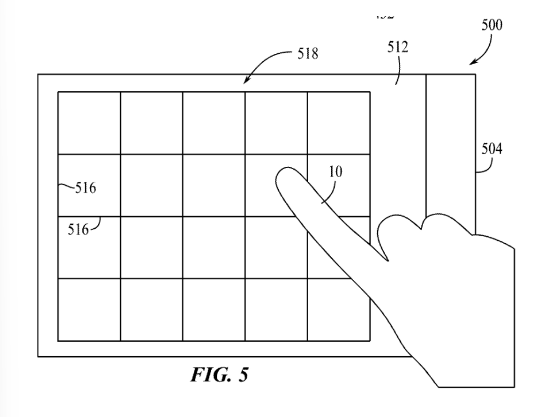
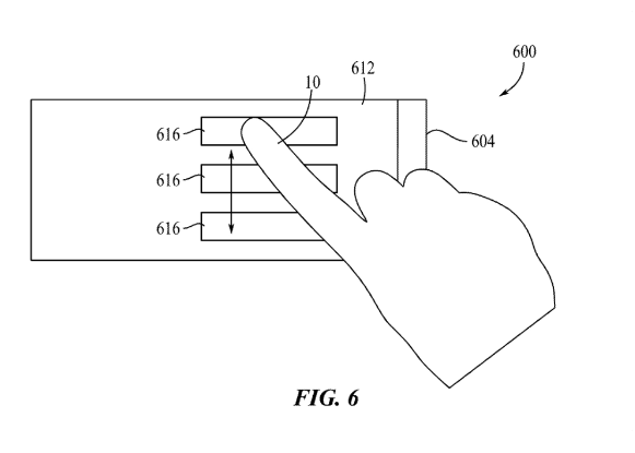
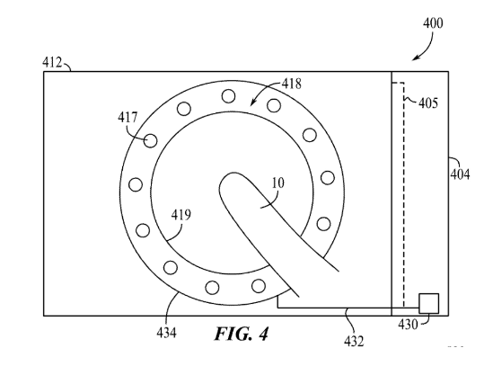
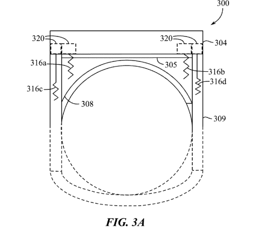
近日,美国商标和专利局公布了一项苹果公司最新获得的关于Vision Pro头显技术的专利。这一专利揭示了苹果在改进虚拟现实交互体验方面的新计划,计划通过在Light Seal中集成触控传感器,为用户提供更丰富、更直观的交互方式。

Light Seal作为苹果头显的一个重要组成部分,目前主要由柔软的纺织品制成,具有多种形状和尺寸,可以灵活弯曲以适应不同用户的脸部轮廓。其主要功能是阻挡外部光线,从而增强头显的沉浸式体验。然而,根据最新专利描述,苹果计划对Light Seal进行重大升级,将其打造成一个超大的触控交互区域。






据小编了解,苹果在这项新专利中提出了一种创新的导电织物材料,用于替代传统的纺织品。这种导电织物内置了传感器,能够精确识别佩戴者的交互手势,如旋转、上下滑动等。未来,Vision Pro头显将配备内置计算设备,用于收集和分析这些触控手势数据,并根据用户的交互意图做出相应的响应。
这一创新设计有望为虚拟现实用户带来更加自然和直观的交互体验。通过直接在Light Seal上进行触控操作,用户将能够更加轻松地与虚拟世界进行互动,无需依赖传统的控制器或手势识别设备。这不仅将提升用户的沉浸感,还有助于降低虚拟现实设备的使用门槛,吸引更多消费者加入虚拟现实的行列。
版本声明
本文转载于:ITBear科技资讯 如有侵犯,请联系study_golang@163.com删除
Omdia:三星中小尺寸 OLED 业务今年面临挑战,将更依赖自家手机订单
- 上一篇
- Omdia:三星中小尺寸 OLED 业务今年面临挑战,将更依赖自家手机订单
- 下一篇
- 为什么 go http post 得到的结果与 curl post 不同?
查看更多
最新文章
-
- 科技周边 · 业界新闻 | 23小时前 | c919零件通道 中美航天合作
- 200架波音换C919,国产零件持续供应!
- 345浏览 收藏
-
- 科技周边 · 业界新闻 | 1天前 | win11
- Win11用户注意!木马威胁警告来袭
- 356浏览 收藏
-
- 科技周边 · 业界新闻 | 5天前 |
- 华为Mate 90双潜望长焦,10倍变焦来袭!
- 277浏览 收藏
-
- 科技周边 · 业界新闻 | 1星期前 | 神舟火箭发射
- 神舟二十三号待发,力箭一号一箭五星破百星
- 270浏览 收藏
-
- 科技周边 · 业界新闻 | 2星期前 | OpenAI gpt-6
- GPT-6对决DeepSeek V4,巅峰之战引爆AI圈
- 370浏览 收藏
-
- 科技周边 · 业界新闻 | 1个月前 | AI会导致失业吗
- AI不会失业?软件工程师岗位大增!
- 155浏览 收藏
-
- 科技周边 · 业界新闻 | 1个月前 | 微软 打印机
- Win11停用旧打印机驱动,多家厂商受影响
- 134浏览 收藏
-
- 科技周边 · 业界新闻 | 1个月前 |
- GPT-5.4将上线,支持百万字长文本与极限推理
- 158浏览 收藏
-
- 科技周边 · 业界新闻 | 1个月前 |
- ASML重组技术部,进军AI芯片封装市场
- 218浏览 收藏
-
- 科技周边 · 业界新闻 | 2个月前 |
- 三星S26水平锁定功能实测,手抖救星省六千云台费
- 105浏览 收藏
查看更多
课程推荐
-
- 前端进阶之JavaScript设计模式
- 设计模式是开发人员在软件开发过程中面临一般问题时的解决方案,代表了最佳的实践。本课程的主打内容包括JS常见设计模式以及具体应用场景,打造一站式知识长龙服务,适合有JS基础的同学学习。
- 543次学习
-
- GO语言核心编程课程
- 本课程采用真实案例,全面具体可落地,从理论到实践,一步一步将GO核心编程技术、编程思想、底层实现融会贯通,使学习者贴近时代脉搏,做IT互联网时代的弄潮儿。
- 516次学习
-
- 简单聊聊mysql8与网络通信
- 如有问题加微信:Le-studyg;在课程中,我们将首先介绍MySQL8的新特性,包括性能优化、安全增强、新数据类型等,帮助学生快速熟悉MySQL8的最新功能。接着,我们将深入解析MySQL的网络通信机制,包括协议、连接管理、数据传输等,让
- 500次学习
-
- JavaScript正则表达式基础与实战
- 在任何一门编程语言中,正则表达式,都是一项重要的知识,它提供了高效的字符串匹配与捕获机制,可以极大的简化程序设计。
- 487次学习
-
- 从零制作响应式网站—Grid布局
- 本系列教程将展示从零制作一个假想的网络科技公司官网,分为导航,轮播,关于我们,成功案例,服务流程,团队介绍,数据部分,公司动态,底部信息等内容区块。网站整体采用CSSGrid布局,支持响应式,有流畅过渡和展现动画。
- 485次学习
查看更多
AI推荐
-
- ChatExcel酷表
- ChatExcel酷表是由北京大学团队打造的Excel聊天机器人,用自然语言操控表格,简化数据处理,告别繁琐操作,提升工作效率!适用于学生、上班族及政府人员。
- 5888次使用
-
- Any绘本
- 探索Any绘本(anypicturebook.com/zh),一款开源免费的AI绘本创作工具,基于Google Gemini与Flux AI模型,让您轻松创作个性化绘本。适用于家庭、教育、创作等多种场景,零门槛,高自由度,技术透明,本地可控。
- 6321次使用
-
- 可赞AI
- 可赞AI,AI驱动的办公可视化智能工具,助您轻松实现文本与可视化元素高效转化。无论是智能文档生成、多格式文本解析,还是一键生成专业图表、脑图、知识卡片,可赞AI都能让信息处理更清晰高效。覆盖数据汇报、会议纪要、内容营销等全场景,大幅提升办公效率,降低专业门槛,是您提升工作效率的得力助手。
- 6131次使用
-
- 星月写作
- 星月写作是国内首款聚焦中文网络小说创作的AI辅助工具,解决网文作者从构思到变现的全流程痛点。AI扫榜、专属模板、全链路适配,助力新人快速上手,资深作者效率倍增。
- 8103次使用
-
- MagicLight
- MagicLight.ai是全球首款叙事驱动型AI动画视频创作平台,专注于解决从故事想法到完整动画的全流程痛点。它通过自研AI模型,保障角色、风格、场景高度一致性,让零动画经验者也能高效产出专业级叙事内容。广泛适用于独立创作者、动画工作室、教育机构及企业营销,助您轻松实现创意落地与商业化。
- 6561次使用
查看更多
相关文章
-
- Nothing品牌发布首个子品牌CMF,计划年底推出智能手表和耳机
- 2023-08-05 501浏览
-
- 中国气象局探讨促进人工智能气象预报大模型构建
- 2023-08-13 501浏览
-
- 强大性能搭配时尚外观:OPPO Reno 10系列手机正式开售!
- 2023-08-12 501浏览
-
- Trek推出Electra Pronto Go电动自行车,助力全球绿色出行浪潮
- 2023-08-23 501浏览
-
- 微软灵活升级计划:Win11 8月累积更新发布
- 2023-08-09 501浏览

