华为P70系列或采用全新可变光圈技术,专利公示揭秘其创新设计
从现在开始,努力学习吧!本文《华为P70系列或采用全新可变光圈技术,专利公示揭秘其创新设计》主要讲解了等等相关知识点,我会在golang学习网中持续更新相关的系列文章,欢迎大家关注并积极留言建议。下面就先一起来看一下本篇正文内容吧,希望能帮到你!
据最新专利文件显示,华为P70系列手机可能引入全新的“可变光圈主摄”技术,这项技术的优势在于提升拍摄稳定性和成像效果。华为对可变光圈结构进行了明显的调整,这一举措有望为用户带来更出色的摄影体验。

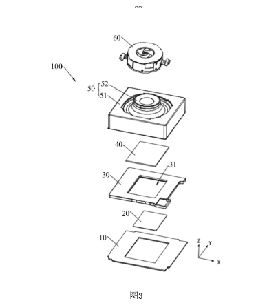
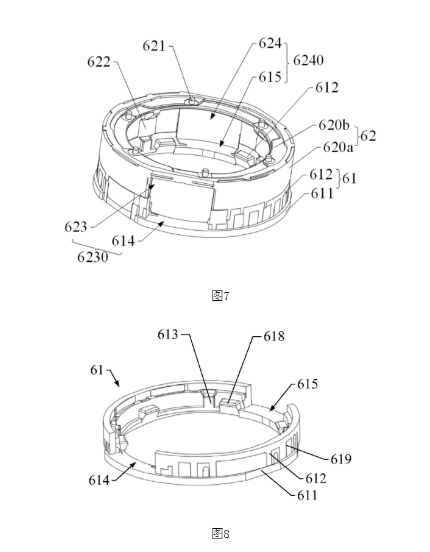
该专利名为《可变光圈、摄像模组以及电子设备》,于2022年9月提交申请,今年2月13日获得授权公告。专利摘要详细介绍了新型可变光圈的设计和工作原理。光圈包括固定座、转动支架和可变光阑,转动支架可转动地收容于固定座内,并围出一定空间。可变光阑由多个叶片组成,共同围出透光孔,与转动支架所围空间相连通。每个叶片转动连接在固定座上,滑动连接在转动支架上。这设计使得光圈大小可通过调整叶片角度来控制,实现不同拍摄效果。



专利中还特别强调了固定座和转动支架之间的定位凸部设计。这种设计有助于减少组装公差,从而降低摄像模组的晃动,确保稳定的拍摄。据了解,这一改进有望提升摄像模组的成像效果和图像质量,为用户带来更清晰、稳定的拍摄体验。





回顾华为P60的设计,该机已经支持F/1.4到F/4.0的十档可变光圈,并搭载了大光圈高透光镜群和RYYB超感光传感器。通过“光机电算”全链路的升级,华为P60已经实现了业界最大的进光量。而随着P70系列手机的即将发布,我们有理由期待华为在摄影技术方面再次取得突破。
今天关于《华为P70系列或采用全新可变光圈技术,专利公示揭秘其创新设计》的内容就介绍到这里了,是不是学起来一目了然!想要了解更多关于华为的内容请关注golang学习网公众号!
实时加SOTA一飞冲天!FastOcc:推理更快、部署友好Occ算法来啦!
- 上一篇
- 实时加SOTA一飞冲天!FastOcc:推理更快、部署友好Occ算法来啦!
- 下一篇
- 将动态参数传递给函数
-
- 科技周边 · 业界新闻 | 23小时前 | c919零件通道 中美航天合作
- 200架波音换C919,国产零件持续供应!
- 345浏览 收藏
-
- 科技周边 · 业界新闻 | 1天前 | win11
- Win11用户注意!木马威胁警告来袭
- 356浏览 收藏
-
- 科技周边 · 业界新闻 | 5天前 |
- 华为Mate 90双潜望长焦,10倍变焦来袭!
- 277浏览 收藏
-
- 科技周边 · 业界新闻 | 1星期前 | 神舟火箭发射
- 神舟二十三号待发,力箭一号一箭五星破百星
- 270浏览 收藏
-
- 科技周边 · 业界新闻 | 2星期前 | OpenAI gpt-6
- GPT-6对决DeepSeek V4,巅峰之战引爆AI圈
- 370浏览 收藏
-
- 科技周边 · 业界新闻 | 1个月前 | AI会导致失业吗
- AI不会失业?软件工程师岗位大增!
- 155浏览 收藏
-
- 科技周边 · 业界新闻 | 1个月前 | 微软 打印机
- Win11停用旧打印机驱动,多家厂商受影响
- 134浏览 收藏
-
- 科技周边 · 业界新闻 | 1个月前 |
- GPT-5.4将上线,支持百万字长文本与极限推理
- 158浏览 收藏
-
- 科技周边 · 业界新闻 | 1个月前 |
- ASML重组技术部,进军AI芯片封装市场
- 218浏览 收藏
-
- 科技周边 · 业界新闻 | 2个月前 |
- 三星S26水平锁定功能实测,手抖救星省六千云台费
- 105浏览 收藏
-
- 前端进阶之JavaScript设计模式
- 设计模式是开发人员在软件开发过程中面临一般问题时的解决方案,代表了最佳的实践。本课程的主打内容包括JS常见设计模式以及具体应用场景,打造一站式知识长龙服务,适合有JS基础的同学学习。
- 543次学习
-
- GO语言核心编程课程
- 本课程采用真实案例,全面具体可落地,从理论到实践,一步一步将GO核心编程技术、编程思想、底层实现融会贯通,使学习者贴近时代脉搏,做IT互联网时代的弄潮儿。
- 516次学习
-
- 简单聊聊mysql8与网络通信
- 如有问题加微信:Le-studyg;在课程中,我们将首先介绍MySQL8的新特性,包括性能优化、安全增强、新数据类型等,帮助学生快速熟悉MySQL8的最新功能。接着,我们将深入解析MySQL的网络通信机制,包括协议、连接管理、数据传输等,让
- 500次学习
-
- JavaScript正则表达式基础与实战
- 在任何一门编程语言中,正则表达式,都是一项重要的知识,它提供了高效的字符串匹配与捕获机制,可以极大的简化程序设计。
- 487次学习
-
- 从零制作响应式网站—Grid布局
- 本系列教程将展示从零制作一个假想的网络科技公司官网,分为导航,轮播,关于我们,成功案例,服务流程,团队介绍,数据部分,公司动态,底部信息等内容区块。网站整体采用CSSGrid布局,支持响应式,有流畅过渡和展现动画。
- 485次学习
-
- ChatExcel酷表
- ChatExcel酷表是由北京大学团队打造的Excel聊天机器人,用自然语言操控表格,简化数据处理,告别繁琐操作,提升工作效率!适用于学生、上班族及政府人员。
- 5888次使用
-
- Any绘本
- 探索Any绘本(anypicturebook.com/zh),一款开源免费的AI绘本创作工具,基于Google Gemini与Flux AI模型,让您轻松创作个性化绘本。适用于家庭、教育、创作等多种场景,零门槛,高自由度,技术透明,本地可控。
- 6321次使用
-
- 可赞AI
- 可赞AI,AI驱动的办公可视化智能工具,助您轻松实现文本与可视化元素高效转化。无论是智能文档生成、多格式文本解析,还是一键生成专业图表、脑图、知识卡片,可赞AI都能让信息处理更清晰高效。覆盖数据汇报、会议纪要、内容营销等全场景,大幅提升办公效率,降低专业门槛,是您提升工作效率的得力助手。
- 6131次使用
-
- 星月写作
- 星月写作是国内首款聚焦中文网络小说创作的AI辅助工具,解决网文作者从构思到变现的全流程痛点。AI扫榜、专属模板、全链路适配,助力新人快速上手,资深作者效率倍增。
- 8103次使用
-
- MagicLight
- MagicLight.ai是全球首款叙事驱动型AI动画视频创作平台,专注于解决从故事想法到完整动画的全流程痛点。它通过自研AI模型,保障角色、风格、场景高度一致性,让零动画经验者也能高效产出专业级叙事内容。广泛适用于独立创作者、动画工作室、教育机构及企业营销,助您轻松实现创意落地与商业化。
- 6561次使用
-
- Nothing品牌发布首个子品牌CMF,计划年底推出智能手表和耳机
- 2023-08-05 501浏览
-
- 中国气象局探讨促进人工智能气象预报大模型构建
- 2023-08-13 501浏览
-
- 强大性能搭配时尚外观:OPPO Reno 10系列手机正式开售!
- 2023-08-12 501浏览
-
- Trek推出Electra Pronto Go电动自行车,助力全球绿色出行浪潮
- 2023-08-23 501浏览
-
- 微软灵活升级计划:Win11 8月累积更新发布
- 2023-08-09 501浏览

