苹果新专利公示:Vision Pro头显可读取脑电波,开启身心健康新时代
“纵有疾风来,人生不言弃”,这句话送给正在学习科技周边的朋友们,也希望在阅读本文《苹果新专利公示:Vision Pro头显可读取脑电波,开启身心健康新时代》后,能够真的帮助到大家。我也会在后续的文章中,陆续更新科技周边相关的技术文章,有好的建议欢迎大家在评论留言,非常感谢!
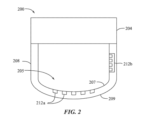
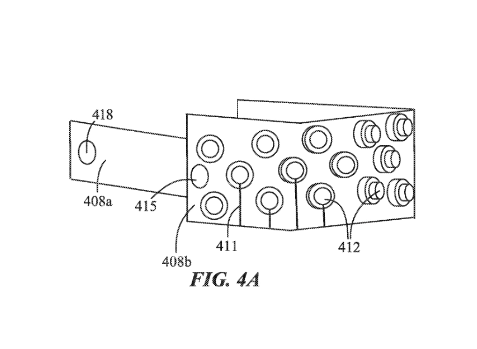
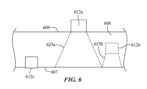
3月22日消息,近日,美国商标和专利局公示了一项苹果公司新获得的专利,这项专利涉及一款名为Vision Pro的头显设备,其内置传感器能够读取佩戴者的脑电波信号。这一技术的引入,预示着苹果在穿戴设备与医疗健康领域的深度融合上迈出了重要的一步。

据专利描述,Vision Pro头显通过无创的神经接口技术,实现了对佩戴者脑电波信号的读取,同时能够监测心脏、肺部以及大脑区域的活动。这些数据的收集和分析,将为佩戴者提供更加个性化且丰富的交互体验。该技术并不能直接读取用户的思维内容,而是通过收集脑电波数据,来评估佩戴者在特定情境下的心理状态和生理反应。

苹果公司在专利中明确表示,这项技术的核心应用和目的是改善佩戴者的身心健康。通过学习过程中大脑的分心情况、游戏过程中的恐慌反应等数据的收集和分析,可以帮助佩戴者更好地了解自己的心理状态,从而调整心态、改善心理健康。此外,苹果还希望未来能将这一技术应用于医疗和心理健康领域,为相关从业者提供一种全新的治疗手段。

除了在心理健康方面的运用,这项技术还有潜力帮助患有多动症或其他学习问题的学生提高专注力和理解能力。通过内置传感器的头戴设备Vision Pro头显,能够实时监测佩戴者的脑部活动,为教育工作者提供更准确的辅助信息,帮助他们制定更个性化的教学计划。

此外,专利还提到,头带中的传感器还可以有效检测佩戴者的体温、脉搏数据、呼吸频率和血压等生理指标。这些数据的实时监测和分析,不仅有助于及时发现佩戴者的健康问题,还可以为医疗工作者提供更加全面的诊断依据。
总的来说,苹果公司的这项新专利展示了穿戴设备与医疗健康领域的创新整合方式。随着科技的发展和应用范围的扩大,我们可以预见未来的穿戴设备将在日常生活中扮演更为关键的角色。这种融合为用户提供了更多便利和个性化的健康管理方式,促进了智能设备在健康监测和管理方面的应用。这项专利的推出也标志着医疗领域与智能科技的深度融合,为人们带来了更多可能性和选择。可以预见,未来的穿戴设备将成为我们健康生活的重要助手,更好地
文中关于苹果的知识介绍,希望对你的学习有所帮助!若是受益匪浅,那就动动鼠标收藏这篇《苹果新专利公示:Vision Pro头显可读取脑电波,开启身心健康新时代》文章吧,也可关注golang学习网公众号了解相关技术文章。
科技昨夜今晨 0314:消息称小米汽车 SU7 顶配版价格超 30 万;北汽 x 华为,享界 S9 汽车申报图曝光;蔚来第二品牌有望为“乐道汽车”
- 上一篇
- 科技昨夜今晨 0314:消息称小米汽车 SU7 顶配版价格超 30 万;北汽 x 华为,享界 S9 汽车申报图曝光;蔚来第二品牌有望为“乐道汽车”
- 下一篇
- Win10右键没有bitlocker怎么加密?win10右键没有bitlocker问题解析
-
- 科技周边 · 业界新闻 | 1天前 | OpenAI gpt-6
- GPT-6对决DeepSeek V4,巅峰之战引爆AI圈
- 370浏览 收藏
-
- 科技周边 · 业界新闻 | 3星期前 | AI会导致失业吗
- AI不会失业?软件工程师岗位大增!
- 155浏览 收藏
-
- 科技周边 · 业界新闻 | 1个月前 | 微软 打印机
- Win11停用旧打印机驱动,多家厂商受影响
- 134浏览 收藏
-
- 科技周边 · 业界新闻 | 1个月前 |
- GPT-5.4将上线,支持百万字长文本与极限推理
- 158浏览 收藏
-
- 科技周边 · 业界新闻 | 1个月前 |
- ASML重组技术部,进军AI芯片封装市场
- 218浏览 收藏
-
- 科技周边 · 业界新闻 | 1个月前 |
- 三星S26水平锁定功能实测,手抖救星省六千云台费
- 105浏览 收藏
-
- 科技周边 · 业界新闻 | 1个月前 |
- Codex登陆Windows,多AI代理协作新体验
- 365浏览 收藏
-
- 科技周边 · 业界新闻 | 1个月前 |
- 高通布局机器人市场,CEO称两年内将迎增长高峰
- 226浏览 收藏
-
- 科技周边 · 业界新闻 | 1个月前 |
- iPhone17销量破2000万,领跑华为!
- 377浏览 收藏
-
- 科技周边 · 业界新闻 | 1个月前 |
- Google笔记变导演,NotebookLM生成动画片
- 150浏览 收藏
-
- 前端进阶之JavaScript设计模式
- 设计模式是开发人员在软件开发过程中面临一般问题时的解决方案,代表了最佳的实践。本课程的主打内容包括JS常见设计模式以及具体应用场景,打造一站式知识长龙服务,适合有JS基础的同学学习。
- 543次学习
-
- GO语言核心编程课程
- 本课程采用真实案例,全面具体可落地,从理论到实践,一步一步将GO核心编程技术、编程思想、底层实现融会贯通,使学习者贴近时代脉搏,做IT互联网时代的弄潮儿。
- 516次学习
-
- 简单聊聊mysql8与网络通信
- 如有问题加微信:Le-studyg;在课程中,我们将首先介绍MySQL8的新特性,包括性能优化、安全增强、新数据类型等,帮助学生快速熟悉MySQL8的最新功能。接着,我们将深入解析MySQL的网络通信机制,包括协议、连接管理、数据传输等,让
- 500次学习
-
- JavaScript正则表达式基础与实战
- 在任何一门编程语言中,正则表达式,都是一项重要的知识,它提供了高效的字符串匹配与捕获机制,可以极大的简化程序设计。
- 487次学习
-
- 从零制作响应式网站—Grid布局
- 本系列教程将展示从零制作一个假想的网络科技公司官网,分为导航,轮播,关于我们,成功案例,服务流程,团队介绍,数据部分,公司动态,底部信息等内容区块。网站整体采用CSSGrid布局,支持响应式,有流畅过渡和展现动画。
- 485次学习
-
- ChatExcel酷表
- ChatExcel酷表是由北京大学团队打造的Excel聊天机器人,用自然语言操控表格,简化数据处理,告别繁琐操作,提升工作效率!适用于学生、上班族及政府人员。
- 4517次使用
-
- Any绘本
- 探索Any绘本(anypicturebook.com/zh),一款开源免费的AI绘本创作工具,基于Google Gemini与Flux AI模型,让您轻松创作个性化绘本。适用于家庭、教育、创作等多种场景,零门槛,高自由度,技术透明,本地可控。
- 4867次使用
-
- 可赞AI
- 可赞AI,AI驱动的办公可视化智能工具,助您轻松实现文本与可视化元素高效转化。无论是智能文档生成、多格式文本解析,还是一键生成专业图表、脑图、知识卡片,可赞AI都能让信息处理更清晰高效。覆盖数据汇报、会议纪要、内容营销等全场景,大幅提升办公效率,降低专业门槛,是您提升工作效率的得力助手。
- 4743次使用
-
- 星月写作
- 星月写作是国内首款聚焦中文网络小说创作的AI辅助工具,解决网文作者从构思到变现的全流程痛点。AI扫榜、专属模板、全链路适配,助力新人快速上手,资深作者效率倍增。
- 6601次使用
-
- MagicLight
- MagicLight.ai是全球首款叙事驱动型AI动画视频创作平台,专注于解决从故事想法到完整动画的全流程痛点。它通过自研AI模型,保障角色、风格、场景高度一致性,让零动画经验者也能高效产出专业级叙事内容。广泛适用于独立创作者、动画工作室、教育机构及企业营销,助您轻松实现创意落地与商业化。
- 5104次使用
-
- Nothing品牌发布首个子品牌CMF,计划年底推出智能手表和耳机
- 2023-08-05 501浏览
-
- 中国气象局探讨促进人工智能气象预报大模型构建
- 2023-08-13 501浏览
-
- 强大性能搭配时尚外观:OPPO Reno 10系列手机正式开售!
- 2023-08-12 501浏览
-
- Trek推出Electra Pronto Go电动自行车,助力全球绿色出行浪潮
- 2023-08-23 501浏览
-
- 微软灵活升级计划:Win11 8月累积更新发布
- 2023-08-09 501浏览

