苹果新专利曝光:Vision Pro头显或内置视力矫正系统,夹片成过去式
来源:ITBear科技资讯
2024-04-23 22:51:30
0浏览
收藏
本篇文章给大家分享《苹果新专利曝光:Vision Pro头显或内置视力矫正系统,夹片成过去式》,覆盖了科技周边的常见基础知识,其实一个语言的全部知识点一篇文章是不可能说完的,但希望通过这些问题,让读者对自己的掌握程度有一定的认识(B 数),从而弥补自己的不足,更好的掌握它。
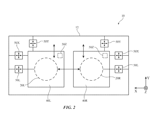
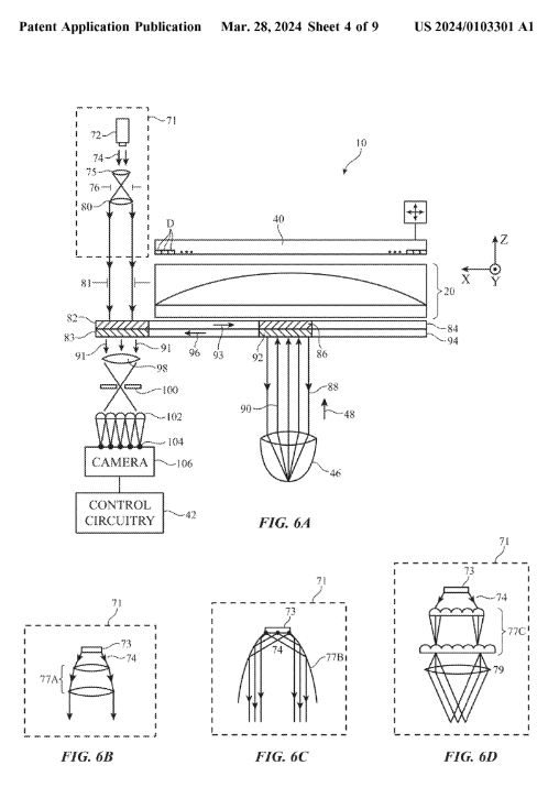
根据3月29日的消息,美国商标和专利局(USPTO)公布的最新清单显示,苹果公司已成功申请了一项名为Vision Pro头显相关的专利。这一专利的出现意味着,未来的Vision Pro头显有望内置视力矫正系统,从而摆脱对眼镜的依赖,为不同视力状态的用户提供更加个性化的使用体验。

目前,许多用户在购买Vision Pro头显时,需要额外配备蔡司的眼镜片以实现清晰观看。苹果公司的这项新专利描述了一种集成在头显中的视力矫正系统,希望为用户带来更为便捷和舒适的解决方案。


该专利被命名为《具有视力矫正的头显设备》,专利概述中详细描述了这一系统的工作原理,它利用一种传感系统来测量用户的眼睛特征,包括夏克-哈特曼(Shack-Hartmann)波前传感器等高精度设备,以准确评估用户的折射误差,如散光、远视和近视等。

申请专利时要进一步指出,该系统能够通过调整镜片以及显示屏与用户眼睛之间的相对位置来纠正这些屈光误差。苹果在专利文档中特别提到,Vision Pro头显可通过“Z轴定位器”精确调整显示屏与用户眼球的距离,同时配合水平方向上的可调圆柱透镜,以实现最高达-1.5屈光度的视力矫正效果。这一创新设计不仅提升了头显的适用性,也为视力不佳的用户带来了更多便利。
版本声明
本文转载于:ITBear科技资讯 如有侵犯,请联系study_golang@163.com删除
京东小时达免运费门槛降低至 29 元,最快 30 分钟送达
- 上一篇
- 京东小时达免运费门槛降低至 29 元,最快 30 分钟送达
- 下一篇
- 极越汽车:自称“买小米 SU7 被辞”员工实际以个人身份为竞品宣发且旷工
查看更多
最新文章
-
- 科技周边 · 业界新闻 | 9小时前 | c919零件通道 中美航天合作
- 200架波音换C919,国产零件持续供应!
- 345浏览 收藏
-
- 科技周边 · 业界新闻 | 11小时前 | win11
- Win11用户注意!木马威胁警告来袭
- 356浏览 收藏
-
- 科技周边 · 业界新闻 | 4天前 |
- 华为Mate 90双潜望长焦,10倍变焦来袭!
- 277浏览 收藏
-
- 科技周边 · 业界新闻 | 1星期前 | 神舟火箭发射
- 神舟二十三号待发,力箭一号一箭五星破百星
- 270浏览 收藏
-
- 科技周边 · 业界新闻 | 2星期前 | OpenAI gpt-6
- GPT-6对决DeepSeek V4,巅峰之战引爆AI圈
- 370浏览 收藏
-
- 科技周边 · 业界新闻 | 1个月前 | AI会导致失业吗
- AI不会失业?软件工程师岗位大增!
- 155浏览 收藏
-
- 科技周边 · 业界新闻 | 1个月前 | 微软 打印机
- Win11停用旧打印机驱动,多家厂商受影响
- 134浏览 收藏
-
- 科技周边 · 业界新闻 | 1个月前 |
- GPT-5.4将上线,支持百万字长文本与极限推理
- 158浏览 收藏
-
- 科技周边 · 业界新闻 | 1个月前 |
- ASML重组技术部,进军AI芯片封装市场
- 218浏览 收藏
-
- 科技周边 · 业界新闻 | 2个月前 |
- 三星S26水平锁定功能实测,手抖救星省六千云台费
- 105浏览 收藏
查看更多
课程推荐
-
- 前端进阶之JavaScript设计模式
- 设计模式是开发人员在软件开发过程中面临一般问题时的解决方案,代表了最佳的实践。本课程的主打内容包括JS常见设计模式以及具体应用场景,打造一站式知识长龙服务,适合有JS基础的同学学习。
- 543次学习
-
- GO语言核心编程课程
- 本课程采用真实案例,全面具体可落地,从理论到实践,一步一步将GO核心编程技术、编程思想、底层实现融会贯通,使学习者贴近时代脉搏,做IT互联网时代的弄潮儿。
- 516次学习
-
- 简单聊聊mysql8与网络通信
- 如有问题加微信:Le-studyg;在课程中,我们将首先介绍MySQL8的新特性,包括性能优化、安全增强、新数据类型等,帮助学生快速熟悉MySQL8的最新功能。接着,我们将深入解析MySQL的网络通信机制,包括协议、连接管理、数据传输等,让
- 500次学习
-
- JavaScript正则表达式基础与实战
- 在任何一门编程语言中,正则表达式,都是一项重要的知识,它提供了高效的字符串匹配与捕获机制,可以极大的简化程序设计。
- 487次学习
-
- 从零制作响应式网站—Grid布局
- 本系列教程将展示从零制作一个假想的网络科技公司官网,分为导航,轮播,关于我们,成功案例,服务流程,团队介绍,数据部分,公司动态,底部信息等内容区块。网站整体采用CSSGrid布局,支持响应式,有流畅过渡和展现动画。
- 485次学习
查看更多
AI推荐
-
- ChatExcel酷表
- ChatExcel酷表是由北京大学团队打造的Excel聊天机器人,用自然语言操控表格,简化数据处理,告别繁琐操作,提升工作效率!适用于学生、上班族及政府人员。
- 5886次使用
-
- Any绘本
- 探索Any绘本(anypicturebook.com/zh),一款开源免费的AI绘本创作工具,基于Google Gemini与Flux AI模型,让您轻松创作个性化绘本。适用于家庭、教育、创作等多种场景,零门槛,高自由度,技术透明,本地可控。
- 6319次使用
-
- 可赞AI
- 可赞AI,AI驱动的办公可视化智能工具,助您轻松实现文本与可视化元素高效转化。无论是智能文档生成、多格式文本解析,还是一键生成专业图表、脑图、知识卡片,可赞AI都能让信息处理更清晰高效。覆盖数据汇报、会议纪要、内容营销等全场景,大幅提升办公效率,降低专业门槛,是您提升工作效率的得力助手。
- 6126次使用
-
- 星月写作
- 星月写作是国内首款聚焦中文网络小说创作的AI辅助工具,解决网文作者从构思到变现的全流程痛点。AI扫榜、专属模板、全链路适配,助力新人快速上手,资深作者效率倍增。
- 8096次使用
-
- MagicLight
- MagicLight.ai是全球首款叙事驱动型AI动画视频创作平台,专注于解决从故事想法到完整动画的全流程痛点。它通过自研AI模型,保障角色、风格、场景高度一致性,让零动画经验者也能高效产出专业级叙事内容。广泛适用于独立创作者、动画工作室、教育机构及企业营销,助您轻松实现创意落地与商业化。
- 6557次使用
查看更多
相关文章
-
- Nothing品牌发布首个子品牌CMF,计划年底推出智能手表和耳机
- 2023-08-05 501浏览
-
- 中国气象局探讨促进人工智能气象预报大模型构建
- 2023-08-13 501浏览
-
- 强大性能搭配时尚外观:OPPO Reno 10系列手机正式开售!
- 2023-08-12 501浏览
-
- Trek推出Electra Pronto Go电动自行车,助力全球绿色出行浪潮
- 2023-08-23 501浏览
-
- 微软灵活升级计划:Win11 8月累积更新发布
- 2023-08-09 501浏览

