微软新专利:Windows系统屏幕共享可自定义隐藏应用
编程并不是一个机械性的工作,而是需要有思考,有创新的工作,语法是固定的,但解决问题的思路则是依靠人的思维,这就需要我们坚持学习和更新自己的知识。今天golang学习网就整理分享《微软新专利:Windows系统屏幕共享可自定义隐藏应用》,文章讲解的知识点主要包括,如果你对科技周边方面的知识点感兴趣,就不要错过golang学习网,在这可以对大家的知识积累有所帮助,助力开发能力的提升。
2022年4月26日消息,微软近日在美国商标和专利局(USPTO)获得了一项新的专利,该专利为Windows系统用户在进行屏幕共享等操作时,提供了自定义隐藏应用程序的功能。 该专利技术允许用户在屏幕共享的过程中选择性隐藏某些应用程序,以保护用户的隐私。用户可以根据自己的需求,选择性地隐藏正在运行的应用程序,而其他用户在共享屏幕时将无法看到这些被隐藏的应用程序。 这项功能有助于用户在共享屏幕时
在现代办公环境中,屏幕共享已成为团队协作、会议演示的重要工具。然而,当个人屏幕被共享时,私密信息如私人消息、通知等可能会被不慎暴露,造成尴尬或信息泄露的风险。微软的这项新专利正是为了解决这一问题而生。 该专利技术可以在共享屏幕上以微软软件为基础,实现内容的智能过滤或模糊化。这样一来,用户仍然可以方便地进行共享,而无需担心尴尬或信息泄露的情况发生。 这项技术的实现方法可以是通过在共享过程中,对屏幕内容进行实时检测和分析,识别出可能的敏

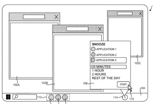
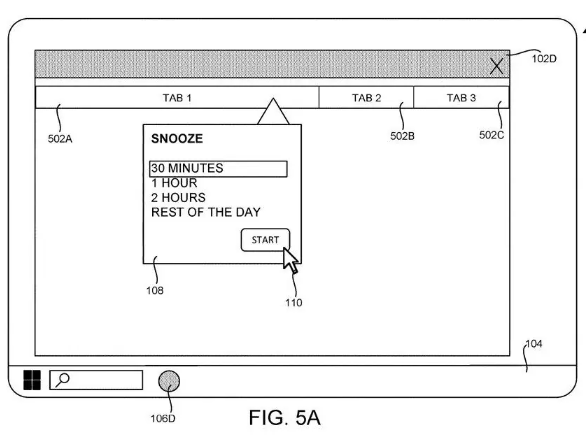
用户可以根据实际需求,设置应用程序的窗口或其他用户界面元素。用户可以根据实际需求,选择性地隐藏特定的应用程序窗口、选项卡或其他用户界面元素。用户可以根据实际需求,设置应用程序进入“休眠”状态,此时,被隐藏的应用将不会出现在共享屏幕上。休眠时间也可根据用户需求进行调整,包括30分钟、1小时、2小时或当天剩余时间等选项。

除此外,该技术还提供了一个独特的功能,即用户在共享屏幕时,可以选择隐藏特定的标签页或部分界面,同时将这些隐藏元素的标识符(如图标或标签)移动到一个不会被共享的区域,从而确保隐私信息不会在共享过程中泄露。
这项新专利不仅提高了屏幕共享时的信息安全性,也增强了用户在使用Windows系统时的灵活性和隐私保护能力。毫无疑问,这一创新功能将在未来的Windows系统更新中,为用户带来更加便捷、安全的体验。
诺基亚3210(2024)谍照流出,经典重生引期待
- 上一篇
- 诺基亚3210(2024)谍照流出,经典重生引期待
- 下一篇
- 腾势Z9 GT亮相在即:全景天幕与强劲三电机系统引期待
-
- 科技周边 · 业界新闻 | 2天前 |
- 华为Mate 90双潜望长焦,10倍变焦来袭!
- 277浏览 收藏
-
- 科技周边 · 业界新闻 | 1星期前 | 神舟火箭发射
- 神舟二十三号待发,力箭一号一箭五星破百星
- 270浏览 收藏
-
- 科技周边 · 业界新闻 | 2星期前 | OpenAI gpt-6
- GPT-6对决DeepSeek V4,巅峰之战引爆AI圈
- 370浏览 收藏
-
- 科技周边 · 业界新闻 | 1个月前 | AI会导致失业吗
- AI不会失业?软件工程师岗位大增!
- 155浏览 收藏
-
- 科技周边 · 业界新闻 | 1个月前 | 微软 打印机
- Win11停用旧打印机驱动,多家厂商受影响
- 134浏览 收藏
-
- 科技周边 · 业界新闻 | 1个月前 |
- GPT-5.4将上线,支持百万字长文本与极限推理
- 158浏览 收藏
-
- 科技周边 · 业界新闻 | 1个月前 |
- ASML重组技术部,进军AI芯片封装市场
- 218浏览 收藏
-
- 科技周边 · 业界新闻 | 1个月前 |
- 三星S26水平锁定功能实测,手抖救星省六千云台费
- 105浏览 收藏
-
- 科技周边 · 业界新闻 | 1个月前 |
- Codex登陆Windows,多AI代理协作新体验
- 365浏览 收藏
-
- 科技周边 · 业界新闻 | 1个月前 |
- 高通布局机器人市场,CEO称两年内将迎增长高峰
- 226浏览 收藏
-
- 前端进阶之JavaScript设计模式
- 设计模式是开发人员在软件开发过程中面临一般问题时的解决方案,代表了最佳的实践。本课程的主打内容包括JS常见设计模式以及具体应用场景,打造一站式知识长龙服务,适合有JS基础的同学学习。
- 543次学习
-
- GO语言核心编程课程
- 本课程采用真实案例,全面具体可落地,从理论到实践,一步一步将GO核心编程技术、编程思想、底层实现融会贯通,使学习者贴近时代脉搏,做IT互联网时代的弄潮儿。
- 516次学习
-
- 简单聊聊mysql8与网络通信
- 如有问题加微信:Le-studyg;在课程中,我们将首先介绍MySQL8的新特性,包括性能优化、安全增强、新数据类型等,帮助学生快速熟悉MySQL8的最新功能。接着,我们将深入解析MySQL的网络通信机制,包括协议、连接管理、数据传输等,让
- 500次学习
-
- JavaScript正则表达式基础与实战
- 在任何一门编程语言中,正则表达式,都是一项重要的知识,它提供了高效的字符串匹配与捕获机制,可以极大的简化程序设计。
- 487次学习
-
- 从零制作响应式网站—Grid布局
- 本系列教程将展示从零制作一个假想的网络科技公司官网,分为导航,轮播,关于我们,成功案例,服务流程,团队介绍,数据部分,公司动态,底部信息等内容区块。网站整体采用CSSGrid布局,支持响应式,有流畅过渡和展现动画。
- 485次学习
-
- ChatExcel酷表
- ChatExcel酷表是由北京大学团队打造的Excel聊天机器人,用自然语言操控表格,简化数据处理,告别繁琐操作,提升工作效率!适用于学生、上班族及政府人员。
- 5871次使用
-
- Any绘本
- 探索Any绘本(anypicturebook.com/zh),一款开源免费的AI绘本创作工具,基于Google Gemini与Flux AI模型,让您轻松创作个性化绘本。适用于家庭、教育、创作等多种场景,零门槛,高自由度,技术透明,本地可控。
- 6305次使用
-
- 可赞AI
- 可赞AI,AI驱动的办公可视化智能工具,助您轻松实现文本与可视化元素高效转化。无论是智能文档生成、多格式文本解析,还是一键生成专业图表、脑图、知识卡片,可赞AI都能让信息处理更清晰高效。覆盖数据汇报、会议纪要、内容营销等全场景,大幅提升办公效率,降低专业门槛,是您提升工作效率的得力助手。
- 6112次使用
-
- 星月写作
- 星月写作是国内首款聚焦中文网络小说创作的AI辅助工具,解决网文作者从构思到变现的全流程痛点。AI扫榜、专属模板、全链路适配,助力新人快速上手,资深作者效率倍增。
- 8081次使用
-
- MagicLight
- MagicLight.ai是全球首款叙事驱动型AI动画视频创作平台,专注于解决从故事想法到完整动画的全流程痛点。它通过自研AI模型,保障角色、风格、场景高度一致性,让零动画经验者也能高效产出专业级叙事内容。广泛适用于独立创作者、动画工作室、教育机构及企业营销,助您轻松实现创意落地与商业化。
- 6508次使用
-
- Nothing品牌发布首个子品牌CMF,计划年底推出智能手表和耳机
- 2023-08-05 501浏览
-
- 中国气象局探讨促进人工智能气象预报大模型构建
- 2023-08-13 501浏览
-
- 强大性能搭配时尚外观:OPPO Reno 10系列手机正式开售!
- 2023-08-12 501浏览
-
- Trek推出Electra Pronto Go电动自行车,助力全球绿色出行浪潮
- 2023-08-23 501浏览
-
- 微软灵活升级计划:Win11 8月累积更新发布
- 2023-08-09 501浏览

