捷捷微电“一种纵向变掺杂的IGBT结构及制备方法”专利公布
2024-12-24 19:51:49
0浏览
收藏
从现在开始,努力学习吧!本文《捷捷微电“一种纵向变掺杂的IGBT结构及制备方法”专利公布》主要讲解了等等相关知识点,我会在golang学习网中持续更新相关的系列文章,欢迎大家关注并积极留言建议。下面就先一起来看一下本篇正文内容吧,希望能帮到你!
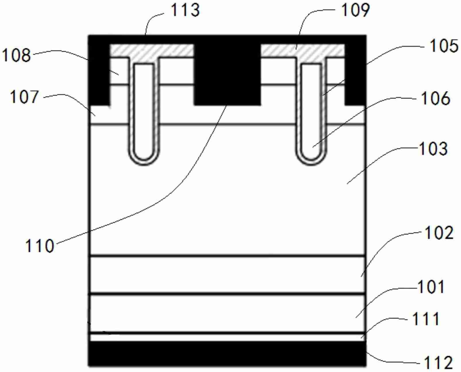
江苏捷捷微电子股份有限公司近日公布一项名为“一种纵向变掺杂的IGBT结构及制备方法”的专利(申请公布号:CN118969825A),申请公布日为2024年11月15日。

该专利属于半导体技术领域,尤其关注IGBT器件的结构和制备工艺。其核心在于一种创新的纵向变掺杂IGBT结构,该结构包含:第一导电类型的半导体衬底;衬底正面设置的元胞区;以及衬底背面与集电极结构之间的过渡区。 过渡区由电场缓变层和场截止层构成,其中电场缓变层为第一导电类型的变掺杂层,场截止层为第一导电类型的重掺杂层,集电极结构则位于场截止层背面。 这种设计旨在有效避免因后续电场抬高而导致的器件失效问题。
以上就是《捷捷微电“一种纵向变掺杂的IGBT结构及制备方法”专利公布》的详细内容,更多关于捷捷微电的资料请关注golang学习网公众号!
12 月充满了定义加密货币 5 的事件
- 上一篇
- 12 月充满了定义加密货币 5 的事件
- 下一篇
- 全面解析电脑QQ空间直播:操作指南与实用技巧
查看更多
最新文章
-
- 科技周边 · 人工智能 | 7小时前 |
- Poe机器人创建教程:自定义Bot提示词设置
- 464浏览 收藏
-
- 科技周边 · 人工智能 | 8小时前 |
- 豆包千问联动,Prompt破解复杂任务
- 389浏览 收藏
-
- 科技周边 · 人工智能 | 8小时前 |
- 提示词防御是什么?防止Gemini提示泄露指南
- 401浏览 收藏
-
- 科技周边 · 人工智能 | 8小时前 | Capybara
- CapybaraAI提醒设置教程与通知配置
- 344浏览 收藏
-
- 科技周边 · 人工智能 | 8小时前 |
- AI视频生成工具免费使用推荐
- 130浏览 收藏
-
- 科技周边 · 人工智能 | 8小时前 | 骡子快跑
- 骡子快跑怎么添加页码和排版技巧
- 178浏览 收藏
-
- 科技周边 · 人工智能 | 8小时前 |
- 百度AI如何识别用户隐含需求?
- 166浏览 收藏
-
- 科技周边 · 人工智能 | 8小时前 |
- AI去杂物操作教程详解
- 212浏览 收藏
-
- 科技周边 · 人工智能 | 9小时前 |
- AI写邮件技巧:商务邮件模板大全
- 411浏览 收藏
-
- 科技周边 · 人工智能 | 9小时前 |
- AI防御指南:防范恶意攻击全解析
- 235浏览 收藏
-
- 科技周边 · 人工智能 | 9小时前 | 骡子快跑
- 骡子快跑合作方案模板参考
- 192浏览 收藏
-
- 科技周边 · 人工智能 | 9小时前 |
- WorkBuddy非法IP提示怎么处理?
- 150浏览 收藏
查看更多
课程推荐
-
- 前端进阶之JavaScript设计模式
- 设计模式是开发人员在软件开发过程中面临一般问题时的解决方案,代表了最佳的实践。本课程的主打内容包括JS常见设计模式以及具体应用场景,打造一站式知识长龙服务,适合有JS基础的同学学习。
- 543次学习
-
- GO语言核心编程课程
- 本课程采用真实案例,全面具体可落地,从理论到实践,一步一步将GO核心编程技术、编程思想、底层实现融会贯通,使学习者贴近时代脉搏,做IT互联网时代的弄潮儿。
- 516次学习
-
- 简单聊聊mysql8与网络通信
- 如有问题加微信:Le-studyg;在课程中,我们将首先介绍MySQL8的新特性,包括性能优化、安全增强、新数据类型等,帮助学生快速熟悉MySQL8的最新功能。接着,我们将深入解析MySQL的网络通信机制,包括协议、连接管理、数据传输等,让
- 500次学习
-
- JavaScript正则表达式基础与实战
- 在任何一门编程语言中,正则表达式,都是一项重要的知识,它提供了高效的字符串匹配与捕获机制,可以极大的简化程序设计。
- 487次学习
-
- 从零制作响应式网站—Grid布局
- 本系列教程将展示从零制作一个假想的网络科技公司官网,分为导航,轮播,关于我们,成功案例,服务流程,团队介绍,数据部分,公司动态,底部信息等内容区块。网站整体采用CSSGrid布局,支持响应式,有流畅过渡和展现动画。
- 485次学习
查看更多
AI推荐
-
- ChatExcel酷表
- ChatExcel酷表是由北京大学团队打造的Excel聊天机器人,用自然语言操控表格,简化数据处理,告别繁琐操作,提升工作效率!适用于学生、上班族及政府人员。
- 4365次使用
-
- Any绘本
- 探索Any绘本(anypicturebook.com/zh),一款开源免费的AI绘本创作工具,基于Google Gemini与Flux AI模型,让您轻松创作个性化绘本。适用于家庭、教育、创作等多种场景,零门槛,高自由度,技术透明,本地可控。
- 4714次使用
-
- 可赞AI
- 可赞AI,AI驱动的办公可视化智能工具,助您轻松实现文本与可视化元素高效转化。无论是智能文档生成、多格式文本解析,还是一键生成专业图表、脑图、知识卡片,可赞AI都能让信息处理更清晰高效。覆盖数据汇报、会议纪要、内容营销等全场景,大幅提升办公效率,降低专业门槛,是您提升工作效率的得力助手。
- 4591次使用
-
- 星月写作
- 星月写作是国内首款聚焦中文网络小说创作的AI辅助工具,解决网文作者从构思到变现的全流程痛点。AI扫榜、专属模板、全链路适配,助力新人快速上手,资深作者效率倍增。
- 6327次使用
-
- MagicLight
- MagicLight.ai是全球首款叙事驱动型AI动画视频创作平台,专注于解决从故事想法到完整动画的全流程痛点。它通过自研AI模型,保障角色、风格、场景高度一致性,让零动画经验者也能高效产出专业级叙事内容。广泛适用于独立创作者、动画工作室、教育机构及企业营销,助您轻松实现创意落地与商业化。
- 4978次使用
查看更多
相关文章
-
- GPT-4王者加冕!读图做题性能炸天,凭自己就能考上斯坦福
- 2023-04-25 501浏览
-
- 单块V100训练模型提速72倍!尤洋团队新成果获AAAI 2023杰出论文奖
- 2023-04-24 501浏览
-
- ChatGPT 真的会接管世界吗?
- 2023-04-13 501浏览
-
- VR的终极形态是「假眼」?Neuralink前联合创始人掏出新产品:科学之眼!
- 2023-04-30 501浏览
-
- 实现实时制造可视性优势有哪些?
- 2023-04-15 501浏览

