B-Tree、B+Tree以及B-link Tree
积累知识,胜过积蓄金银!毕竟在##column_title##开发的过程中,会遇到各种各样的问题,往往都是一些细节知识点还没有掌握好而导致的,因此基础知识点的积累是很重要的。下面本文《B-Tree、B+Tree以及B-link Tree》,就带大家讲解一下MySQL、数据库知识点,若是你对本文感兴趣,或者是想搞懂其中某个知识点,就请你继续往下看吧~
B+Tree自从发明以来就成为了各种数据库引擎的首选,虽然近些年来LSM-Tree结构的数据库如雨后春笋般涌现,但B+Tree由于其优异性能以及各场景中均衡的性能表现,依然是各数据库的首选项。
但B+ Tree也并非毫无缺点,作为一种平衡多叉树结构,其优势是在数据量大时也能保持较低的树高,因而其无论查询或者是更新其代价均较低。但树的一大弊端是在更新时会触发结构调整,这种结构调整最长可能从叶子节点延伸至根节点,而这种树结构的调整会阻塞并发的读写操作,进而导致性能衰退。因此,如何优化B+ Tree在该场景下的并发访问性能也是学术界和工业界的一个重要的研究方向。
本文对于B-Tree和B+Tree进行了一个简单的介绍,并且重点介绍了在B+Tree的基础上提出的一种称之为B-link Tree的数据结构,通过一种比较巧妙的方法优化了B+ Tree结构调整时的锁粒度,提升并发度,保持高并发下的性能稳定。
一、B Tree和B+Tree
B-Tree是为磁盘等外存储设备设计的一种平衡查找树。因此在讲B-Tree之前先了解下磁盘的相关知识。
系统从磁盘读取数据到内存时是以磁盘块(block)为基本单位的,位于同一个磁盘块中的数据会被一次性读取出来,而不是需要什么取什么。
InnoDB存储引擎中有页(Page)的概念,页是其磁盘管理的最小单位。InnoDB存储引擎中默认每个页的大小为16KB,可通过参数innodb_page_size将页的大小设置为4K、8K、16K,在MySQL中可通过如下命令查看页的大小:
mysql> show variables like 'innodb_page_size';
而系统一个磁盘块的存储空间往往没有这么大,因此InnoDB每次申请磁盘空间时都会是若干地址连续磁盘块来达到页的大小16KB。InnoDB在把磁盘数据读入到磁盘时会以页为基本单位,在查询数据时如果一个页中的每条数据都能有助于定位数据记录的位置,这将会减少磁盘I/O次数,提高查询效率。
B-Tree结构的数据可以让系统高效的找到数据所在的磁盘块。为了描述B-Tree,首先定义一条记录为一个二元组[key, data] ,key为记录的键值,对应表中的主键值,data为一行记录中除主键外的数据。对于不同的记录,key值互不相同。
B-Tree中的每个节点根据实际情况可以包含大量的关键字信息和分支,如下图所示为一个3阶的B-Tree:

每个节点占用一个盘块的磁盘空间,一个节点上有两个升序排序的关键字和三个指向子树根节点的指针,指针存储的是子节点所在磁盘块的地址。两个关键词划分成的三个范围域对应三个指针指向的子树的数据的范围域。以根节点为例,关键字为17和35,P1指针指向的子树的数据范围为小于17,P2指针指向的子树的数据范围为17~35,P3指针指向的子树的数据范围为大于35。
B+Tree是在B-Tree基础上的一种优化,使其更适合实现外存储索引结构,InnoDB存储引擎就是用B+Tree实现其索引结构。
从B-Tree结构图中可以看到每个节点中不仅包含数据的key值,还有data值。而每一个页的存储空间是有限的,如果data数据较大时将会导致每个节点(即一个页)能存储的key的数量很小,当存储的数据量很大时同样会导致B-Tree的深度较大,增大查询时的磁盘I/O次数,进而影响查询效率。在B+Tree中,所有数据记录节点都是按照键值大小顺序存放在同一层的叶子节点上,而非叶子节点上只存储key值信息,这样可以大大加大每个节点存储的key值数量,降低B+Tree的高度。
由于B+Tree的非叶子节点只存储键值信息,假设每个磁盘块能存储4个键值及指针信息,则变成B+Tree后其结构如下图所示:

通常在B+Tree上有两个头指针,一个指向根节点,另一个指向关键字最小的叶子节点,而且所有叶子节点(即数据节点)之间是一种链式环结构。因此可以对B+Tree进行两种查找运算:一种是对于主键的范围查找和分页查找,另一种是从根节点开始,进行随机查找。
B+Tree相对于B-Tree有的不同可以通过如下几点进行归纳:
- 非叶子节点只存储键值信息
- 所有叶子节点之间都有一个链指针
- 数据记录都存放在叶子节点中
二、B-Link Tree的核心主张
第一,在中间节点增加字段link pointer,指向右兄弟节点,B-link Tree的名字也由此而来。
第二,在每个节点内增加一个字段high key,在查询时如果目标值超过该节点的high key,就需要循着link pointer继续往后继节点查找。
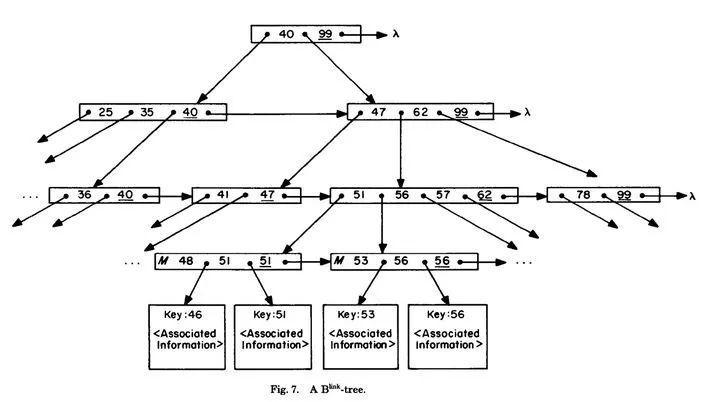
一棵典型的B-link Tree如下:

图中我们看到,每个中间节点也增加了一个后继指针指向其右兄弟节点,如果要查询的值超过该节点内的high key,那么还需要查询其后继节点。
我们举例说明B-link Tree的优势。假设有下面这样一颗B+ Tree且叶子节点y已满:

假如此时线程A要查询15,而线程B要在节点y内插入值9,我们看下面的执行序列:

如果不作任何的并发保护,就会出现由于节点分裂而导致访问了错误叶子节点进而查找的目标值不存在问题,很明显这与实际情况不符。
最简单的方案是在树结构调整时使用全局锁住整棵B+ Tree,阻止一切并发访问直到树结构调整完毕,InnoDB早期也是采取了该做法,当然这会导致性能特别差。
而B-link Tree则拒绝全局锁这一做法。它执行一种自底向上的调整方法,每次只对当前调整节点加锁,当子节点调整完毕后再向上回溯调整父节点,直到所有调整完毕。
下图演示了插入新记录引发的节点分裂过程:首先创建新节点,将原节点上的部分数据拷贝至新节点,建立这两个节点的连接关系(这个步骤最为关键),最后再向其父节点插入新的索引节点(图中d和e)。

B-link Tree这种无需加锁的设计可能导致的问题是父节点视图(尚未插入新索引)和已经分裂的子节点不一致,那它是如何解决上面提出的问题呢?
这时候link pointer便显示出了价值。如果其他线程在子节点修改完成后但父节点修改前访问,顺着父节点查询到旧的子节点时可能查不到已有数据,此时就需要沿着该子节点通过其link pointer找到正确的访问路径。
同样还是上面的例子:

当节点y分裂成为y和y+两个节点后,而父节点x中尚未体现出这种分裂,此时查找15,顺着x找到节点y,在y中未能找到15,但判断15大于其中记录的high key,于是顺着指针找到其后继节点y+,最终找到该值,因而能确保正确性。
在B-link Tree的分裂方案中并没有对涉及分裂的子树加全局锁,但通过节点的右连接指针也可以正确地进行查找。
三、B-link Tree优劣势总结
B-link Tree的优势在于树结构调整时无需对全局或者局部子树加锁,进而有利于高并发下的性能稳定性。
而B-link Tree的劣势则主要集中在以下两个方面:
第一,每个节点增加额外字段,link pointer和high key,但代价不大;
第二,查询时需要额外判断,如果查询找超过high key,需要额外通过link pointer查询其后继节点,在数据库应用中可能会产生一次额外的IO,从而造成单次查找性能的下降,但由于树结构调整是一个频率较低的动作,而且查询后继节点的操作也只会发生在子节点调整和父节点调整过程之间,一旦父节点调整完毕,就可以通过父节点的指针直接查询了而无需再通过子节点的后继指针查找。
总结来看,B-link Tree通过空间换时间,在每个中间节点也增加后继指针来避免在树结构调整时全局加锁而带来性能衰退,这是一种很优秀的方案,在GreenPlum中就使用了B-link Tree来作为其存储引擎的索引。
终于介绍完啦!小伙伴们,这篇关于《B-Tree、B+Tree以及B-link Tree》的介绍应该让你收获多多了吧!欢迎大家收藏或分享给更多需要学习的朋友吧~golang学习网公众号也会发布数据库相关知识,快来关注吧!
容器化 | 基于 Kubernetes 的新一代 MySQL 高可用架构实现方案
- 上一篇
- 容器化 | 基于 Kubernetes 的新一代 MySQL 高可用架构实现方案
- 下一篇
- node和mysql的CURD总结
-
- 数据库 · MySQL | 6天前 |
- MySQL存储引擎是什么?作用有哪些?
- 166浏览 收藏
-
- 数据库 · MySQL | 1星期前 |
- MySQL创建数据库的完整步骤详解
- 287浏览 收藏
-
- 数据库 · MySQL | 1星期前 |
- MySQL创建数据库及字符集设置方法
- 159浏览 收藏
-
- 数据库 · MySQL | 3星期前 |
- MySQL常用数据类型有哪些及如何选择
- 187浏览 收藏
-
- 数据库 · MySQL | 3星期前 |
- MySQL查询缓存如何开启?有什么好处?
- 285浏览 收藏
-
- 数据库 · MySQL | 1个月前 |
- MySQL创建数据库全流程详解
- 370浏览 收藏
-
- 数据库 · MySQL | 1个月前 |
- MySQL建库建表完整步骤详解
- 106浏览 收藏
-
- 数据库 · MySQL | 1个月前 |
- MySQL权限管理设置全攻略
- 501浏览 收藏
-
- 数据库 · MySQL | 1个月前 |
- MySQL事务是什么?如何保证数据一致性?
- 276浏览 收藏
-
- 数据库 · MySQL | 1个月前 |
- MySQL创建带约束表的实例详解
- 110浏览 收藏
-
- 数据库 · MySQL | 2个月前 |
- MySQL常用存储引擎及InnoDB与MyISAM对比分析
- 184浏览 收藏
-
- 数据库 · MySQL | 2个月前 |
- MySQL连接池配置与优化方法
- 147浏览 收藏
-
- 前端进阶之JavaScript设计模式
- 设计模式是开发人员在软件开发过程中面临一般问题时的解决方案,代表了最佳的实践。本课程的主打内容包括JS常见设计模式以及具体应用场景,打造一站式知识长龙服务,适合有JS基础的同学学习。
- 543次学习
-
- GO语言核心编程课程
- 本课程采用真实案例,全面具体可落地,从理论到实践,一步一步将GO核心编程技术、编程思想、底层实现融会贯通,使学习者贴近时代脉搏,做IT互联网时代的弄潮儿。
- 516次学习
-
- 简单聊聊mysql8与网络通信
- 如有问题加微信:Le-studyg;在课程中,我们将首先介绍MySQL8的新特性,包括性能优化、安全增强、新数据类型等,帮助学生快速熟悉MySQL8的最新功能。接着,我们将深入解析MySQL的网络通信机制,包括协议、连接管理、数据传输等,让
- 500次学习
-
- JavaScript正则表达式基础与实战
- 在任何一门编程语言中,正则表达式,都是一项重要的知识,它提供了高效的字符串匹配与捕获机制,可以极大的简化程序设计。
- 487次学习
-
- 从零制作响应式网站—Grid布局
- 本系列教程将展示从零制作一个假想的网络科技公司官网,分为导航,轮播,关于我们,成功案例,服务流程,团队介绍,数据部分,公司动态,底部信息等内容区块。网站整体采用CSSGrid布局,支持响应式,有流畅过渡和展现动画。
- 485次学习
-
- ChatExcel酷表
- ChatExcel酷表是由北京大学团队打造的Excel聊天机器人,用自然语言操控表格,简化数据处理,告别繁琐操作,提升工作效率!适用于学生、上班族及政府人员。
- 5408次使用
-
- Any绘本
- 探索Any绘本(anypicturebook.com/zh),一款开源免费的AI绘本创作工具,基于Google Gemini与Flux AI模型,让您轻松创作个性化绘本。适用于家庭、教育、创作等多种场景,零门槛,高自由度,技术透明,本地可控。
- 5777次使用
-
- 可赞AI
- 可赞AI,AI驱动的办公可视化智能工具,助您轻松实现文本与可视化元素高效转化。无论是智能文档生成、多格式文本解析,还是一键生成专业图表、脑图、知识卡片,可赞AI都能让信息处理更清晰高效。覆盖数据汇报、会议纪要、内容营销等全场景,大幅提升办公效率,降低专业门槛,是您提升工作效率的得力助手。
- 5660次使用
-
- 星月写作
- 星月写作是国内首款聚焦中文网络小说创作的AI辅助工具,解决网文作者从构思到变现的全流程痛点。AI扫榜、专属模板、全链路适配,助力新人快速上手,资深作者效率倍增。
- 7614次使用
-
- MagicLight
- MagicLight.ai是全球首款叙事驱动型AI动画视频创作平台,专注于解决从故事想法到完整动画的全流程痛点。它通过自研AI模型,保障角色、风格、场景高度一致性,让零动画经验者也能高效产出专业级叙事内容。广泛适用于独立创作者、动画工作室、教育机构及企业营销,助您轻松实现创意落地与商业化。
- 6057次使用
-
- golang MySQL实现对数据库表存储获取操作示例
- 2022-12-22 499浏览
-
- 搞一个自娱自乐的博客(二) 架构搭建
- 2023-02-16 244浏览
-
- B-Tree、B+Tree以及B-link Tree
- 2023-01-19 235浏览
-
- mysql面试题
- 2023-01-17 157浏览
-
- MySQL数据表简单查询
- 2023-01-10 101浏览

