【专利】荣耀“减震结构和可折叠设备”专利公布;宁德新能源“二次电池及其封装方法、封头”专利公布
学习科技周边要努力,但是不要急!今天的这篇文章《【专利】荣耀“减震结构和可折叠设备”专利公布;宁德新能源“二次电池及其封装方法、封头”专利公布》将会介绍到等等知识点,如果你想深入学习科技周边,可以关注我!我会持续更新相关文章的,希望对大家都能有所帮助!
多家企业公布最新专利技术,涵盖折叠屏、电池、芯片等领域
近期,多家科技公司公布了多项专利技术,展现了在折叠屏手机、电池技术、芯片制造等领域的最新进展。这些专利涵盖了材料、工艺和控制方法等多个方面,预示着相关产业技术的不断革新。
1. 荣耀折叠屏减震技术专利公布
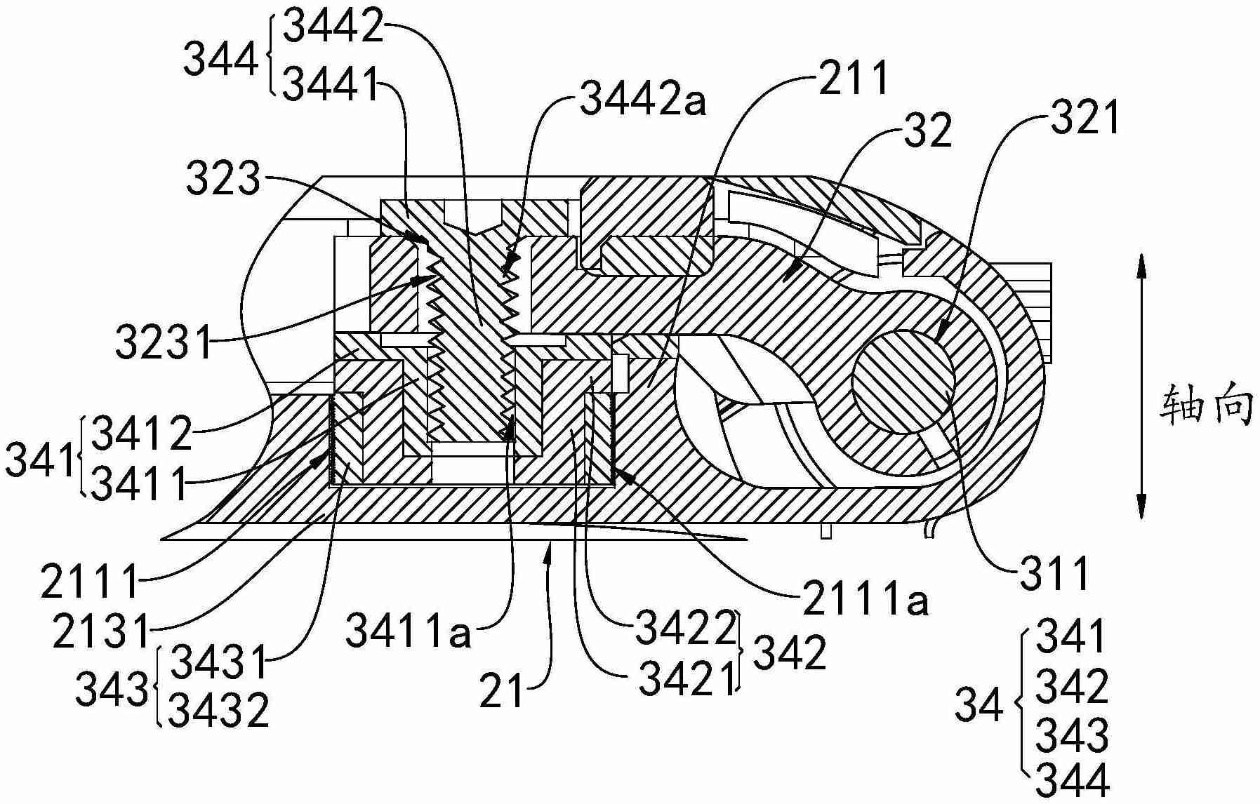
荣耀终端有限公司公布了一项关于“减震结构和可折叠设备”的专利(申请公布号:CN118963489A)。该专利旨在提升折叠屏手机的耐用性,通过特殊的减震结构快速吸收外部冲击力,有效降低设备晃动,提高稳定性。

2. 宁德时代二次电池封装技术专利公布
宁德新能源科技有限公司公布了“二次电池及其封装方法、封头”专利(申请公布号:CN118970301A)。这项专利技术着重于提升二次电池的封装强度和安全性,降低漏液风险,并提高热压封装效率和效果。

3. 士兰微LLC谐振变换器恒流控制专利授权
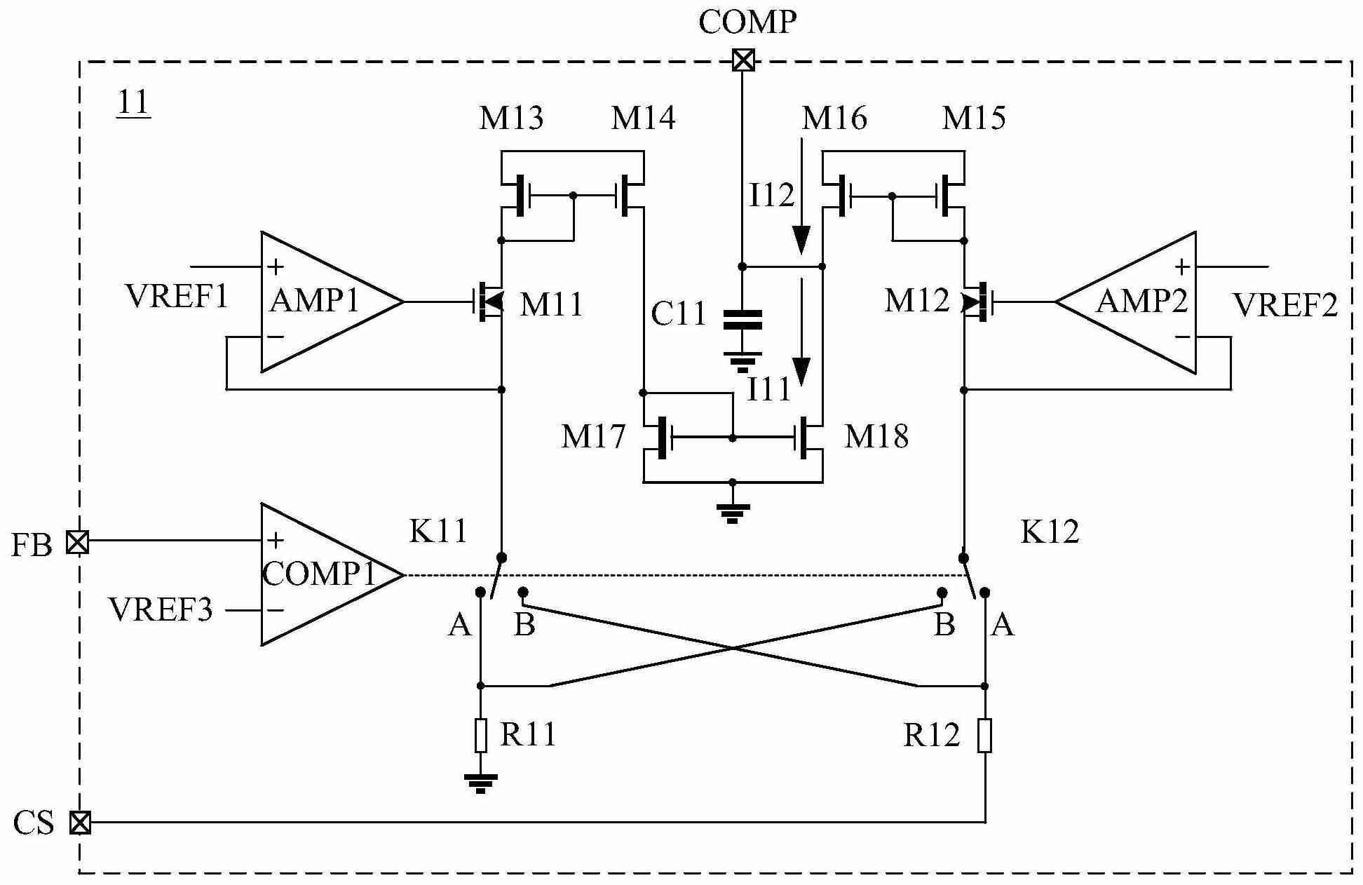
杭州士兰微电子股份有限公司获得“用于LLC谐振变换器的恒流控制电路及恒流控制方法”专利授权(授权公告号:CN109639151B)。该专利技术应用于LLC谐振变换器,旨在提高恒流控制精度,尤其在复杂的电路组合中表现出色。

4. 捷捷微电IGBT结构及制备方法专利公布
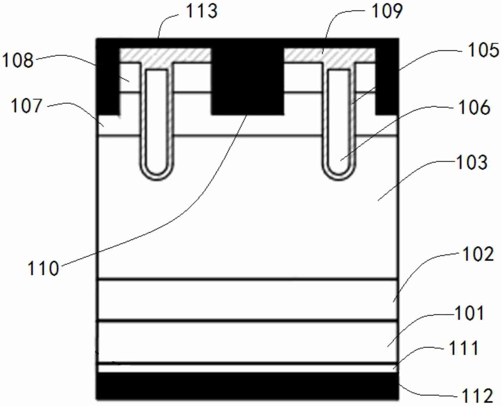
江苏捷捷微电子股份有限公司公布了“一种纵向变掺杂的IGBT结构及制备方法”专利(申请公布号:CN118969825A)。这项专利技术旨在改进IGBT结构,避免器件失效,提升其性能和可靠性。

5. 派恩杰碳化硅晶圆衬底制备方法专利公布
派恩杰半导体(浙江)有限公司公布了“一种碳化硅晶圆衬底的制备方法及碳化硅晶圆衬底”专利(申请公布号:CN118969603A)。该专利技术提出了一种新型的碳化硅晶圆衬底制备方法,降低成本并提升效率。

这些专利技术的公布和授权,标志着中国科技企业在核心技术领域的持续突破,为相关产业的未来发展提供了强有力的技术支撑。
好了,本文到此结束,带大家了解了《【专利】荣耀“减震结构和可折叠设备”专利公布;宁德新能源“二次电池及其封装方法、封头”专利公布》,希望本文对你有所帮助!关注golang学习网公众号,给大家分享更多科技周边知识!
上海大模型与具身智能基金齐发,首期规模均为10亿元
- 上一篇
- 上海大模型与具身智能基金齐发,首期规模均为10亿元
- 下一篇
- win10怎么设置动态锁 win10设置动态锁的操作方法
-
- 科技周边 · 人工智能 | 1分钟前 |
- DeepSeek API温度参数设置方法
- 378浏览 收藏
-
- 科技周边 · 人工智能 | 15分钟前 |
- Kimi快速分析竞品脚本,生成优化方案指南
- 395浏览 收藏
-
- 科技周边 · 人工智能 | 19分钟前 |
- AI自动剪辑视频教程:批量合成素材技巧
- 269浏览 收藏
-
- 科技周边 · 人工智能 | 21分钟前 | Workbuddy
- WorkBuddy开机自启设置教程
- 450浏览 收藏
-
- 科技周边 · 人工智能 | 21分钟前 |
- 节奏词提示控叙事速,NovelAI使用教程
- 116浏览 收藏
-
- 科技周边 · 人工智能 | 24分钟前 |
- Canva AI一键生成节日海报,多平台适配超简单
- 173浏览 收藏
-
- 科技周边 · 人工智能 | 36分钟前 |
- Gemini翻译为何更自然?实测对比传统工具
- 281浏览 收藏
-
- 科技周边 · 人工智能 | 38分钟前 |
- 可灵AI双人互动视频生成技巧
- 356浏览 收藏
-
- 科技周边 · 人工智能 | 45分钟前 |
- 骡子快跑鼠标点击位置设置方法
- 314浏览 收藏
-
- 科技周边 · 人工智能 | 1小时前 |
- InVideoAI怎么修改视频内容?操作技巧分享
- 479浏览 收藏
-
- 科技周边 · 人工智能 | 1小时前 |
- 多 Provider 备份教程:Google Cloud 部署 AI 冗余方案
- 218浏览 收藏
-
- 科技周边 · 人工智能 | 1小时前 |
- GravitDesigner导入PS混合模式有效吗
- 175浏览 收藏
-
- 前端进阶之JavaScript设计模式
- 设计模式是开发人员在软件开发过程中面临一般问题时的解决方案,代表了最佳的实践。本课程的主打内容包括JS常见设计模式以及具体应用场景,打造一站式知识长龙服务,适合有JS基础的同学学习。
- 543次学习
-
- GO语言核心编程课程
- 本课程采用真实案例,全面具体可落地,从理论到实践,一步一步将GO核心编程技术、编程思想、底层实现融会贯通,使学习者贴近时代脉搏,做IT互联网时代的弄潮儿。
- 516次学习
-
- 简单聊聊mysql8与网络通信
- 如有问题加微信:Le-studyg;在课程中,我们将首先介绍MySQL8的新特性,包括性能优化、安全增强、新数据类型等,帮助学生快速熟悉MySQL8的最新功能。接着,我们将深入解析MySQL的网络通信机制,包括协议、连接管理、数据传输等,让
- 500次学习
-
- JavaScript正则表达式基础与实战
- 在任何一门编程语言中,正则表达式,都是一项重要的知识,它提供了高效的字符串匹配与捕获机制,可以极大的简化程序设计。
- 487次学习
-
- 从零制作响应式网站—Grid布局
- 本系列教程将展示从零制作一个假想的网络科技公司官网,分为导航,轮播,关于我们,成功案例,服务流程,团队介绍,数据部分,公司动态,底部信息等内容区块。网站整体采用CSSGrid布局,支持响应式,有流畅过渡和展现动画。
- 485次学习
-
- ChatExcel酷表
- ChatExcel酷表是由北京大学团队打造的Excel聊天机器人,用自然语言操控表格,简化数据处理,告别繁琐操作,提升工作效率!适用于学生、上班族及政府人员。
- 4249次使用
-
- Any绘本
- 探索Any绘本(anypicturebook.com/zh),一款开源免费的AI绘本创作工具,基于Google Gemini与Flux AI模型,让您轻松创作个性化绘本。适用于家庭、教育、创作等多种场景,零门槛,高自由度,技术透明,本地可控。
- 4606次使用
-
- 可赞AI
- 可赞AI,AI驱动的办公可视化智能工具,助您轻松实现文本与可视化元素高效转化。无论是智能文档生成、多格式文本解析,还是一键生成专业图表、脑图、知识卡片,可赞AI都能让信息处理更清晰高效。覆盖数据汇报、会议纪要、内容营销等全场景,大幅提升办公效率,降低专业门槛,是您提升工作效率的得力助手。
- 4491次使用
-
- 星月写作
- 星月写作是国内首款聚焦中文网络小说创作的AI辅助工具,解决网文作者从构思到变现的全流程痛点。AI扫榜、专属模板、全链路适配,助力新人快速上手,资深作者效率倍增。
- 6175次使用
-
- MagicLight
- MagicLight.ai是全球首款叙事驱动型AI动画视频创作平台,专注于解决从故事想法到完整动画的全流程痛点。它通过自研AI模型,保障角色、风格、场景高度一致性,让零动画经验者也能高效产出专业级叙事内容。广泛适用于独立创作者、动画工作室、教育机构及企业营销,助您轻松实现创意落地与商业化。
- 4863次使用
-
- GPT-4王者加冕!读图做题性能炸天,凭自己就能考上斯坦福
- 2023-04-25 501浏览
-
- 单块V100训练模型提速72倍!尤洋团队新成果获AAAI 2023杰出论文奖
- 2023-04-24 501浏览
-
- ChatGPT 真的会接管世界吗?
- 2023-04-13 501浏览
-
- VR的终极形态是「假眼」?Neuralink前联合创始人掏出新产品:科学之眼!
- 2023-04-30 501浏览
-
- 实现实时制造可视性优势有哪些?
- 2023-04-15 501浏览

