荣耀“折叠组件及折叠式显示设备”专利公布
2025-01-08 08:09:17
0浏览
收藏
学习知识要善于思考,思考,再思考!今天golang学习网小编就给大家带来《荣耀“折叠组件及折叠式显示设备”专利公布》,以下内容主要包含等知识点,如果你正在学习或准备学习科技周边,就都不要错过本文啦~让我们一起来看看吧,能帮助到你就更好了!
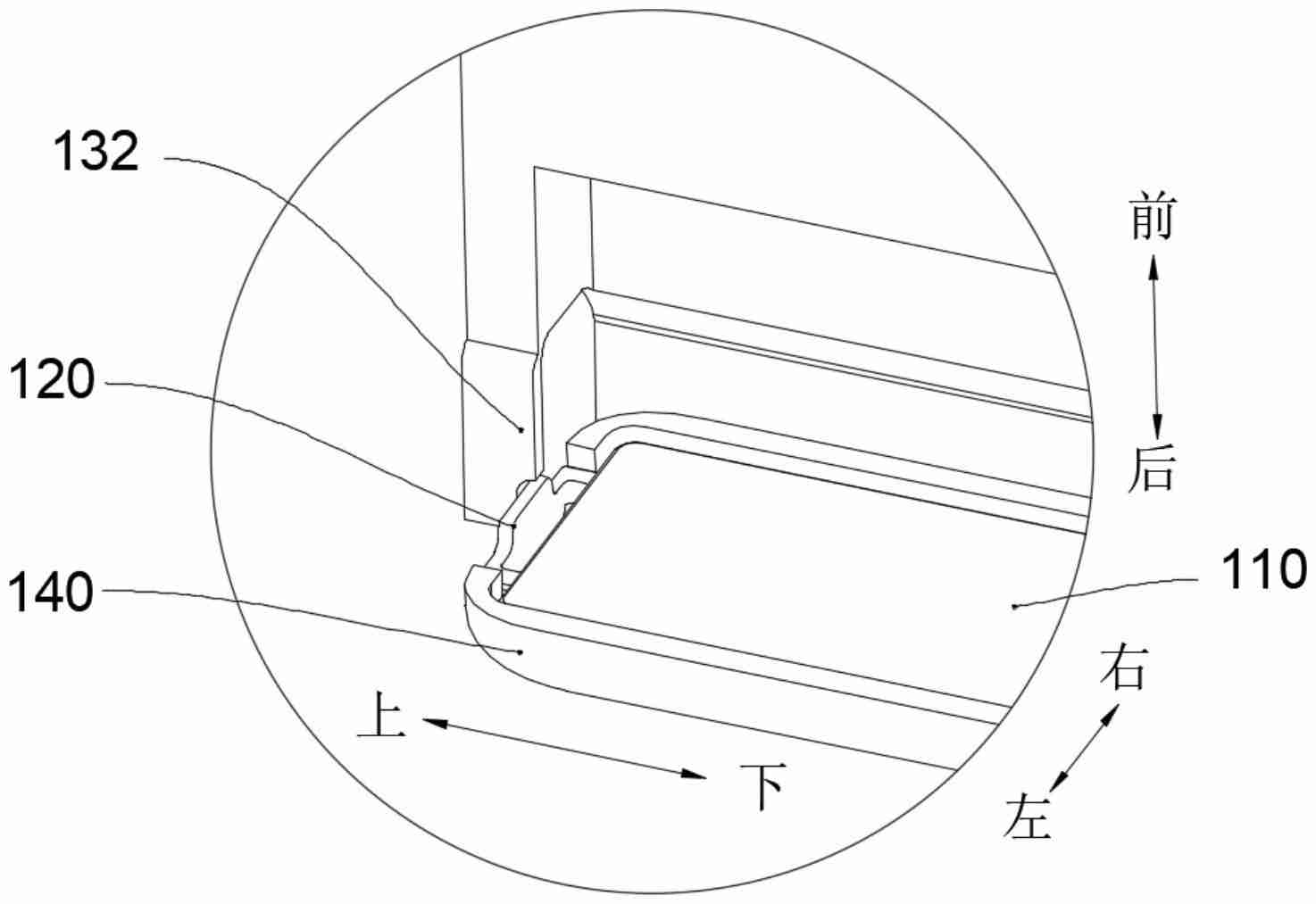
荣耀终端有限公司一项关于“折叠组件及折叠式显示设备”的专利已公开,申请公布日为2024年11月29日,申请公布号为CN119042276A。

该专利属于折叠设备技术领域,公开了一种新型折叠组件及其在折叠式显示设备中的应用。该折叠组件包含转轴机构和两个支撑件。转轴机构由凸块和转轴基体构成,凸块位于转轴基体长度方向的端部。两个支撑件分别连接在转轴基体宽度方向的两侧,并可相对转轴基体旋转,实现折叠组件在展开和折叠状态间的切换。支撑件靠近转轴基体的一侧设有止挡面,在折叠状态下,凸块与止挡面在转轴基体厚度方向上保持一定间距。 此设计在设备跌落冲击时,止挡面可有效阻止转轴机构继续靠近柔性屏移动,并分散吸收冲击力,从而避免转轴机构对柔性屏造成的损伤。
今天关于《荣耀“折叠组件及折叠式显示设备”专利公布》的内容介绍就到此结束,如果有什么疑问或者建议,可以在golang学习网公众号下多多回复交流;文中若有不正之处,也希望回复留言以告知!
Laravel 中的弱密码策略:安全指南
- 上一篇
- Laravel 中的弱密码策略:安全指南
- 下一篇
- 曝RTX 5080 16GB版本将率先亮相!或在2025年1月推出
查看更多
最新文章
-
- 科技周边 · 人工智能 | 4小时前 |
- Mac Studio集群:多机跑70B大模型教程
- 370浏览 收藏
-
- 科技周边 · 人工智能 | 4小时前 | CanvaAI Canva可画
- Canva Pro会员价格及权益详解
- 246浏览 收藏
-
- 科技周边 · 人工智能 | 4小时前 | Hermes Agent HermesAgent
- Hermes Agent缓存清理方法【技巧】
- 420浏览 收藏
-
- 科技周边 · 人工智能 | 4小时前 | 骡子快跑
- 骡子快跑模拟面试怎么设置
- 382浏览 收藏
-
- 科技周边 · 人工智能 | 5小时前 | CodeGeeX
- 判断今天日期是否为指定日期
- 296浏览 收藏
-
- 科技周边 · 人工智能 | 5小时前 |
- DeepSeek替代ChatGPT优势解析
- 264浏览 收藏
-
- 科技周边 · 人工智能 | 5小时前 |
- 如何查看Perplexity API账单?进入Settings Billing管理面板
- 263浏览 收藏
-
- 科技周边 · 人工智能 | 5小时前 |
- 矢量图天花板!Recraft一键生成SVG全流程
- 446浏览 收藏
-
- 科技周边 · 人工智能 | 6小时前 | Hermes Agent HermesAgent
- HermesAgent数据归档:策略集成实战教程
- 104浏览 收藏
-
- 科技周边 · 人工智能 | 6小时前 |
- WorkBuddy一键配置文件下发方法
- 170浏览 收藏
-
- 科技周边 · 人工智能 | 6小时前 | Midjourney
- Midjourney生成表情包Gif制作教程
- 383浏览 收藏
查看更多
课程推荐
-
- 前端进阶之JavaScript设计模式
- 设计模式是开发人员在软件开发过程中面临一般问题时的解决方案,代表了最佳的实践。本课程的主打内容包括JS常见设计模式以及具体应用场景,打造一站式知识长龙服务,适合有JS基础的同学学习。
- 543次学习
-
- GO语言核心编程课程
- 本课程采用真实案例,全面具体可落地,从理论到实践,一步一步将GO核心编程技术、编程思想、底层实现融会贯通,使学习者贴近时代脉搏,做IT互联网时代的弄潮儿。
- 516次学习
-
- 简单聊聊mysql8与网络通信
- 如有问题加微信:Le-studyg;在课程中,我们将首先介绍MySQL8的新特性,包括性能优化、安全增强、新数据类型等,帮助学生快速熟悉MySQL8的最新功能。接着,我们将深入解析MySQL的网络通信机制,包括协议、连接管理、数据传输等,让
- 500次学习
-
- JavaScript正则表达式基础与实战
- 在任何一门编程语言中,正则表达式,都是一项重要的知识,它提供了高效的字符串匹配与捕获机制,可以极大的简化程序设计。
- 487次学习
-
- 从零制作响应式网站—Grid布局
- 本系列教程将展示从零制作一个假想的网络科技公司官网,分为导航,轮播,关于我们,成功案例,服务流程,团队介绍,数据部分,公司动态,底部信息等内容区块。网站整体采用CSSGrid布局,支持响应式,有流畅过渡和展现动画。
- 485次学习
查看更多
AI推荐
-
- ChatExcel酷表
- ChatExcel酷表是由北京大学团队打造的Excel聊天机器人,用自然语言操控表格,简化数据处理,告别繁琐操作,提升工作效率!适用于学生、上班族及政府人员。
- 4511次使用
-
- Any绘本
- 探索Any绘本(anypicturebook.com/zh),一款开源免费的AI绘本创作工具,基于Google Gemini与Flux AI模型,让您轻松创作个性化绘本。适用于家庭、教育、创作等多种场景,零门槛,高自由度,技术透明,本地可控。
- 4862次使用
-
- 可赞AI
- 可赞AI,AI驱动的办公可视化智能工具,助您轻松实现文本与可视化元素高效转化。无论是智能文档生成、多格式文本解析,还是一键生成专业图表、脑图、知识卡片,可赞AI都能让信息处理更清晰高效。覆盖数据汇报、会议纪要、内容营销等全场景,大幅提升办公效率,降低专业门槛,是您提升工作效率的得力助手。
- 4740次使用
-
- 星月写作
- 星月写作是国内首款聚焦中文网络小说创作的AI辅助工具,解决网文作者从构思到变现的全流程痛点。AI扫榜、专属模板、全链路适配,助力新人快速上手,资深作者效率倍增。
- 6582次使用
-
- MagicLight
- MagicLight.ai是全球首款叙事驱动型AI动画视频创作平台,专注于解决从故事想法到完整动画的全流程痛点。它通过自研AI模型,保障角色、风格、场景高度一致性,让零动画经验者也能高效产出专业级叙事内容。广泛适用于独立创作者、动画工作室、教育机构及企业营销,助您轻松实现创意落地与商业化。
- 5099次使用
查看更多
相关文章
-
- GPT-4王者加冕!读图做题性能炸天,凭自己就能考上斯坦福
- 2023-04-25 501浏览
-
- 单块V100训练模型提速72倍!尤洋团队新成果获AAAI 2023杰出论文奖
- 2023-04-24 501浏览
-
- ChatGPT 真的会接管世界吗?
- 2023-04-13 501浏览
-
- VR的终极形态是「假眼」?Neuralink前联合创始人掏出新产品:科学之眼!
- 2023-04-30 501浏览
-
- 实现实时制造可视性优势有哪些?
- 2023-04-15 501浏览

