TCL华星光电“覆晶薄膜及显示模组”专利获授权
2025-01-09 14:27:01
0浏览
收藏
怎么入门科技周边编程?需要学习哪些知识点?这是新手们刚接触编程时常见的问题;下面golang学习网就来给大家整理分享一些知识点,希望能够给初学者一些帮助。本篇文章就来介绍《TCL华星光电“覆晶薄膜及显示模组”专利获授权》,涉及到,有需要的可以收藏一下
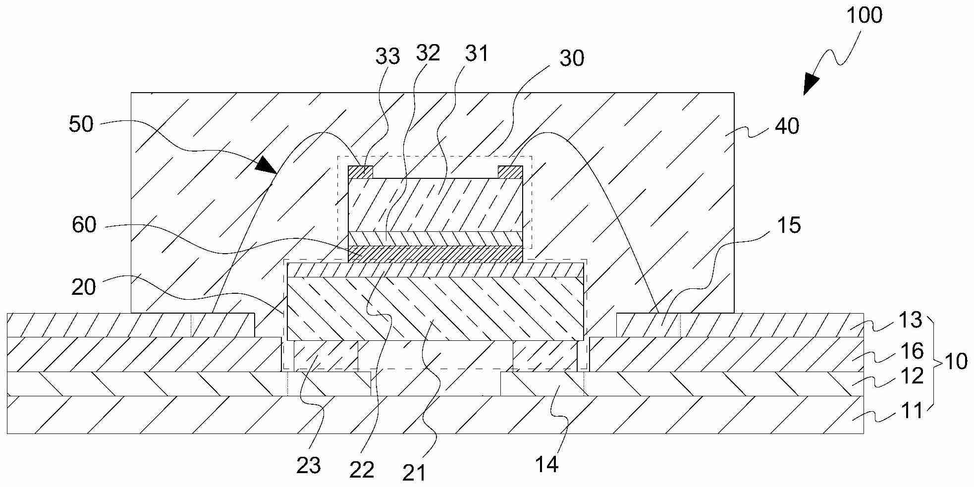
TCL华星光电近日获得一项“覆晶薄膜及显示模组”专利(授权公告号:CN114023769B),该专利申请于2021年10月27日,授权公告日为2024年11月15日。天眼查信息显示,这项专利技术创新性地将集成有时序控制电路的第二裸片和集成有源极驱动电路、Gamma电路和Vcom电路的第一裸片进行堆叠,并采用一次封装,显著降低了封装成本。同时,由于裸片功能的集成化设计,联调测试也更加便捷高效,进一步节省了生产成本。

理论要掌握,实操不能落!以上关于《TCL华星光电“覆晶薄膜及显示模组”专利获授权》的详细介绍,大家都掌握了吧!如果想要继续提升自己的能力,那么就来关注golang学习网公众号吧!
Python 与 SQLite 中的一对多和多对多关系
- 上一篇
- Python 与 SQLite 中的一对多和多对多关系
- 下一篇
- 新一代核心系统全面上线!中华财险与阿里云达成数智化升级新合作
查看更多
最新文章
-
- 科技周边 · 人工智能 | 4分钟前 | Hermes Agent HermesAgent
- HermesAgent数据聚类:异常检测实战教程
- 300浏览 收藏
-
- 科技周边 · 人工智能 | 13分钟前 | 夸克AI 夸克AI大模型
- 夸克AI办公入口及使用教程
- 240浏览 收藏
-
- 科技周边 · 人工智能 | 26分钟前 |
- InvokeAI图层合并教程详解
- 341浏览 收藏
-
- 科技周边 · 人工智能 | 1小时前 |
- DeepSeekV4周报生成实战教程
- 175浏览 收藏
-
- 科技周边 · 人工智能 | 1小时前 |
- AI智能相册整理技巧与使用方法
- 371浏览 收藏
-
- 科技周边 · 人工智能 | 1小时前 |
- 豆包如何识别图片?图像理解教程详解
- 118浏览 收藏
-
- 科技周边 · 人工智能 | 1小时前 | CanvaAI Canva可画
- Canva手机网页版快速打开技巧
- 143浏览 收藏
-
- 科技周边 · 人工智能 | 1小时前 |
- Perplexity链接跳转失败原因分析
- 382浏览 收藏
-
- 科技周边 · 人工智能 | 1小时前 |
- Perplexity告别Node.js回调地狱
- 389浏览 收藏
-
- 科技周边 · 人工智能 | 1小时前 |
- WorkBuddy对比传统搜索,效率再升级
- 251浏览 收藏
-
- 科技周边 · 人工智能 | 2小时前 | Midjourney
- Midjourney警察刑侦氛围生成技巧
- 161浏览 收藏
-
- 科技周边 · 人工智能 | 2小时前 |
- DeepSeekV4微信机器人白名单设置方法
- 200浏览 收藏
查看更多
课程推荐
-
- 前端进阶之JavaScript设计模式
- 设计模式是开发人员在软件开发过程中面临一般问题时的解决方案,代表了最佳的实践。本课程的主打内容包括JS常见设计模式以及具体应用场景,打造一站式知识长龙服务,适合有JS基础的同学学习。
- 543次学习
-
- GO语言核心编程课程
- 本课程采用真实案例,全面具体可落地,从理论到实践,一步一步将GO核心编程技术、编程思想、底层实现融会贯通,使学习者贴近时代脉搏,做IT互联网时代的弄潮儿。
- 516次学习
-
- 简单聊聊mysql8与网络通信
- 如有问题加微信:Le-studyg;在课程中,我们将首先介绍MySQL8的新特性,包括性能优化、安全增强、新数据类型等,帮助学生快速熟悉MySQL8的最新功能。接着,我们将深入解析MySQL的网络通信机制,包括协议、连接管理、数据传输等,让
- 500次学习
-
- JavaScript正则表达式基础与实战
- 在任何一门编程语言中,正则表达式,都是一项重要的知识,它提供了高效的字符串匹配与捕获机制,可以极大的简化程序设计。
- 487次学习
-
- 从零制作响应式网站—Grid布局
- 本系列教程将展示从零制作一个假想的网络科技公司官网,分为导航,轮播,关于我们,成功案例,服务流程,团队介绍,数据部分,公司动态,底部信息等内容区块。网站整体采用CSSGrid布局,支持响应式,有流畅过渡和展现动画。
- 485次学习
查看更多
AI推荐
-
- ChatExcel酷表
- ChatExcel酷表是由北京大学团队打造的Excel聊天机器人,用自然语言操控表格,简化数据处理,告别繁琐操作,提升工作效率!适用于学生、上班族及政府人员。
- 4486次使用
-
- Any绘本
- 探索Any绘本(anypicturebook.com/zh),一款开源免费的AI绘本创作工具,基于Google Gemini与Flux AI模型,让您轻松创作个性化绘本。适用于家庭、教育、创作等多种场景,零门槛,高自由度,技术透明,本地可控。
- 4827次使用
-
- 可赞AI
- 可赞AI,AI驱动的办公可视化智能工具,助您轻松实现文本与可视化元素高效转化。无论是智能文档生成、多格式文本解析,还是一键生成专业图表、脑图、知识卡片,可赞AI都能让信息处理更清晰高效。覆盖数据汇报、会议纪要、内容营销等全场景,大幅提升办公效率,降低专业门槛,是您提升工作效率的得力助手。
- 4713次使用
-
- 星月写作
- 星月写作是国内首款聚焦中文网络小说创作的AI辅助工具,解决网文作者从构思到变现的全流程痛点。AI扫榜、专属模板、全链路适配,助力新人快速上手,资深作者效率倍增。
- 6527次使用
-
- MagicLight
- MagicLight.ai是全球首款叙事驱动型AI动画视频创作平台,专注于解决从故事想法到完整动画的全流程痛点。它通过自研AI模型,保障角色、风格、场景高度一致性,让零动画经验者也能高效产出专业级叙事内容。广泛适用于独立创作者、动画工作室、教育机构及企业营销,助您轻松实现创意落地与商业化。
- 5080次使用
查看更多
相关文章
-
- GPT-4王者加冕!读图做题性能炸天,凭自己就能考上斯坦福
- 2023-04-25 501浏览
-
- 单块V100训练模型提速72倍!尤洋团队新成果获AAAI 2023杰出论文奖
- 2023-04-24 501浏览
-
- ChatGPT 真的会接管世界吗?
- 2023-04-13 501浏览
-
- VR的终极形态是「假眼」?Neuralink前联合创始人掏出新产品:科学之眼!
- 2023-04-30 501浏览
-
- 实现实时制造可视性优势有哪些?
- 2023-04-15 501浏览

