北方华创“一种晶圆位置检测装置及半导体设备”专利公布
2025-01-21 18:27:46
0浏览
收藏
大家好,今天本人给大家带来文章《北方华创“一种晶圆位置检测装置及半导体设备”专利公布》,文中内容主要涉及到,如果你对科技周边方面的知识点感兴趣,那就请各位朋友继续看下去吧~希望能真正帮到你们,谢谢!
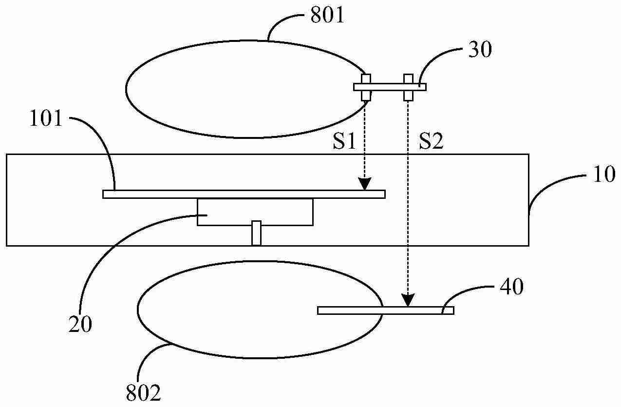
北京北方华创微电子装备有限公司近日公布一项名为“一种晶圆位置检测装置及半导体设备”的专利(申请公布号:CN119132999A,申请公布日:2024年12月13日)。

该专利公开了一种新型晶圆位置检测装置及其在半导体设备中的应用。该装置巧妙地将第一、第二环形滑轨分别设置于半导体腔室的上下两侧,线性传感器发射端和接收端分别与滑轨滑动连接。 值得注意的是,发射端和接收端的晶圆正投影都与晶圆部分重叠。处理器控制驱动器,使发射端发射检测信号,接收端接收未被晶圆遮挡的信号,并根据接收到的信号精确确定晶圆圆心位置。 更重要的是,该检测信号能够穿透半导体腔室。这项创新有效解决了现有工艺中腔室密封困难和对冷却系统依赖的问题。
文中关于北方华创的知识介绍,希望对你的学习有所帮助!若是受益匪浅,那就动动鼠标收藏这篇《北方华创“一种晶圆位置检测装置及半导体设备”专利公布》文章吧,也可关注golang学习网公众号了解相关技术文章。
为什么 == 为 true 但 {} === {} 为 false
- 上一篇
- 为什么 == 为 true 但 {} === {} 为 false
- 下一篇
- 安泰科技2024年净利润为3.49亿元-3.87亿元,同比预增39.89%-55.12%
查看更多
最新文章
-
- 科技周边 · 人工智能 | 8分钟前 |
- Midjourney Zoom Out使用教程:图片无限外扩技巧
- 472浏览 收藏
-
- 科技周边 · 人工智能 | 16分钟前 |
- 代际沟通AI工具,Z世代家庭调解新需求
- 339浏览 收藏
-
- 科技周边 · 人工智能 | 40分钟前 |
- 可灵AI文生视频操作教程:文字转动态画面步骤详解
- 128浏览 收藏
-
- 科技周边 · 人工智能 | 49分钟前 |
- AI写代码插件Cursor怎么用?零基础建站教程
- 191浏览 收藏
-
- 科技周边 · 人工智能 | 1小时前 |
- Token本质解析:从身份凭证到AI核心的演变之路
- 362浏览 收藏
-
- 科技周边 · 人工智能 | 1小时前 |
- DeepSeek图片文字提取方法及OCR功能详解
- 165浏览 收藏
-
- 科技周边 · 人工智能 | 1小时前 |
- 即梦AI如何管理传感器权限?
- 472浏览 收藏
-
- 科技周边 · 人工智能 | 1小时前 | 即梦AI
- 即梦AI如何制作冬日雪景图
- 135浏览 收藏
-
- 科技周边 · 人工智能 | 1小时前 |
- DeepSeek模型加载慢?SSD vs HDD速度对比
- 355浏览 收藏
-
- 科技周边 · 人工智能 | 1小时前 |
- 马克・洛尔:AI 轻松开餐厅新思路
- 276浏览 收藏
-
- 科技周边 · 人工智能 | 1小时前 | 即梦AI
- 即梦AI修改密码位置及安全设置流程
- 481浏览 收藏
-
- 科技周边 · 人工智能 | 1小时前 |
- GLM-5命名实体识别教程:人名地名机构名提取方法
- 235浏览 收藏
查看更多
课程推荐
-
- 前端进阶之JavaScript设计模式
- 设计模式是开发人员在软件开发过程中面临一般问题时的解决方案,代表了最佳的实践。本课程的主打内容包括JS常见设计模式以及具体应用场景,打造一站式知识长龙服务,适合有JS基础的同学学习。
- 543次学习
-
- GO语言核心编程课程
- 本课程采用真实案例,全面具体可落地,从理论到实践,一步一步将GO核心编程技术、编程思想、底层实现融会贯通,使学习者贴近时代脉搏,做IT互联网时代的弄潮儿。
- 516次学习
-
- 简单聊聊mysql8与网络通信
- 如有问题加微信:Le-studyg;在课程中,我们将首先介绍MySQL8的新特性,包括性能优化、安全增强、新数据类型等,帮助学生快速熟悉MySQL8的最新功能。接着,我们将深入解析MySQL的网络通信机制,包括协议、连接管理、数据传输等,让
- 500次学习
-
- JavaScript正则表达式基础与实战
- 在任何一门编程语言中,正则表达式,都是一项重要的知识,它提供了高效的字符串匹配与捕获机制,可以极大的简化程序设计。
- 487次学习
-
- 从零制作响应式网站—Grid布局
- 本系列教程将展示从零制作一个假想的网络科技公司官网,分为导航,轮播,关于我们,成功案例,服务流程,团队介绍,数据部分,公司动态,底部信息等内容区块。网站整体采用CSSGrid布局,支持响应式,有流畅过渡和展现动画。
- 485次学习
查看更多
AI推荐
-
- ChatExcel酷表
- ChatExcel酷表是由北京大学团队打造的Excel聊天机器人,用自然语言操控表格,简化数据处理,告别繁琐操作,提升工作效率!适用于学生、上班族及政府人员。
- 4515次使用
-
- Any绘本
- 探索Any绘本(anypicturebook.com/zh),一款开源免费的AI绘本创作工具,基于Google Gemini与Flux AI模型,让您轻松创作个性化绘本。适用于家庭、教育、创作等多种场景,零门槛,高自由度,技术透明,本地可控。
- 4865次使用
-
- 可赞AI
- 可赞AI,AI驱动的办公可视化智能工具,助您轻松实现文本与可视化元素高效转化。无论是智能文档生成、多格式文本解析,还是一键生成专业图表、脑图、知识卡片,可赞AI都能让信息处理更清晰高效。覆盖数据汇报、会议纪要、内容营销等全场景,大幅提升办公效率,降低专业门槛,是您提升工作效率的得力助手。
- 4742次使用
-
- 星月写作
- 星月写作是国内首款聚焦中文网络小说创作的AI辅助工具,解决网文作者从构思到变现的全流程痛点。AI扫榜、专属模板、全链路适配,助力新人快速上手,资深作者效率倍增。
- 6601次使用
-
- MagicLight
- MagicLight.ai是全球首款叙事驱动型AI动画视频创作平台,专注于解决从故事想法到完整动画的全流程痛点。它通过自研AI模型,保障角色、风格、场景高度一致性,让零动画经验者也能高效产出专业级叙事内容。广泛适用于独立创作者、动画工作室、教育机构及企业营销,助您轻松实现创意落地与商业化。
- 5104次使用
查看更多
相关文章
-
- GPT-4王者加冕!读图做题性能炸天,凭自己就能考上斯坦福
- 2023-04-25 501浏览
-
- 单块V100训练模型提速72倍!尤洋团队新成果获AAAI 2023杰出论文奖
- 2023-04-24 501浏览
-
- ChatGPT 真的会接管世界吗?
- 2023-04-13 501浏览
-
- VR的终极形态是「假眼」?Neuralink前联合创始人掏出新产品:科学之眼!
- 2023-04-30 501浏览
-
- 实现实时制造可视性优势有哪些?
- 2023-04-15 501浏览

