旗芯微“基于寄存器的失效纠错系统及方法”专利公布
2025-01-22 13:00:49
0浏览
收藏
哈喽!今天心血来潮给大家带来了《旗芯微“基于寄存器的失效纠错系统及方法”专利公布》,想必大家应该对科技周边都不陌生吧,那么阅读本文就都不会很困难,以下内容主要涉及到,若是你正在学习科技周边,千万别错过这篇文章~希望能帮助到你!
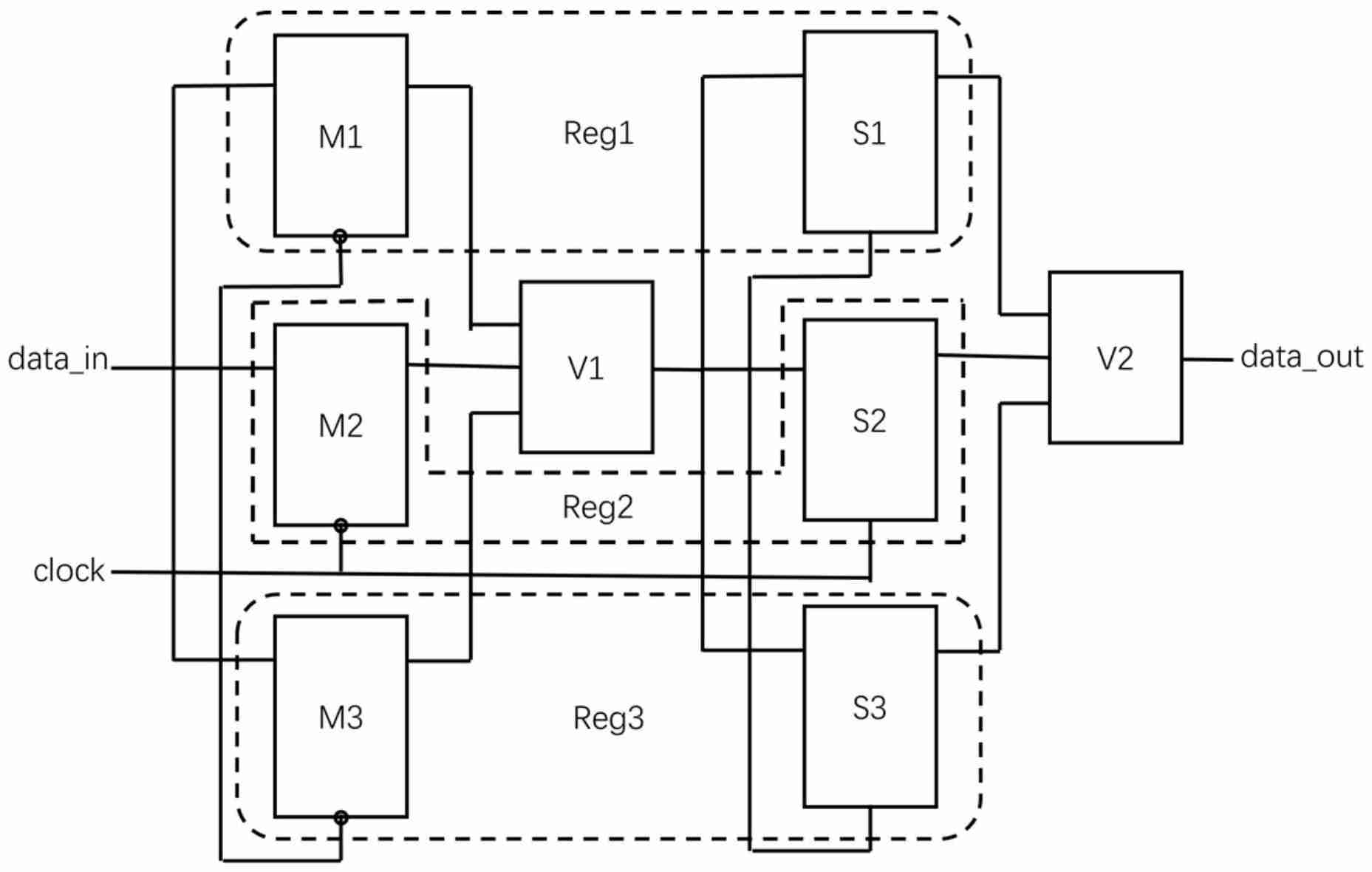
苏州旗芯微半导体有限公司近日公布一项名为“基于寄存器的失效纠错系统及方法”的新专利(申请公布号:CN119088600A,申请公布日:2024年12月6日)。

该专利技术提出了一种改进的失效纠错系统和方法。系统采用三个寄存器主单元,它们同时接收相同的输入数据。主单元的输出连接到第一投票单元,进行第一次投票,产生中间数据。此中间数据再作为输入,同时发送到三个寄存器的从单元。从单元的输出连接到第二投票单元,进行第二次投票,最终得到并输出纠错后的数据。 与现有技术相比,该发明显著提高了纠错率。
理论要掌握,实操不能落!以上关于《旗芯微“基于寄存器的失效纠错系统及方法”专利公布》的详细介绍,大家都掌握了吧!如果想要继续提升自己的能力,那么就来关注golang学习网公众号吧!
Linux 检查IP冲突
- 上一篇
- Linux 检查IP冲突
- 下一篇
- 原生融合多模态上的突破,让商汤大模型打破Scaling Laws撞墙「魔咒」
查看更多
最新文章
-
- 科技周边 · 人工智能 | 16分钟前 | Hermes Agent HermesAgent
- Git子模块更新:HermesAgent版本升级教程
- 224浏览 收藏
-
- 科技周边 · 人工智能 | 28分钟前 | 即梦AI
- 即梦AI通知权限开启方法详解
- 131浏览 收藏
-
- 科技周边 · 人工智能 | 28分钟前 | Hermes Agent HermesAgent
- HermesAgent无服务器Lambda实战教程
- 154浏览 收藏
-
- 科技周边 · 人工智能 | 40分钟前 |
- ChatGPT官网入口 ChatGPT网页版直达链接
- 411浏览 收藏
-
- 科技周边 · 人工智能 | 43分钟前 | Seedance 2.0
- Seedance 2.0会员值不值得买?性价比解析
- 433浏览 收藏
-
- 科技周边 · 人工智能 | 46分钟前 | ChatGPT ChatGPT5
- ChatGPT5.5如何控制输出字数
- 198浏览 收藏
-
- 科技周边 · 人工智能 | 53分钟前 |
- WorkBuddy剪贴板同步失败原因及解决方法
- 372浏览 收藏
-
- 科技周边 · 人工智能 | 1小时前 | CanvaAI Canva可画
- Canva国风设计技巧:东方元素融入日常美学
- 298浏览 收藏
-
- 科技周边 · 人工智能 | 1小时前 |
- Figma AI生成界面不适配?Constraints约束调整方案
- 228浏览 收藏
-
- 科技周边 · 人工智能 | 1小时前 |
- 本地部署 Claude API 的方法与注意事项
- 424浏览 收藏
-
- 科技周边 · 人工智能 | 1小时前 |
- Perplexity免费版搜索限制怎么破?切换API或升级Pro版
- 216浏览 收藏
-
- 科技周边 · 人工智能 | 1小时前 |
- ClaudePC快捷键设置方法详解
- 175浏览 收藏
查看更多
课程推荐
-
- 前端进阶之JavaScript设计模式
- 设计模式是开发人员在软件开发过程中面临一般问题时的解决方案,代表了最佳的实践。本课程的主打内容包括JS常见设计模式以及具体应用场景,打造一站式知识长龙服务,适合有JS基础的同学学习。
- 543次学习
-
- GO语言核心编程课程
- 本课程采用真实案例,全面具体可落地,从理论到实践,一步一步将GO核心编程技术、编程思想、底层实现融会贯通,使学习者贴近时代脉搏,做IT互联网时代的弄潮儿。
- 516次学习
-
- 简单聊聊mysql8与网络通信
- 如有问题加微信:Le-studyg;在课程中,我们将首先介绍MySQL8的新特性,包括性能优化、安全增强、新数据类型等,帮助学生快速熟悉MySQL8的最新功能。接着,我们将深入解析MySQL的网络通信机制,包括协议、连接管理、数据传输等,让
- 500次学习
-
- JavaScript正则表达式基础与实战
- 在任何一门编程语言中,正则表达式,都是一项重要的知识,它提供了高效的字符串匹配与捕获机制,可以极大的简化程序设计。
- 487次学习
-
- 从零制作响应式网站—Grid布局
- 本系列教程将展示从零制作一个假想的网络科技公司官网,分为导航,轮播,关于我们,成功案例,服务流程,团队介绍,数据部分,公司动态,底部信息等内容区块。网站整体采用CSSGrid布局,支持响应式,有流畅过渡和展现动画。
- 485次学习
查看更多
AI推荐
-
- ChatExcel酷表
- ChatExcel酷表是由北京大学团队打造的Excel聊天机器人,用自然语言操控表格,简化数据处理,告别繁琐操作,提升工作效率!适用于学生、上班族及政府人员。
- 4515次使用
-
- Any绘本
- 探索Any绘本(anypicturebook.com/zh),一款开源免费的AI绘本创作工具,基于Google Gemini与Flux AI模型,让您轻松创作个性化绘本。适用于家庭、教育、创作等多种场景,零门槛,高自由度,技术透明,本地可控。
- 4865次使用
-
- 可赞AI
- 可赞AI,AI驱动的办公可视化智能工具,助您轻松实现文本与可视化元素高效转化。无论是智能文档生成、多格式文本解析,还是一键生成专业图表、脑图、知识卡片,可赞AI都能让信息处理更清晰高效。覆盖数据汇报、会议纪要、内容营销等全场景,大幅提升办公效率,降低专业门槛,是您提升工作效率的得力助手。
- 4742次使用
-
- 星月写作
- 星月写作是国内首款聚焦中文网络小说创作的AI辅助工具,解决网文作者从构思到变现的全流程痛点。AI扫榜、专属模板、全链路适配,助力新人快速上手,资深作者效率倍增。
- 6600次使用
-
- MagicLight
- MagicLight.ai是全球首款叙事驱动型AI动画视频创作平台,专注于解决从故事想法到完整动画的全流程痛点。它通过自研AI模型,保障角色、风格、场景高度一致性,让零动画经验者也能高效产出专业级叙事内容。广泛适用于独立创作者、动画工作室、教育机构及企业营销,助您轻松实现创意落地与商业化。
- 5103次使用
查看更多
相关文章
-
- GPT-4王者加冕!读图做题性能炸天,凭自己就能考上斯坦福
- 2023-04-25 501浏览
-
- 单块V100训练模型提速72倍!尤洋团队新成果获AAAI 2023杰出论文奖
- 2023-04-24 501浏览
-
- ChatGPT 真的会接管世界吗?
- 2023-04-13 501浏览
-
- VR的终极形态是「假眼」?Neuralink前联合创始人掏出新产品:科学之眼!
- 2023-04-30 501浏览
-
- 实现实时制造可视性优势有哪些?
- 2023-04-15 501浏览

