华海清科“用于晶圆加工的承载头及化学机械抛光设备”专利公布
2025-01-24 17:57:35
0浏览
收藏
来到golang学习网的大家,相信都是编程学习爱好者,希望在这里学习科技周边相关编程知识。下面本篇文章就来带大家聊聊《华海清科“用于晶圆加工的承载头及化学机械抛光设备”专利公布》,介绍一下,希望对大家的知识积累有所帮助,助力实战开发!
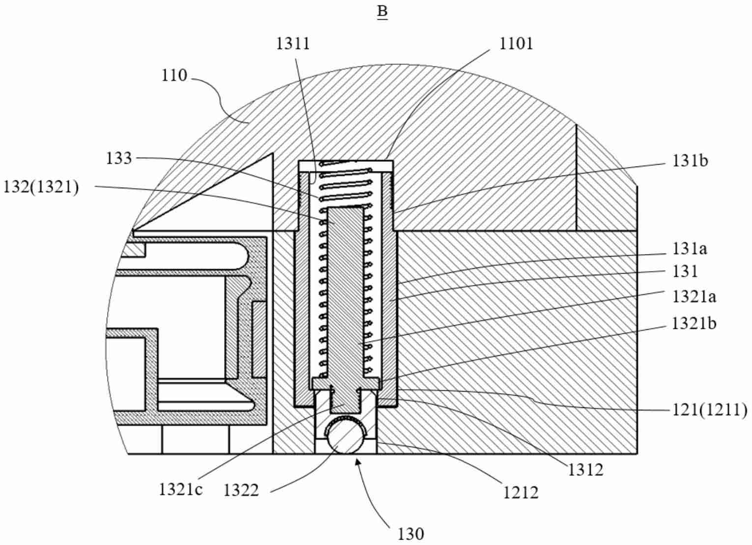
华海清科股份有限公司一项名为“用于晶圆加工的承载头及化学机械抛光设备”的专利申请已于2024年12月13日公开,申请公布号为CN119115785A。

该专利提出了一种用于晶圆加工的承载头和化学机械抛光设备。此承载头包含:承载头主体;位于承载头主体面向晶圆一侧的保持环,用于固定晶圆;以及一个防滑机构,该机构至少部分位于保持环内,并可轴向伸缩。当保持环接触抛光单元时,防滑机构会缩回保持环内;当保持环与抛光单元轴向分离时,防滑机构会从保持环伸出。该防滑机构采用耐腐蚀材料制成。这项技术方案有效防止晶圆滑落,降低晶圆破损风险,并确保防滑机构的有效性。
今天关于《华海清科“用于晶圆加工的承载头及化学机械抛光设备”专利公布》的内容就介绍到这里了,是不是学起来一目了然!想要了解更多关于华海清科的内容请关注golang学习网公众号!
竞争加剧致毛利下滑,晶瑞电材2024年同比由盈转亏
- 上一篇
- 竞争加剧致毛利下滑,晶瑞电材2024年同比由盈转亏
- 下一篇
- 毛利率下降幅度较大,美联新材2024年净利润同比预降55%-70%
查看更多
最新文章
-
- 科技周边 · 人工智能 | 11分钟前 |
- Figma图层命名加Emoji,批量重命名工具推荐
- 242浏览 收藏
-
- 科技周边 · 人工智能 | 14分钟前 | Hermes Agent HermesAgent
- HermesAgent连接Ollama:配置CustomEndpoint离线运行指南
- 296浏览 收藏
-
- 科技周边 · 人工智能 | 31分钟前 | Midjourney
- MJ 3D皮克斯风格渲染技巧
- 458浏览 收藏
-
- 科技周边 · 人工智能 | 38分钟前 |
- WorkBuddy域名解析异常解决方法
- 199浏览 收藏
-
- 科技周边 · 人工智能 | 41分钟前 |
- Perplexity Pro配额24小时刷新机制解析
- 444浏览 收藏
-
- 科技周边 · 人工智能 | 56分钟前 | 即梦AI
- 即梦AI权限被拒怎么处理?
- 310浏览 收藏
-
- 科技周边 · 人工智能 | 1小时前 |
- DeepSeek回复中断原因及Token扩容方法
- 331浏览 收藏
-
- 科技周边 · 人工智能 | 1小时前 |
- 文心一言不支持大文件,建议转TXT分批粘贴
- 438浏览 收藏
-
- 科技周边 · 人工智能 | 1小时前 | openclaw
- 多模型路由配置:OpenClaw智能切换GPT-4与本地模型
- 448浏览 收藏
-
- 科技周边 · 人工智能 | 1小时前 |
- AI参考线设置技巧与开启方法
- 440浏览 收藏
-
- 科技周边 · 人工智能 | 1小时前 |
- DeepSeek V4做PPT:大纲转幻灯片教程
- 133浏览 收藏
-
- 科技周边 · 人工智能 | 1小时前 |
- WorkBuddy微信扫码报错:RedirectURL错误怎么解决
- 482浏览 收藏
查看更多
课程推荐
-
- 前端进阶之JavaScript设计模式
- 设计模式是开发人员在软件开发过程中面临一般问题时的解决方案,代表了最佳的实践。本课程的主打内容包括JS常见设计模式以及具体应用场景,打造一站式知识长龙服务,适合有JS基础的同学学习。
- 543次学习
-
- GO语言核心编程课程
- 本课程采用真实案例,全面具体可落地,从理论到实践,一步一步将GO核心编程技术、编程思想、底层实现融会贯通,使学习者贴近时代脉搏,做IT互联网时代的弄潮儿。
- 516次学习
-
- 简单聊聊mysql8与网络通信
- 如有问题加微信:Le-studyg;在课程中,我们将首先介绍MySQL8的新特性,包括性能优化、安全增强、新数据类型等,帮助学生快速熟悉MySQL8的最新功能。接着,我们将深入解析MySQL的网络通信机制,包括协议、连接管理、数据传输等,让
- 500次学习
-
- JavaScript正则表达式基础与实战
- 在任何一门编程语言中,正则表达式,都是一项重要的知识,它提供了高效的字符串匹配与捕获机制,可以极大的简化程序设计。
- 487次学习
-
- 从零制作响应式网站—Grid布局
- 本系列教程将展示从零制作一个假想的网络科技公司官网,分为导航,轮播,关于我们,成功案例,服务流程,团队介绍,数据部分,公司动态,底部信息等内容区块。网站整体采用CSSGrid布局,支持响应式,有流畅过渡和展现动画。
- 485次学习
查看更多
AI推荐
-
- ChatExcel酷表
- ChatExcel酷表是由北京大学团队打造的Excel聊天机器人,用自然语言操控表格,简化数据处理,告别繁琐操作,提升工作效率!适用于学生、上班族及政府人员。
- 4512次使用
-
- Any绘本
- 探索Any绘本(anypicturebook.com/zh),一款开源免费的AI绘本创作工具,基于Google Gemini与Flux AI模型,让您轻松创作个性化绘本。适用于家庭、教育、创作等多种场景,零门槛,高自由度,技术透明,本地可控。
- 4864次使用
-
- 可赞AI
- 可赞AI,AI驱动的办公可视化智能工具,助您轻松实现文本与可视化元素高效转化。无论是智能文档生成、多格式文本解析,还是一键生成专业图表、脑图、知识卡片,可赞AI都能让信息处理更清晰高效。覆盖数据汇报、会议纪要、内容营销等全场景,大幅提升办公效率,降低专业门槛,是您提升工作效率的得力助手。
- 4741次使用
-
- 星月写作
- 星月写作是国内首款聚焦中文网络小说创作的AI辅助工具,解决网文作者从构思到变现的全流程痛点。AI扫榜、专属模板、全链路适配,助力新人快速上手,资深作者效率倍增。
- 6583次使用
-
- MagicLight
- MagicLight.ai是全球首款叙事驱动型AI动画视频创作平台,专注于解决从故事想法到完整动画的全流程痛点。它通过自研AI模型,保障角色、风格、场景高度一致性,让零动画经验者也能高效产出专业级叙事内容。广泛适用于独立创作者、动画工作室、教育机构及企业营销,助您轻松实现创意落地与商业化。
- 5100次使用
查看更多
相关文章
-
- GPT-4王者加冕!读图做题性能炸天,凭自己就能考上斯坦福
- 2023-04-25 501浏览
-
- 单块V100训练模型提速72倍!尤洋团队新成果获AAAI 2023杰出论文奖
- 2023-04-24 501浏览
-
- ChatGPT 真的会接管世界吗?
- 2023-04-13 501浏览
-
- VR的终极形态是「假眼」?Neuralink前联合创始人掏出新产品:科学之眼!
- 2023-04-30 501浏览
-
- 实现实时制造可视性优势有哪些?
- 2023-04-15 501浏览

