北方华创“升降针装置、半导体工艺设备及压力控制方法”专利公布
2025-01-28 11:06:47
0浏览
收藏
对于一个科技周边开发者来说,牢固扎实的基础是十分重要的,golang学习网就来带大家一点点的掌握基础知识点。今天本篇文章带大家了解《北方华创“升降针装置、半导体工艺设备及压力控制方法”专利公布》,主要介绍了,希望对大家的知识积累有所帮助,快点收藏起来吧,否则需要时就找不到了!
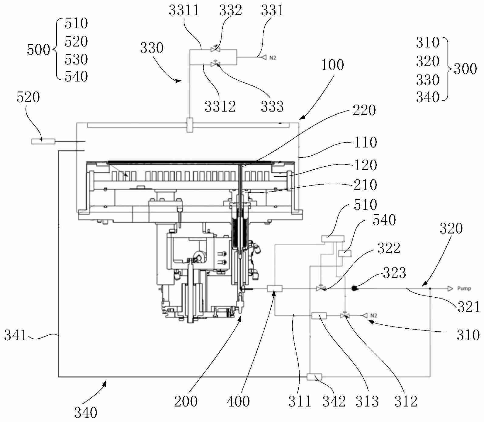
北京北方华创微电子装备有限公司近日公布一项专利——“升降针装置、半导体工艺设备及压力控制方法”(申请公布号:CN119230470A,申请公布日:2024年12月31日)。该专利属于半导体领域,旨在解决晶圆在半导体工艺设备中移动和粘连等问题。

该专利公开了一种新型升降针装置,包括用于升降晶圆的顶针组件和输气组件。顶针组件设有气道,气道一端与晶圆接触,另一端连接输气组件的输气端。输气组件负责向气道充气和/或抽气,从而实现对晶圆的精准控制,有效避免晶圆随意移动或与三针粘连。 这项创新技术有望提升半导体制造效率和良品率。
好了,本文到此结束,带大家了解了《北方华创“升降针装置、半导体工艺设备及压力控制方法”专利公布》,希望本文对你有所帮助!关注golang学习网公众号,给大家分享更多科技周边知识!
北理工团队在有机自旋材料激光研究方面取得重要进展
- 上一篇
- 北理工团队在有机自旋材料激光研究方面取得重要进展
- 下一篇
- Java开发人员Kotlin(第1部分)
查看更多
最新文章
-
- 科技周边 · 人工智能 | 8分钟前 |
- WorkBuddy插件加载失败解决方法
- 497浏览 收藏
-
- 科技周边 · 人工智能 | 17分钟前 |
- Claude无法访问?龙虾机器人网络配置教程
- 182浏览 收藏
-
- 科技周边 · 人工智能 | 29分钟前 |
- 即梦AI参考图使用方法及垫图操作教程
- 378浏览 收藏
-
- 科技周边 · 人工智能 | 31分钟前 |
- 天工生成风险提示技巧分享
- 134浏览 收藏
-
- 科技周边 · 人工智能 | 49分钟前 |
- Minimax语音模型在客服场景的应用实例
- 381浏览 收藏
-
- 科技周边 · 人工智能 | 56分钟前 | Hermes Agent HermesAgent
- Hermes Agent跨设备同步方法详解
- 369浏览 收藏
-
- 科技周边 · 人工智能 | 58分钟前 |
- 千问AI写Shell脚本教程|服务器运维命令大全
- 118浏览 收藏
-
- 科技周边 · 人工智能 | 1小时前 |
- AI自动化运维脚本,轻松修复电脑故障
- 486浏览 收藏
-
- 科技周边 · 人工智能 | 1小时前 |
- Figma图层命名加Emoji,批量重命名工具推荐
- 242浏览 收藏
-
- 科技周边 · 人工智能 | 1小时前 | Hermes Agent HermesAgent
- HermesAgent连接Ollama:配置CustomEndpoint离线运行指南
- 296浏览 收藏
-
- 科技周边 · 人工智能 | 1小时前 | Midjourney
- MJ 3D皮克斯风格渲染技巧
- 458浏览 收藏
-
- 科技周边 · 人工智能 | 1小时前 |
- WorkBuddy域名解析异常解决方法
- 199浏览 收藏
查看更多
课程推荐
-
- 前端进阶之JavaScript设计模式
- 设计模式是开发人员在软件开发过程中面临一般问题时的解决方案,代表了最佳的实践。本课程的主打内容包括JS常见设计模式以及具体应用场景,打造一站式知识长龙服务,适合有JS基础的同学学习。
- 543次学习
-
- GO语言核心编程课程
- 本课程采用真实案例,全面具体可落地,从理论到实践,一步一步将GO核心编程技术、编程思想、底层实现融会贯通,使学习者贴近时代脉搏,做IT互联网时代的弄潮儿。
- 516次学习
-
- 简单聊聊mysql8与网络通信
- 如有问题加微信:Le-studyg;在课程中,我们将首先介绍MySQL8的新特性,包括性能优化、安全增强、新数据类型等,帮助学生快速熟悉MySQL8的最新功能。接着,我们将深入解析MySQL的网络通信机制,包括协议、连接管理、数据传输等,让
- 500次学习
-
- JavaScript正则表达式基础与实战
- 在任何一门编程语言中,正则表达式,都是一项重要的知识,它提供了高效的字符串匹配与捕获机制,可以极大的简化程序设计。
- 487次学习
-
- 从零制作响应式网站—Grid布局
- 本系列教程将展示从零制作一个假想的网络科技公司官网,分为导航,轮播,关于我们,成功案例,服务流程,团队介绍,数据部分,公司动态,底部信息等内容区块。网站整体采用CSSGrid布局,支持响应式,有流畅过渡和展现动画。
- 485次学习
查看更多
AI推荐
-
- ChatExcel酷表
- ChatExcel酷表是由北京大学团队打造的Excel聊天机器人,用自然语言操控表格,简化数据处理,告别繁琐操作,提升工作效率!适用于学生、上班族及政府人员。
- 4512次使用
-
- Any绘本
- 探索Any绘本(anypicturebook.com/zh),一款开源免费的AI绘本创作工具,基于Google Gemini与Flux AI模型,让您轻松创作个性化绘本。适用于家庭、教育、创作等多种场景,零门槛,高自由度,技术透明,本地可控。
- 4864次使用
-
- 可赞AI
- 可赞AI,AI驱动的办公可视化智能工具,助您轻松实现文本与可视化元素高效转化。无论是智能文档生成、多格式文本解析,还是一键生成专业图表、脑图、知识卡片,可赞AI都能让信息处理更清晰高效。覆盖数据汇报、会议纪要、内容营销等全场景,大幅提升办公效率,降低专业门槛,是您提升工作效率的得力助手。
- 4741次使用
-
- 星月写作
- 星月写作是国内首款聚焦中文网络小说创作的AI辅助工具,解决网文作者从构思到变现的全流程痛点。AI扫榜、专属模板、全链路适配,助力新人快速上手,资深作者效率倍增。
- 6583次使用
-
- MagicLight
- MagicLight.ai是全球首款叙事驱动型AI动画视频创作平台,专注于解决从故事想法到完整动画的全流程痛点。它通过自研AI模型,保障角色、风格、场景高度一致性,让零动画经验者也能高效产出专业级叙事内容。广泛适用于独立创作者、动画工作室、教育机构及企业营销,助您轻松实现创意落地与商业化。
- 5100次使用
查看更多
相关文章
-
- GPT-4王者加冕!读图做题性能炸天,凭自己就能考上斯坦福
- 2023-04-25 501浏览
-
- 单块V100训练模型提速72倍!尤洋团队新成果获AAAI 2023杰出论文奖
- 2023-04-24 501浏览
-
- ChatGPT 真的会接管世界吗?
- 2023-04-13 501浏览
-
- VR的终极形态是「假眼」?Neuralink前联合创始人掏出新产品:科学之眼!
- 2023-04-30 501浏览
-
- 实现实时制造可视性优势有哪些?
- 2023-04-15 501浏览

