【专利】vivo“充电电路和充电器”专利公布
珍惜时间,勤奋学习!今天给大家带来《【专利】vivo“充电电路和充电器”专利公布》,正文内容主要涉及到等等,如果你正在学习科技周边,或者是对科技周边有疑问,欢迎大家关注我!后面我会持续更新相关内容的,希望都能帮到正在学习的大家!
近日,多家科技公司公布了最新专利技术,展现了在充电技术、显示技术和半导体工艺领域的创新成果。
- vivo充电技术专利
vivo移动通信有限公司公布了一项名为“充电电路和充电器”的专利(申请公布号:CN119231701A,申请公布日:2024年12月31日)。该专利涉及一种新型充电电路和充电器,其核心在于通过控制模块根据开关管状态和电压检测结果,动态调整电压处理模块的工作模式(直通、升压或降压),从而优化充电效率和性能。

- 京东方OLED显示技术专利
北京京东方技术开发有限公司公布了“OLED显示面板及其制作方法显示装置”专利(申请公布号:CN119233696A,申请公布日:2024年12月31日)。该专利提出了一种改进的OLED显示面板结构,通过优化像素区域和子像素区域的布局,以及采用特殊的柱状导电结构辅助电极,提升了显示面板的性能和生产效率。

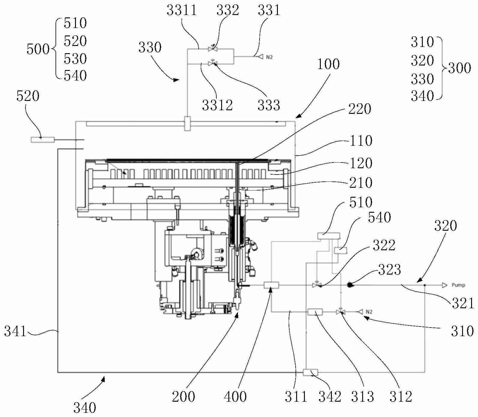
- 北方华创半导体工艺专利
北京北方华创微电子装备有限公司公布了一项关于“升降针装置、半导体工艺设备及压力控制方法”的专利(申请公布号:CN119230470A,申请公布日:2024年12月31日)。这项专利设计了一种创新的升降针装置,通过气动控制实现晶圆的精准升降,有效解决了晶圆移动和粘连等问题,提升了半导体制造的精度和稳定性。

这些专利技术的公布,预示着相关领域的技术发展将迈向新的阶段,为消费者带来更先进、更便捷的产品和服务。
终于介绍完啦!小伙伴们,这篇关于《【专利】vivo“充电电路和充电器”专利公布》的介绍应该让你收获多多了吧!欢迎大家收藏或分享给更多需要学习的朋友吧~golang学习网公众号也会发布科技周边相关知识,快来关注吧!
在 KaibanJS 中使用 Exa 为 AI 代理提供支持
- 上一篇
- 在 KaibanJS 中使用 Exa 为 AI 代理提供支持
- 下一篇
- 北大电子学院陈景标教授团队在量子锁模法拉第激光领域取得重要进展
-
- 科技周边 · 人工智能 | 10分钟前 |
- Workbuddy任务提醒设置教程
- 490浏览 收藏
-
- 科技周边 · 人工智能 | 33分钟前 |
- DeepSeek官网入口及网页版访问方式
- 356浏览 收藏
-
- 科技周边 · 人工智能 | 1小时前 |
- Clawdbot心理咨询应用:AI能当倾听者吗?
- 394浏览 收藏
-
- 科技周边 · 人工智能 | 1小时前 | openclaw
- OpenClaw真实爆肝场景分享
- 110浏览 收藏
-
- 科技周边 · 人工智能 | 1小时前 |
- lovemo官网入口及正版链接大全
- 155浏览 收藏
-
- 科技周边 · 人工智能 | 1小时前 |
- Minimax视频生成入口及网页版地址
- 374浏览 收藏
-
- 科技周边 · 人工智能 | 1小时前 |
- Minimax生成素描线稿视频方法
- 363浏览 收藏
-
- 科技周边 · 人工智能 | 1小时前 |
- 豆包AI数学能力测试:能解算术题吗?
- 455浏览 收藏
-
- 科技周边 · 人工智能 | 1小时前 |
- Gemini语音提升客户咨询转化率方法
- 319浏览 收藏
-
- 科技周边 · 人工智能 | 2小时前 | AI视频制作
- 海螺AI角色生成技巧,人物全程稳定不崩【教程】
- 391浏览 收藏
-
- 科技周边 · 人工智能 | 2小时前 |
- 即梦AI生成动态图片方法及视频转换教程
- 365浏览 收藏
-
- 科技周边 · 人工智能 | 2小时前 |
- 龙虾机器人拍视频优缺点分析
- 400浏览 收藏
-
- 前端进阶之JavaScript设计模式
- 设计模式是开发人员在软件开发过程中面临一般问题时的解决方案,代表了最佳的实践。本课程的主打内容包括JS常见设计模式以及具体应用场景,打造一站式知识长龙服务,适合有JS基础的同学学习。
- 543次学习
-
- GO语言核心编程课程
- 本课程采用真实案例,全面具体可落地,从理论到实践,一步一步将GO核心编程技术、编程思想、底层实现融会贯通,使学习者贴近时代脉搏,做IT互联网时代的弄潮儿。
- 516次学习
-
- 简单聊聊mysql8与网络通信
- 如有问题加微信:Le-studyg;在课程中,我们将首先介绍MySQL8的新特性,包括性能优化、安全增强、新数据类型等,帮助学生快速熟悉MySQL8的最新功能。接着,我们将深入解析MySQL的网络通信机制,包括协议、连接管理、数据传输等,让
- 500次学习
-
- JavaScript正则表达式基础与实战
- 在任何一门编程语言中,正则表达式,都是一项重要的知识,它提供了高效的字符串匹配与捕获机制,可以极大的简化程序设计。
- 487次学习
-
- 从零制作响应式网站—Grid布局
- 本系列教程将展示从零制作一个假想的网络科技公司官网,分为导航,轮播,关于我们,成功案例,服务流程,团队介绍,数据部分,公司动态,底部信息等内容区块。网站整体采用CSSGrid布局,支持响应式,有流畅过渡和展现动画。
- 485次学习
-
- ChatExcel酷表
- ChatExcel酷表是由北京大学团队打造的Excel聊天机器人,用自然语言操控表格,简化数据处理,告别繁琐操作,提升工作效率!适用于学生、上班族及政府人员。
- 4234次使用
-
- Any绘本
- 探索Any绘本(anypicturebook.com/zh),一款开源免费的AI绘本创作工具,基于Google Gemini与Flux AI模型,让您轻松创作个性化绘本。适用于家庭、教育、创作等多种场景,零门槛,高自由度,技术透明,本地可控。
- 4590次使用
-
- 可赞AI
- 可赞AI,AI驱动的办公可视化智能工具,助您轻松实现文本与可视化元素高效转化。无论是智能文档生成、多格式文本解析,还是一键生成专业图表、脑图、知识卡片,可赞AI都能让信息处理更清晰高效。覆盖数据汇报、会议纪要、内容营销等全场景,大幅提升办公效率,降低专业门槛,是您提升工作效率的得力助手。
- 4476次使用
-
- 星月写作
- 星月写作是国内首款聚焦中文网络小说创作的AI辅助工具,解决网文作者从构思到变现的全流程痛点。AI扫榜、专属模板、全链路适配,助力新人快速上手,资深作者效率倍增。
- 6139次使用
-
- MagicLight
- MagicLight.ai是全球首款叙事驱动型AI动画视频创作平台,专注于解决从故事想法到完整动画的全流程痛点。它通过自研AI模型,保障角色、风格、场景高度一致性,让零动画经验者也能高效产出专业级叙事内容。广泛适用于独立创作者、动画工作室、教育机构及企业营销,助您轻松实现创意落地与商业化。
- 4849次使用
-
- GPT-4王者加冕!读图做题性能炸天,凭自己就能考上斯坦福
- 2023-04-25 501浏览
-
- 单块V100训练模型提速72倍!尤洋团队新成果获AAAI 2023杰出论文奖
- 2023-04-24 501浏览
-
- ChatGPT 真的会接管世界吗?
- 2023-04-13 501浏览
-
- VR的终极形态是「假眼」?Neuralink前联合创始人掏出新产品:科学之眼!
- 2023-04-30 501浏览
-
- 实现实时制造可视性优势有哪些?
- 2023-04-15 501浏览

