OPPO“可折叠电子设备”专利公布
2025-01-30 11:12:58
0浏览
收藏
本篇文章向大家介绍《OPPO“可折叠电子设备”专利公布》,主要包括,具有一定的参考价值,需要的朋友可以参考一下。
OPPO折叠屏手机专利公布:提升信号辐射性能
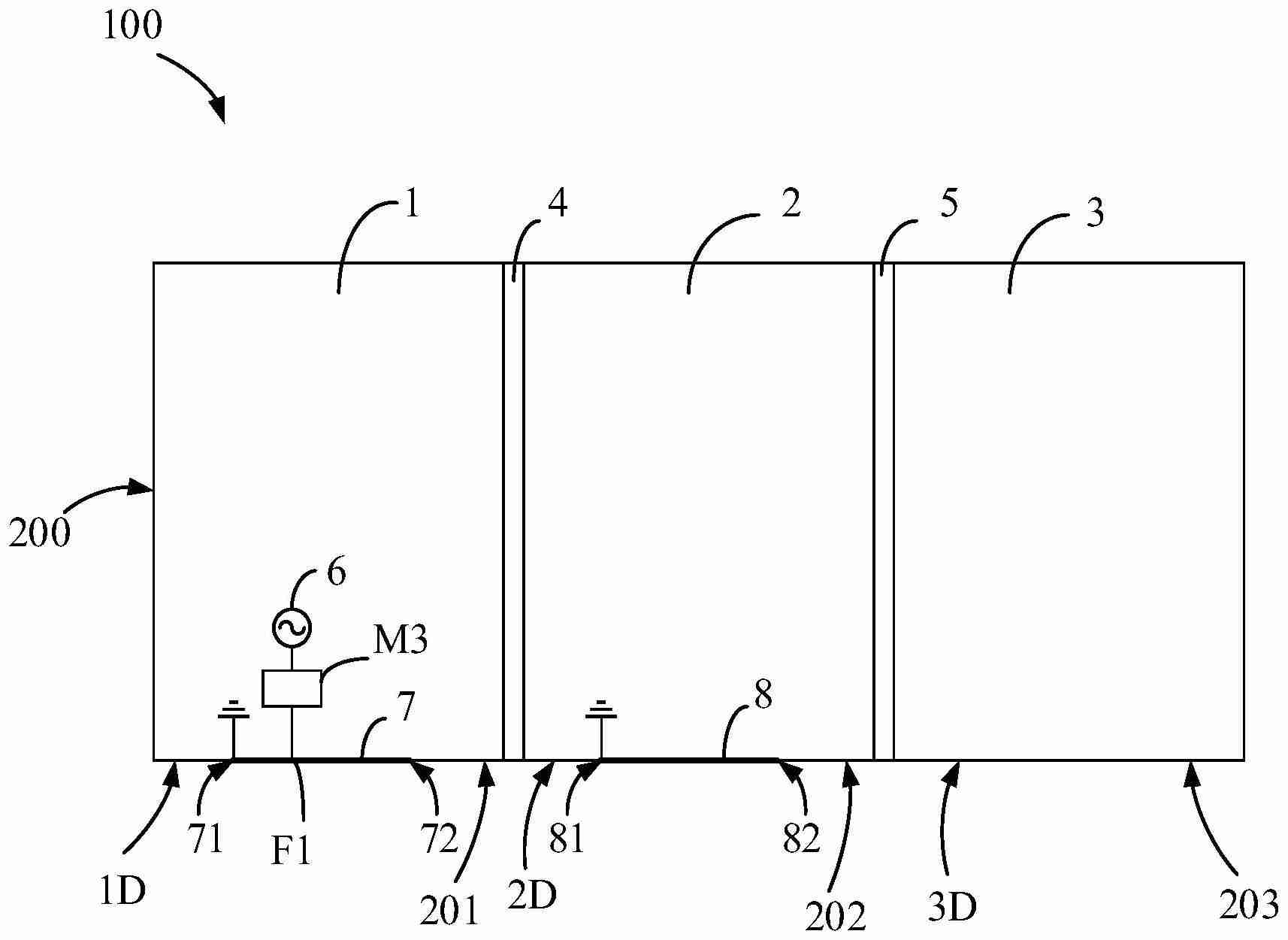
OPPO广东移动通信有限公司一项关于“可折叠电子设备”的专利于2024年12月31日公布,申请公布号为CN119231165A。天眼查信息显示,该专利设计了一种新型可折叠电子设备,旨在提升特定频段的信号辐射性能。

该专利设计包含三个主要部件(第一、第二、第三本体部),以及连接它们的两个转轴(第一、第二转轴)。 一个馈源和辐射枝节负责信号发射,并通过一个第一寄生枝节来增强特定频段的辐射性能。 当设备折叠时,三个部件相互靠近,寄生枝节与辐射枝节间的特殊布局,使得馈源能够有效激励寄生枝节,从而提升信号辐射效率。 这项专利技术有望显著改善可折叠电子设备的信号质量。
终于介绍完啦!小伙伴们,这篇关于《OPPO“可折叠电子设备”专利公布》的介绍应该让你收获多多了吧!欢迎大家收藏或分享给更多需要学习的朋友吧~golang学习网公众号也会发布科技周边相关知识,快来关注吧!
使用Deep Seek Rrom刮擦构建抹布(检索型的生成)应用
- 上一篇
- 使用Deep Seek Rrom刮擦构建抹布(检索型的生成)应用
- 下一篇
- Junit vs Mockito:了解差异和用例
查看更多
最新文章
-
- 科技周边 · 人工智能 | 7分钟前 |
- Minimax视频提示词权重设置全解析
- 178浏览 收藏
-
- 科技周边 · 人工智能 | 22分钟前 |
- 豆包大模型入口及开发者平台入口
- 439浏览 收藏
-
- 科技周边 · 人工智能 | 25分钟前 | openclaw
- OpenClaw配置文件位置及修改方法
- 326浏览 收藏
-
- 科技周边 · 人工智能 | 40分钟前 |
- Minimax语音合成语速语调调整方法
- 364浏览 收藏
-
- 科技周边 · 人工智能 | 46分钟前 |
- Python vs Node.js 调用 Gemini 性能对比
- 444浏览 收藏
-
- 科技周边 · 人工智能 | 48分钟前 |
- ChatGPT回答不完整?这招教你继续生成
- 222浏览 收藏
-
- 科技周边 · 人工智能 | 58分钟前 | QClaw
- QClaw系统功能差异详解
- 389浏览 收藏
-
- 科技周边 · 人工智能 | 59分钟前 |
- Krikey.ai支持哪些导出格式?
- 306浏览 收藏
-
- 科技周边 · 人工智能 | 1小时前 | aishort
- AISHORT内容如何分享给他人?
- 265浏览 收藏
-
- 科技周边 · 人工智能 | 1小时前 | 骡子快跑
- 骡子快跑能识别用户意图吗
- 281浏览 收藏
-
- 科技周边 · 人工智能 | 1小时前 |
- 豆包AI助你提升穿搭笔记时尚感
- 322浏览 收藏
-
- 科技周边 · 人工智能 | 1小时前 | Workbuddy
- WorkBuddy批量修改页眉页脚教程
- 136浏览 收藏
查看更多
课程推荐
-
- 前端进阶之JavaScript设计模式
- 设计模式是开发人员在软件开发过程中面临一般问题时的解决方案,代表了最佳的实践。本课程的主打内容包括JS常见设计模式以及具体应用场景,打造一站式知识长龙服务,适合有JS基础的同学学习。
- 543次学习
-
- GO语言核心编程课程
- 本课程采用真实案例,全面具体可落地,从理论到实践,一步一步将GO核心编程技术、编程思想、底层实现融会贯通,使学习者贴近时代脉搏,做IT互联网时代的弄潮儿。
- 516次学习
-
- 简单聊聊mysql8与网络通信
- 如有问题加微信:Le-studyg;在课程中,我们将首先介绍MySQL8的新特性,包括性能优化、安全增强、新数据类型等,帮助学生快速熟悉MySQL8的最新功能。接着,我们将深入解析MySQL的网络通信机制,包括协议、连接管理、数据传输等,让
- 500次学习
-
- JavaScript正则表达式基础与实战
- 在任何一门编程语言中,正则表达式,都是一项重要的知识,它提供了高效的字符串匹配与捕获机制,可以极大的简化程序设计。
- 487次学习
-
- 从零制作响应式网站—Grid布局
- 本系列教程将展示从零制作一个假想的网络科技公司官网,分为导航,轮播,关于我们,成功案例,服务流程,团队介绍,数据部分,公司动态,底部信息等内容区块。网站整体采用CSSGrid布局,支持响应式,有流畅过渡和展现动画。
- 485次学习
查看更多
AI推荐
-
- ChatExcel酷表
- ChatExcel酷表是由北京大学团队打造的Excel聊天机器人,用自然语言操控表格,简化数据处理,告别繁琐操作,提升工作效率!适用于学生、上班族及政府人员。
- 4224次使用
-
- Any绘本
- 探索Any绘本(anypicturebook.com/zh),一款开源免费的AI绘本创作工具,基于Google Gemini与Flux AI模型,让您轻松创作个性化绘本。适用于家庭、教育、创作等多种场景,零门槛,高自由度,技术透明,本地可控。
- 4578次使用
-
- 可赞AI
- 可赞AI,AI驱动的办公可视化智能工具,助您轻松实现文本与可视化元素高效转化。无论是智能文档生成、多格式文本解析,还是一键生成专业图表、脑图、知识卡片,可赞AI都能让信息处理更清晰高效。覆盖数据汇报、会议纪要、内容营销等全场景,大幅提升办公效率,降低专业门槛,是您提升工作效率的得力助手。
- 4463次使用
-
- 星月写作
- 星月写作是国内首款聚焦中文网络小说创作的AI辅助工具,解决网文作者从构思到变现的全流程痛点。AI扫榜、专属模板、全链路适配,助力新人快速上手,资深作者效率倍增。
- 6112次使用
-
- MagicLight
- MagicLight.ai是全球首款叙事驱动型AI动画视频创作平台,专注于解决从故事想法到完整动画的全流程痛点。它通过自研AI模型,保障角色、风格、场景高度一致性,让零动画经验者也能高效产出专业级叙事内容。广泛适用于独立创作者、动画工作室、教育机构及企业营销,助您轻松实现创意落地与商业化。
- 4832次使用
查看更多
相关文章
-
- GPT-4王者加冕!读图做题性能炸天,凭自己就能考上斯坦福
- 2023-04-25 501浏览
-
- 单块V100训练模型提速72倍!尤洋团队新成果获AAAI 2023杰出论文奖
- 2023-04-24 501浏览
-
- ChatGPT 真的会接管世界吗?
- 2023-04-13 501浏览
-
- VR的终极形态是「假眼」?Neuralink前联合创始人掏出新产品:科学之眼!
- 2023-04-30 501浏览
-
- 实现实时制造可视性优势有哪些?
- 2023-04-15 501浏览

