天马微电子“一种阵列基板和微流控装置”专利公布
2025-02-01 21:43:04
0浏览
收藏
有志者,事竟成!如果你在学习科技周边,那么本文《天马微电子“一种阵列基板和微流控装置”专利公布》,就很适合你!文章讲解的知识点主要包括,若是你对本文感兴趣,或者是想搞懂其中某个知识点,就请你继续往下看吧~
天马微电子新型专利公布:一种阵列基板和微流控装置
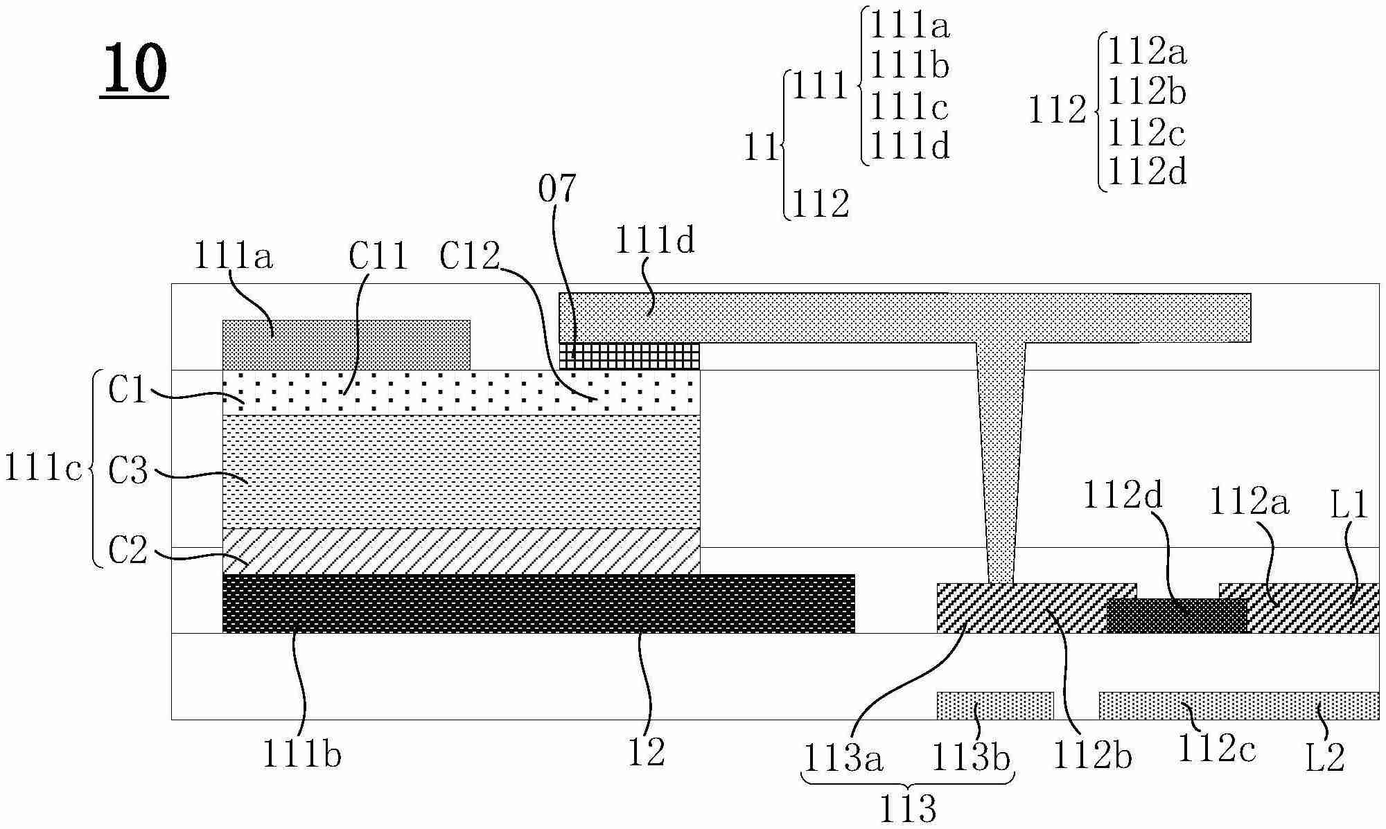
上海天马微电子有限公司近日公布一项名为“一种阵列基板和微流控装置”的新专利(申请公布号:CN119114174A,申请公布日:2024年12月13日)。

该专利设计了一种包含加热电路和加热电极的阵列基板,以及配套的微流控装置。其核心创新在于一种特殊的第一晶体管。该晶体管由第一电极、第二电极和半导体部分构成,半导体部分包含P型和N型半导体层。P型半导体层进一步分为与第一电极接触的第一部分和不与第一电极接触的第二部分。第二电极与N型半导体层接触,加热电极则与第一或第二电极电连接。此外,该晶体管还包含一个与第二部分重叠,并由绝缘层隔开的控制电极。
这种设计使得晶体管能够向加热电极输出低电压、高电流的电信号。这一特性能够在保证加热电极产生足够热量的同时,最大限度地减少其对基板上控制液滴移动过程的干扰,提升微流控装置的精准性和效率。
今天带大家了解了的相关知识,希望对你有所帮助;关于科技周边的技术知识我们会一点点深入介绍,欢迎大家关注golang学习网公众号,一起学习编程~
对新事物的快速概述!
- 上一篇
- 对新事物的快速概述!
- 下一篇
- 理解功能:从基础到更好的编码实践
查看更多
最新文章
-
- 科技周边 · 人工智能 | 2小时前 |
- Minimax提示词怎么写?视频生成指令指南
- 291浏览 收藏
-
- 科技周边 · 人工智能 | 2小时前 |
- 五感描写技巧:感官+场景+细节精准引导
- 286浏览 收藏
-
- 科技周边 · 人工智能 | 2小时前 |
- Kimi提问结构优化技巧分享
- 229浏览 收藏
-
- 科技周边 · 人工智能 | 2小时前 | 瑞达写作
- 瑞达写作官网登录入口及App获取方式
- 408浏览 收藏
-
- 科技周边 · 人工智能 | 3小时前 |
- 豆包AI帮你疏导情绪,做你的心理树洞
- 345浏览 收藏
-
- 科技周边 · 人工智能 | 3小时前 |
- 文心一言怎么写简历?求职信优化技巧
- 473浏览 收藏
-
- 科技周边 · 人工智能 | 3小时前 |
- 即梦AI修复照片教程:局部重绘技巧
- 281浏览 收藏
-
- 科技周边 · 人工智能 | 3小时前 | ai志愿助手
- AI志愿助手官网入口与使用教程
- 223浏览 收藏
-
- 科技周边 · 人工智能 | 3小时前 |
- Minimax制作教学视频教程详解
- 385浏览 收藏
-
- 科技周边 · 人工智能 | 4小时前 |
- Kimi生成视频卡顿怎么解决
- 197浏览 收藏
-
- 科技周边 · 人工智能 | 4小时前 | Workbuddy
- WorkBuddy配置Claw加密通道教程
- 338浏览 收藏
-
- 科技周边 · 人工智能 | 4小时前 |
- DeepSeek逻辑查错与代码修复技巧
- 258浏览 收藏
查看更多
课程推荐
-
- 前端进阶之JavaScript设计模式
- 设计模式是开发人员在软件开发过程中面临一般问题时的解决方案,代表了最佳的实践。本课程的主打内容包括JS常见设计模式以及具体应用场景,打造一站式知识长龙服务,适合有JS基础的同学学习。
- 543次学习
-
- GO语言核心编程课程
- 本课程采用真实案例,全面具体可落地,从理论到实践,一步一步将GO核心编程技术、编程思想、底层实现融会贯通,使学习者贴近时代脉搏,做IT互联网时代的弄潮儿。
- 516次学习
-
- 简单聊聊mysql8与网络通信
- 如有问题加微信:Le-studyg;在课程中,我们将首先介绍MySQL8的新特性,包括性能优化、安全增强、新数据类型等,帮助学生快速熟悉MySQL8的最新功能。接着,我们将深入解析MySQL的网络通信机制,包括协议、连接管理、数据传输等,让
- 500次学习
-
- JavaScript正则表达式基础与实战
- 在任何一门编程语言中,正则表达式,都是一项重要的知识,它提供了高效的字符串匹配与捕获机制,可以极大的简化程序设计。
- 487次学习
-
- 从零制作响应式网站—Grid布局
- 本系列教程将展示从零制作一个假想的网络科技公司官网,分为导航,轮播,关于我们,成功案例,服务流程,团队介绍,数据部分,公司动态,底部信息等内容区块。网站整体采用CSSGrid布局,支持响应式,有流畅过渡和展现动画。
- 485次学习
查看更多
AI推荐
-
- ChatExcel酷表
- ChatExcel酷表是由北京大学团队打造的Excel聊天机器人,用自然语言操控表格,简化数据处理,告别繁琐操作,提升工作效率!适用于学生、上班族及政府人员。
- 4251次使用
-
- Any绘本
- 探索Any绘本(anypicturebook.com/zh),一款开源免费的AI绘本创作工具,基于Google Gemini与Flux AI模型,让您轻松创作个性化绘本。适用于家庭、教育、创作等多种场景,零门槛,高自由度,技术透明,本地可控。
- 4612次使用
-
- 可赞AI
- 可赞AI,AI驱动的办公可视化智能工具,助您轻松实现文本与可视化元素高效转化。无论是智能文档生成、多格式文本解析,还是一键生成专业图表、脑图、知识卡片,可赞AI都能让信息处理更清晰高效。覆盖数据汇报、会议纪要、内容营销等全场景,大幅提升办公效率,降低专业门槛,是您提升工作效率的得力助手。
- 4497次使用
-
- 星月写作
- 星月写作是国内首款聚焦中文网络小说创作的AI辅助工具,解决网文作者从构思到变现的全流程痛点。AI扫榜、专属模板、全链路适配,助力新人快速上手,资深作者效率倍增。
- 6184次使用
-
- MagicLight
- MagicLight.ai是全球首款叙事驱动型AI动画视频创作平台,专注于解决从故事想法到完整动画的全流程痛点。它通过自研AI模型,保障角色、风格、场景高度一致性,让零动画经验者也能高效产出专业级叙事内容。广泛适用于独立创作者、动画工作室、教育机构及企业营销,助您轻松实现创意落地与商业化。
- 4871次使用
查看更多
相关文章
-
- GPT-4王者加冕!读图做题性能炸天,凭自己就能考上斯坦福
- 2023-04-25 501浏览
-
- 单块V100训练模型提速72倍!尤洋团队新成果获AAAI 2023杰出论文奖
- 2023-04-24 501浏览
-
- ChatGPT 真的会接管世界吗?
- 2023-04-13 501浏览
-
- VR的终极形态是「假眼」?Neuralink前联合创始人掏出新产品:科学之眼!
- 2023-04-30 501浏览
-
- 实现实时制造可视性优势有哪些?
- 2023-04-15 501浏览

