维信诺“吸附机构、光学检测设备和显示面板生产设备”专利公布
2025-02-08 08:24:34
0浏览
收藏
你在学习科技周边相关的知识吗?本文《维信诺“吸附机构、光学检测设备和显示面板生产设备”专利公布》,主要介绍的内容就涉及到,如果你想提升自己的开发能力,就不要错过这篇文章,大家要知道编程理论基础和实战操作都是不可或缺的哦!
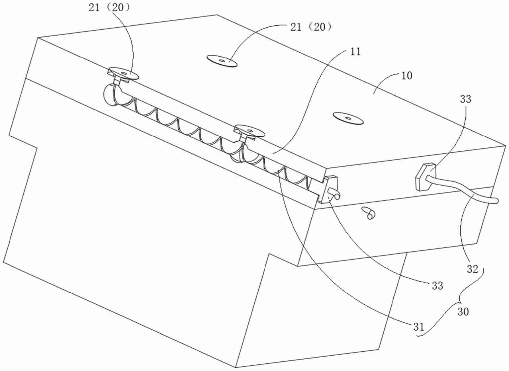
维信诺科技股份有限公司近日公布一项关于“吸附机构、光学检测设备和显示面板生产设备”的新专利(申请公布号:CN119117679A,申请公布日:2024年12月13日)。

该专利设计了一种改进的吸附机构,包含基台、吸附件和导电组件。基台内部设有容纳通道,吸附件安装在基台表面,并包含吸附本体和第一导电部(可伸入容纳通道)。导电组件一端连接吸附件的第一导电部并位于容纳通道内,另一端则伸出通道并接地。 这种设计巧妙地解决了传统吸附机构接地电阻难以满足静电放电检测标准的问题,有效提升了设备的可靠性和安全性。
到这里,我们也就讲完了《维信诺“吸附机构、光学检测设备和显示面板生产设备”专利公布》的内容了。个人认为,基础知识的学习和巩固,是为了更好的将其运用到项目中,欢迎关注golang学习网公众号,带你了解更多关于维信诺的知识点!
广汽集团1月销量为9.84万辆,同比减少25.41%
- 上一篇
- 广汽集团1月销量为9.84万辆,同比减少25.41%
- 下一篇
- 深入研究Net/NetIP ADDR方法
查看更多
最新文章
-
- 科技周边 · 人工智能 | 6小时前 |
- 可灵AI让照片动起来的技巧分享
- 411浏览 收藏
-
- 科技周边 · 人工智能 | 6小时前 | 骡子快跑
- 骡子快跑支持LaTeX吗?数学符号渲染教程
- 164浏览 收藏
-
- 科技周边 · 人工智能 | 6小时前 | 百度AI文心一言
- 文心一言生成古风插画方法教程
- 115浏览 收藏
-
- 科技周边 · 人工智能 | 6小时前 |
- 多轮对话企业知识助手实战构建
- 109浏览 收藏
-
- 科技周边 · 人工智能 | 6小时前 |
- PerplexityAI如何高效改写文章|文本优化技巧分享
- 404浏览 收藏
-
- 科技周边 · 人工智能 | 6小时前 |
- 豆包AI批量生成选题方法解析
- 436浏览 收藏
-
- 科技周边 · 人工智能 | 7小时前 |
- workbuddy安装流程详解及快速指南
- 309浏览 收藏
-
- 科技周边 · 人工智能 | 7小时前 | 文心一言 快速登录
- 文心一言官网登录指南 文心一言网页版入口操作
- 129浏览 收藏
-
- 科技周边 · 人工智能 | 7小时前 | Claude
- Claude Code使用技巧分享及实战指南
- 274浏览 收藏
-
- 科技周边 · 人工智能 | 7小时前 |
- 海螺AI视频色偏怎么调?色彩校准教程
- 199浏览 收藏
-
- 科技周边 · 人工智能 | 7小时前 |
- Gemini图像识别进阶教程:AI解析照片装修建议
- 369浏览 收藏
-
- 科技周边 · 人工智能 | 7小时前 |
- WorkBuddy AI开题报告怎么写?
- 117浏览 收藏
查看更多
课程推荐
-
- 前端进阶之JavaScript设计模式
- 设计模式是开发人员在软件开发过程中面临一般问题时的解决方案,代表了最佳的实践。本课程的主打内容包括JS常见设计模式以及具体应用场景,打造一站式知识长龙服务,适合有JS基础的同学学习。
- 543次学习
-
- GO语言核心编程课程
- 本课程采用真实案例,全面具体可落地,从理论到实践,一步一步将GO核心编程技术、编程思想、底层实现融会贯通,使学习者贴近时代脉搏,做IT互联网时代的弄潮儿。
- 516次学习
-
- 简单聊聊mysql8与网络通信
- 如有问题加微信:Le-studyg;在课程中,我们将首先介绍MySQL8的新特性,包括性能优化、安全增强、新数据类型等,帮助学生快速熟悉MySQL8的最新功能。接着,我们将深入解析MySQL的网络通信机制,包括协议、连接管理、数据传输等,让
- 500次学习
-
- JavaScript正则表达式基础与实战
- 在任何一门编程语言中,正则表达式,都是一项重要的知识,它提供了高效的字符串匹配与捕获机制,可以极大的简化程序设计。
- 487次学习
-
- 从零制作响应式网站—Grid布局
- 本系列教程将展示从零制作一个假想的网络科技公司官网,分为导航,轮播,关于我们,成功案例,服务流程,团队介绍,数据部分,公司动态,底部信息等内容区块。网站整体采用CSSGrid布局,支持响应式,有流畅过渡和展现动画。
- 485次学习
查看更多
AI推荐
-
- ChatExcel酷表
- ChatExcel酷表是由北京大学团队打造的Excel聊天机器人,用自然语言操控表格,简化数据处理,告别繁琐操作,提升工作效率!适用于学生、上班族及政府人员。
- 4242次使用
-
- Any绘本
- 探索Any绘本(anypicturebook.com/zh),一款开源免费的AI绘本创作工具,基于Google Gemini与Flux AI模型,让您轻松创作个性化绘本。适用于家庭、教育、创作等多种场景,零门槛,高自由度,技术透明,本地可控。
- 4598次使用
-
- 可赞AI
- 可赞AI,AI驱动的办公可视化智能工具,助您轻松实现文本与可视化元素高效转化。无论是智能文档生成、多格式文本解析,还是一键生成专业图表、脑图、知识卡片,可赞AI都能让信息处理更清晰高效。覆盖数据汇报、会议纪要、内容营销等全场景,大幅提升办公效率,降低专业门槛,是您提升工作效率的得力助手。
- 4484次使用
-
- 星月写作
- 星月写作是国内首款聚焦中文网络小说创作的AI辅助工具,解决网文作者从构思到变现的全流程痛点。AI扫榜、专属模板、全链路适配,助力新人快速上手,资深作者效率倍增。
- 6148次使用
-
- MagicLight
- MagicLight.ai是全球首款叙事驱动型AI动画视频创作平台,专注于解决从故事想法到完整动画的全流程痛点。它通过自研AI模型,保障角色、风格、场景高度一致性,让零动画经验者也能高效产出专业级叙事内容。广泛适用于独立创作者、动画工作室、教育机构及企业营销,助您轻松实现创意落地与商业化。
- 4857次使用
查看更多
相关文章
-
- GPT-4王者加冕!读图做题性能炸天,凭自己就能考上斯坦福
- 2023-04-25 501浏览
-
- 单块V100训练模型提速72倍!尤洋团队新成果获AAAI 2023杰出论文奖
- 2023-04-24 501浏览
-
- ChatGPT 真的会接管世界吗?
- 2023-04-13 501浏览
-
- VR的终极形态是「假眼」?Neuralink前联合创始人掏出新产品:科学之眼!
- 2023-04-30 501浏览
-
- 实现实时制造可视性优势有哪些?
- 2023-04-15 501浏览

