赛力斯申请“问界租赁”等商标,状态为等待实质审查
2025-02-12 12:30:55
0浏览
收藏
编程并不是一个机械性的工作,而是需要有思考,有创新的工作,语法是固定的,但解决问题的思路则是依靠人的思维,这就需要我们坚持学习和更新自己的知识。今天golang学习网就整理分享《赛力斯申请“问界租赁”等商标,状态为等待实质审查》,文章讲解的知识点主要包括,如果你对科技周边方面的知识点感兴趣,就不要错过golang学习网,在这可以对大家的知识积累有所帮助,助力开发能力的提升。
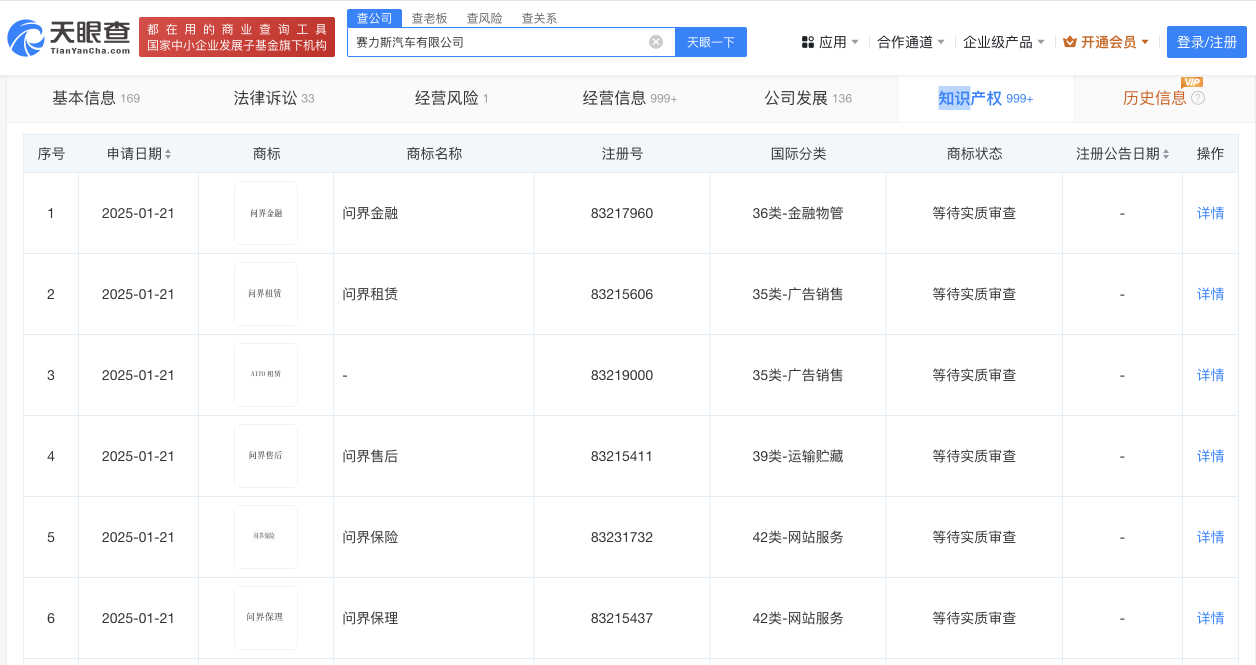
赛力斯汽车拓展业务版图,申请注册多项金融服务商标!天眼查数据显示,赛力斯汽车有限公司已申请注册“问界金融”、“问界租赁”、“问界售后”、“问界保险”等商标,涵盖金融物管、广告销售、运输贮藏等多个国际分类,目前正处于等待实质审查阶段。

成立于2012年的赛力斯汽车有限公司,由赛力斯和国开制造业转型升级基金共同持股,法定代表人为岑远川。公司主营业务为新能源汽车及其零部件的研发、生产和销售,并提供相关技术咨询、技术服务和技术成果转让等服务。

值得关注的是,赛力斯汽车2025年1月新能源汽车产量和销量均出现下滑。数据显示,当月新能源汽车产量为19,889辆,同比下降48.67%;销量为17,906辆,同比下降51.39%。赛力斯品牌汽车产量为17,513辆,同比下降44.88%;销量为16,432辆,同比下降47.02%。其他车型产量为2,734辆,同比下降59.56%;销量为4,524辆,同比下降0.77%。总产量和销量分别为22,623辆和22,430辆,同比下降50.29%和45.82%。
(校对/黄仁贵)
理论要掌握,实操不能落!以上关于《赛力斯申请“问界租赁”等商标,状态为等待实质审查》的详细介绍,大家都掌握了吧!如果想要继续提升自己的能力,那么就来关注golang学习网公众号吧!
重塑A轿“智”高点,第二代秦PLUS智驾版携四大升级强势登场
- 上一篇
- 重塑A轿“智”高点,第二代秦PLUS智驾版携四大升级强势登场
- 下一篇
- 芯动联科2024年净利润为2.2亿元,同比增长33.25%
查看更多
最新文章
-
- 科技周边 · 人工智能 | 4分钟前 | openclaw
- OpenClawAI优化Llama3响应速度技巧
- 437浏览 收藏
-
- 科技周边 · 人工智能 | 6分钟前 | Capybara
- CapybaraAI有夜间模式吗_暗色主题开启方法
- 163浏览 收藏
-
- 科技周边 · 人工智能 | 27分钟前 |
- Perplexity AI直播脚本怎么写?
- 231浏览 收藏
-
- 科技周边 · 人工智能 | 39分钟前 |
- Workbuddy任务提醒设置教程
- 490浏览 收藏
-
- 科技周边 · 人工智能 | 1小时前 |
- DeepSeek官网入口及网页版访问方式
- 356浏览 收藏
-
- 科技周边 · 人工智能 | 1小时前 |
- Clawdbot心理咨询应用:AI能当倾听者吗?
- 394浏览 收藏
-
- 科技周边 · 人工智能 | 1小时前 | openclaw
- OpenClaw真实爆肝场景分享
- 110浏览 收藏
-
- 科技周边 · 人工智能 | 2小时前 |
- lovemo官网入口及正版链接大全
- 155浏览 收藏
-
- 科技周边 · 人工智能 | 2小时前 |
- Minimax视频生成入口及网页版地址
- 374浏览 收藏
-
- 科技周边 · 人工智能 | 2小时前 |
- Minimax生成素描线稿视频方法
- 363浏览 收藏
-
- 科技周边 · 人工智能 | 2小时前 |
- 豆包AI数学能力测试:能解算术题吗?
- 455浏览 收藏
-
- 科技周边 · 人工智能 | 2小时前 |
- Gemini语音提升客户咨询转化率方法
- 319浏览 收藏
查看更多
课程推荐
-
- 前端进阶之JavaScript设计模式
- 设计模式是开发人员在软件开发过程中面临一般问题时的解决方案,代表了最佳的实践。本课程的主打内容包括JS常见设计模式以及具体应用场景,打造一站式知识长龙服务,适合有JS基础的同学学习。
- 543次学习
-
- GO语言核心编程课程
- 本课程采用真实案例,全面具体可落地,从理论到实践,一步一步将GO核心编程技术、编程思想、底层实现融会贯通,使学习者贴近时代脉搏,做IT互联网时代的弄潮儿。
- 516次学习
-
- 简单聊聊mysql8与网络通信
- 如有问题加微信:Le-studyg;在课程中,我们将首先介绍MySQL8的新特性,包括性能优化、安全增强、新数据类型等,帮助学生快速熟悉MySQL8的最新功能。接着,我们将深入解析MySQL的网络通信机制,包括协议、连接管理、数据传输等,让
- 500次学习
-
- JavaScript正则表达式基础与实战
- 在任何一门编程语言中,正则表达式,都是一项重要的知识,它提供了高效的字符串匹配与捕获机制,可以极大的简化程序设计。
- 487次学习
-
- 从零制作响应式网站—Grid布局
- 本系列教程将展示从零制作一个假想的网络科技公司官网,分为导航,轮播,关于我们,成功案例,服务流程,团队介绍,数据部分,公司动态,底部信息等内容区块。网站整体采用CSSGrid布局,支持响应式,有流畅过渡和展现动画。
- 485次学习
查看更多
AI推荐
-
- ChatExcel酷表
- ChatExcel酷表是由北京大学团队打造的Excel聊天机器人,用自然语言操控表格,简化数据处理,告别繁琐操作,提升工作效率!适用于学生、上班族及政府人员。
- 4234次使用
-
- Any绘本
- 探索Any绘本(anypicturebook.com/zh),一款开源免费的AI绘本创作工具,基于Google Gemini与Flux AI模型,让您轻松创作个性化绘本。适用于家庭、教育、创作等多种场景,零门槛,高自由度,技术透明,本地可控。
- 4590次使用
-
- 可赞AI
- 可赞AI,AI驱动的办公可视化智能工具,助您轻松实现文本与可视化元素高效转化。无论是智能文档生成、多格式文本解析,还是一键生成专业图表、脑图、知识卡片,可赞AI都能让信息处理更清晰高效。覆盖数据汇报、会议纪要、内容营销等全场景,大幅提升办公效率,降低专业门槛,是您提升工作效率的得力助手。
- 4476次使用
-
- 星月写作
- 星月写作是国内首款聚焦中文网络小说创作的AI辅助工具,解决网文作者从构思到变现的全流程痛点。AI扫榜、专属模板、全链路适配,助力新人快速上手,资深作者效率倍增。
- 6139次使用
-
- MagicLight
- MagicLight.ai是全球首款叙事驱动型AI动画视频创作平台,专注于解决从故事想法到完整动画的全流程痛点。它通过自研AI模型,保障角色、风格、场景高度一致性,让零动画经验者也能高效产出专业级叙事内容。广泛适用于独立创作者、动画工作室、教育机构及企业营销,助您轻松实现创意落地与商业化。
- 4849次使用
查看更多
相关文章
-
- GPT-4王者加冕!读图做题性能炸天,凭自己就能考上斯坦福
- 2023-04-25 501浏览
-
- 单块V100训练模型提速72倍!尤洋团队新成果获AAAI 2023杰出论文奖
- 2023-04-24 501浏览
-
- ChatGPT 真的会接管世界吗?
- 2023-04-13 501浏览
-
- VR的终极形态是「假眼」?Neuralink前联合创始人掏出新产品:科学之眼!
- 2023-04-30 501浏览
-
- 实现实时制造可视性优势有哪些?
- 2023-04-15 501浏览

