北方华创“进气装置及半导体设备”专利揭秘
2025-04-04 11:42:36
0浏览
收藏
北方华创微电子装备有限公司近日公开一项名为“进气装置及半导体设备”的专利(申请公布号:CN119433507A),旨在优化半导体设备的气体输送和分配。该专利设计了一种包含匀流结构和气体分配结构的新型进气装置,通过环形匀流腔和配气腔的巧妙组合,以及气体分配结构在不同位置的切换,实现气体先均匀化再非均匀排出的功能,从而提升半导体工艺的效率和精度。此项专利技术的曝光,预示着北方华创在半导体设备领域的技术创新持续推进,进一步巩固其在国内市场的竞争力。
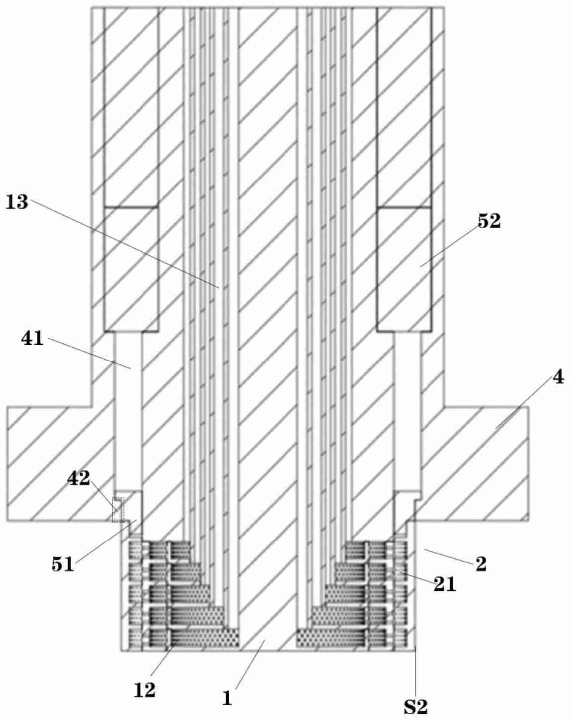
北方华创微电子装备有限公司一项名为“进气装置及半导体设备”的专利于2025年2月14日公开,申请公布号为CN119433507A。天眼查信息显示,该专利设计了一种新型进气装置。

该装置包含匀流结构和气体分配结构两部分。匀流结构由多个环形匀流腔和与其相连的进气管道构成,其外环侧面均匀分布着多个第一出气孔。气体分配结构则由多个与匀流腔同轴的环形配气腔组成,外周表面非均匀分布着多个第二出气孔。 气体分配结构可在第一位置和第二位置之间移动:第一位置时,它环绕匀流结构外周,配气腔进气端与第一出气孔密封连接,气体经第二出气孔非均匀排出;第二位置时,它与匀流结构错开,使第一出气孔暴露于半导体工艺腔室,实现均匀出气。 此设计旨在优化半导体设备的气体输送和分配。
以上就是《北方华创“进气装置及半导体设备”专利揭秘》的详细内容,更多关于半导体设备,进气装置,匀流结构,气体分配结构的资料请关注golang学习网公众号!
LinuxFTPServer版本选择攻略及推荐
- 上一篇
- LinuxFTPServer版本选择攻略及推荐
- 下一篇
- Firefox开发者工具查看JS执行技巧
查看更多
最新文章
-
- 科技周边 · 人工智能 | 12分钟前 |
- 千问AI如何写Kafka生产者?深度教程
- 158浏览 收藏
-
- 科技周边 · 人工智能 | 21分钟前 |
- 豆包AI助你快速掌握机械设计原理
- 187浏览 收藏
-
- 科技周边 · 人工智能 | 27分钟前 | 骡子快跑
- 骡子快跑极简主义推荐与实践
- 255浏览 收藏
-
- 科技周边 · 人工智能 | 47分钟前 |
- AI自动写邮件,告别工作焦虑
- 142浏览 收藏
-
- 科技周边 · 人工智能 | 56分钟前 |
- 提升代码稳定性,DeepSeek自动化回归测试指南
- 462浏览 收藏
-
- 科技周边 · 人工智能 | 1小时前 | Llama 3
- Llama 3运行报错:内核崩溃资源耗尽解决方法
- 332浏览 收藏
-
- 科技周边 · 人工智能 | 1小时前 |
- HermesAgent安装脚本详解:Windows一键安装指南
- 433浏览 收藏
-
- 科技周边 · 人工智能 | 1小时前 | Hermes Agent HermesAgent
- HermesAgent配置错误排查指南
- 199浏览 收藏
-
- 科技周边 · 人工智能 | 1小时前 |
- DeepSeek-V4:新一代大语言模型发布
- 223浏览 收藏
-
- 科技周边 · 人工智能 | 1小时前 |
- 如何优化提示词提升图片生成效果
- 226浏览 收藏
-
- 科技周边 · 人工智能 | 1小时前 |
- Perplexity订阅异常终止解决方法
- 393浏览 收藏
-
- 科技周边 · 人工智能 | 1小时前 |
- AI卡皮巴拉模型训练全攻略
- 176浏览 收藏
查看更多
课程推荐
-
- 前端进阶之JavaScript设计模式
- 设计模式是开发人员在软件开发过程中面临一般问题时的解决方案,代表了最佳的实践。本课程的主打内容包括JS常见设计模式以及具体应用场景,打造一站式知识长龙服务,适合有JS基础的同学学习。
- 543次学习
-
- GO语言核心编程课程
- 本课程采用真实案例,全面具体可落地,从理论到实践,一步一步将GO核心编程技术、编程思想、底层实现融会贯通,使学习者贴近时代脉搏,做IT互联网时代的弄潮儿。
- 516次学习
-
- 简单聊聊mysql8与网络通信
- 如有问题加微信:Le-studyg;在课程中,我们将首先介绍MySQL8的新特性,包括性能优化、安全增强、新数据类型等,帮助学生快速熟悉MySQL8的最新功能。接着,我们将深入解析MySQL的网络通信机制,包括协议、连接管理、数据传输等,让
- 500次学习
-
- JavaScript正则表达式基础与实战
- 在任何一门编程语言中,正则表达式,都是一项重要的知识,它提供了高效的字符串匹配与捕获机制,可以极大的简化程序设计。
- 487次学习
-
- 从零制作响应式网站—Grid布局
- 本系列教程将展示从零制作一个假想的网络科技公司官网,分为导航,轮播,关于我们,成功案例,服务流程,团队介绍,数据部分,公司动态,底部信息等内容区块。网站整体采用CSSGrid布局,支持响应式,有流畅过渡和展现动画。
- 485次学习
查看更多
AI推荐
-
- ChatExcel酷表
- ChatExcel酷表是由北京大学团队打造的Excel聊天机器人,用自然语言操控表格,简化数据处理,告别繁琐操作,提升工作效率!适用于学生、上班族及政府人员。
- 4515次使用
-
- Any绘本
- 探索Any绘本(anypicturebook.com/zh),一款开源免费的AI绘本创作工具,基于Google Gemini与Flux AI模型,让您轻松创作个性化绘本。适用于家庭、教育、创作等多种场景,零门槛,高自由度,技术透明,本地可控。
- 4865次使用
-
- 可赞AI
- 可赞AI,AI驱动的办公可视化智能工具,助您轻松实现文本与可视化元素高效转化。无论是智能文档生成、多格式文本解析,还是一键生成专业图表、脑图、知识卡片,可赞AI都能让信息处理更清晰高效。覆盖数据汇报、会议纪要、内容营销等全场景,大幅提升办公效率,降低专业门槛,是您提升工作效率的得力助手。
- 4742次使用
-
- 星月写作
- 星月写作是国内首款聚焦中文网络小说创作的AI辅助工具,解决网文作者从构思到变现的全流程痛点。AI扫榜、专属模板、全链路适配,助力新人快速上手,资深作者效率倍增。
- 6597次使用
-
- MagicLight
- MagicLight.ai是全球首款叙事驱动型AI动画视频创作平台,专注于解决从故事想法到完整动画的全流程痛点。它通过自研AI模型,保障角色、风格、场景高度一致性,让零动画经验者也能高效产出专业级叙事内容。广泛适用于独立创作者、动画工作室、教育机构及企业营销,助您轻松实现创意落地与商业化。
- 5103次使用
查看更多
相关文章
-
- GPT-4王者加冕!读图做题性能炸天,凭自己就能考上斯坦福
- 2023-04-25 501浏览
-
- 单块V100训练模型提速72倍!尤洋团队新成果获AAAI 2023杰出论文奖
- 2023-04-24 501浏览
-
- ChatGPT 真的会接管世界吗?
- 2023-04-13 501浏览
-
- VR的终极形态是「假眼」?Neuralink前联合创始人掏出新产品:科学之眼!
- 2023-04-30 501浏览
-
- 实现实时制造可视性优势有哪些?
- 2023-04-15 501浏览

