小米SU7图形商标申请暗示新车计划
小米汽车持续发力,近日申请注册多项汽车相关商标,包括“XIAOMI SU7 ULTRA”等图形商标,以及“XIAOMI EV ULTRA CLUB”等,涵盖运输工具、娱乐等多个领域,目前正等待实质审查。此前,小米已申请注册一系列汽车相关商标及著作权,包括“小米SU7抽象艺术轮廓标识”等,并于2024年3月28日推出首款纯电智能轿车SU7,2024年交付量超13.5万辆。此番商标申请或预示着小米未来将推出更多车型,进一步拓展其新能源汽车市场版图。
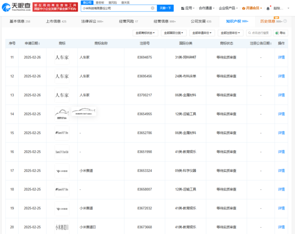
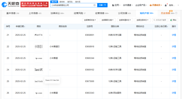
近日,天眼查信息显示,小米科技有限责任公司申请注册了多项与汽车相关的商标,包括“XIAOMI SU7 ULTRA”“小米赛道”“XIAOMI SU 7”图形商标,以及“XIAOMI EV ULTRA CLUB”“XIAOMI AIPC”等。这些商标的国际分类涉及运输工具、教育娱乐、科学仪器等领域,目前均处于等待实质审查阶段。

前段时间,小米申请了一系列与汽车相关的商标和著作权,包括“小米SU7抽象艺术轮廓标识”的作品著作权、“智能屏界面设计”(类似摄制电影方法创作的作品)、“汽车”“智能仪表表情动态”“小米汽车轮毂”以及“智能仪表表情静态”等。这些作品分别属于美术和类似摄制电影方法创作的类别。
此外,今年1月,小米还申请注册了“XIAOMI FU”“XIAOMI WU”“XIAOMI OU”“XIAOMI MU”“XIAOMI GU”“XIAOMI RU”等商标,国际分类均为运输工具,目前商标状态均为等待实质审查。这些“U”字辈商标可能是为未来新车做准备。


小米汽车首款车型SU7于2024年3月28日正式上市,定位为纯电智能轿车。2024年,小米汽车凭借SU7一款车型,全年交付量超过13.5万辆。2025年,小米汽车的交付目标为30万辆。此外,小米汽车的第二款车型YU7已于2024年底登陆工信部第390批《道路机动车辆生产企业及产品公告》,新车为一款纯电SUV。
终于介绍完啦!小伙伴们,这篇关于《小米SU7图形商标申请暗示新车计划》的介绍应该让你收获多多了吧!欢迎大家收藏或分享给更多需要学习的朋友吧~golang学习网公众号也会发布科技周边相关知识,快来关注吧!
使用Scapy爬虫时,管道持久化存储文件无法写入的原因及解决方法:权限问题:确保有足够的权限写入目标目录,可使用sudo提升权限。文件路径错误:检查并使用绝对路径,确保路径正确且可访问。文件已被锁定:关闭占用文件的程序,或使用os模块检查文件锁定状态。磁盘空间不足:确认目标磁盘有足够空间,或选择其他存储位置。Scapy配置问题:检查Scapy配置,特别是文件操作相关设置。代码逻辑错误:确保文件操作
- 上一篇
- 使用Scapy爬虫时,管道持久化存储文件无法写入的原因及解决方法:权限问题:确保有足够的权限写入目标目录,可使用sudo提升权限。文件路径错误:检查并使用绝对路径,确保路径正确且可访问。文件已被锁定:关闭占用文件的程序,或使用os模块检查文件锁定状态。磁盘空间不足:确认目标磁盘有足够空间,或选择其他存储位置。Scapy配置问题:检查Scapy配置,特别是文件操作相关设置。代码逻辑错误:确保文件操作
- 下一篇
- UmiMPA模式配置难?原因与解决方案大揭秘
-
- 科技周边 · 人工智能 | 17分钟前 |
- Core本地部署全流程,零基础搭建智能助手
- 451浏览 收藏
-
- 科技周边 · 人工智能 | 19分钟前 | CodeGeeX
- CodeGeeX编写定时执行Python脚本方法
- 440浏览 收藏
-
- 科技周边 · 人工智能 | 28分钟前 | openclaw
- OpenClaw编程助手靠谱吗?真实体验分享
- 442浏览 收藏
-
- 科技周边 · 人工智能 | 28分钟前 | Hermes Agent HermesAgent
- Hermes Agent手机版使用教程及操作指南
- 409浏览 收藏
-
- 科技周边 · 人工智能 | 49分钟前 |
- Perplexity找UI组件库:Ant Design vs Tailwind对比
- 474浏览 收藏
-
- 科技周边 · 人工智能 | 1小时前 | 豆包AI 豆包AI助手
- 豆包AI怎么读PDF\_豆包AI文档阅读教程
- 381浏览 收藏
-
- 科技周边 · 人工智能 | 1小时前 |
- 豆包大模型如何搭配数据迁移工具?攻略详解
- 297浏览 收藏
-
- 科技周边 · 人工智能 | 1小时前 |
- Perplexity查Unity组件用法,官方手册精准搜索方法
- 413浏览 收藏
-
- 科技周边 · 人工智能 | 1小时前 |
- Kimi用户行为分析方法解析
- 404浏览 收藏
-
- 科技周边 · 人工智能 | 1小时前 |
- AI学会“睡觉”?Claude任务成功率暴涨6倍真相揭秘
- 121浏览 收藏
-
- 科技周边 · 人工智能 | 1小时前 |
- Python 处理 Minimax API 流式输出方法
- 467浏览 收藏
-
- 科技周边 · 人工智能 | 1小时前 |
- ChatGPT快速生成多语种跨境电商产品描述方法
- 150浏览 收藏
-
- 前端进阶之JavaScript设计模式
- 设计模式是开发人员在软件开发过程中面临一般问题时的解决方案,代表了最佳的实践。本课程的主打内容包括JS常见设计模式以及具体应用场景,打造一站式知识长龙服务,适合有JS基础的同学学习。
- 543次学习
-
- GO语言核心编程课程
- 本课程采用真实案例,全面具体可落地,从理论到实践,一步一步将GO核心编程技术、编程思想、底层实现融会贯通,使学习者贴近时代脉搏,做IT互联网时代的弄潮儿。
- 516次学习
-
- 简单聊聊mysql8与网络通信
- 如有问题加微信:Le-studyg;在课程中,我们将首先介绍MySQL8的新特性,包括性能优化、安全增强、新数据类型等,帮助学生快速熟悉MySQL8的最新功能。接着,我们将深入解析MySQL的网络通信机制,包括协议、连接管理、数据传输等,让
- 500次学习
-
- JavaScript正则表达式基础与实战
- 在任何一门编程语言中,正则表达式,都是一项重要的知识,它提供了高效的字符串匹配与捕获机制,可以极大的简化程序设计。
- 487次学习
-
- 从零制作响应式网站—Grid布局
- 本系列教程将展示从零制作一个假想的网络科技公司官网,分为导航,轮播,关于我们,成功案例,服务流程,团队介绍,数据部分,公司动态,底部信息等内容区块。网站整体采用CSSGrid布局,支持响应式,有流畅过渡和展现动画。
- 485次学习
-
- ChatExcel酷表
- ChatExcel酷表是由北京大学团队打造的Excel聊天机器人,用自然语言操控表格,简化数据处理,告别繁琐操作,提升工作效率!适用于学生、上班族及政府人员。
- 4513次使用
-
- Any绘本
- 探索Any绘本(anypicturebook.com/zh),一款开源免费的AI绘本创作工具,基于Google Gemini与Flux AI模型,让您轻松创作个性化绘本。适用于家庭、教育、创作等多种场景,零门槛,高自由度,技术透明,本地可控。
- 4865次使用
-
- 可赞AI
- 可赞AI,AI驱动的办公可视化智能工具,助您轻松实现文本与可视化元素高效转化。无论是智能文档生成、多格式文本解析,还是一键生成专业图表、脑图、知识卡片,可赞AI都能让信息处理更清晰高效。覆盖数据汇报、会议纪要、内容营销等全场景,大幅提升办公效率,降低专业门槛,是您提升工作效率的得力助手。
- 4742次使用
-
- 星月写作
- 星月写作是国内首款聚焦中文网络小说创作的AI辅助工具,解决网文作者从构思到变现的全流程痛点。AI扫榜、专属模板、全链路适配,助力新人快速上手,资深作者效率倍增。
- 6586次使用
-
- MagicLight
- MagicLight.ai是全球首款叙事驱动型AI动画视频创作平台,专注于解决从故事想法到完整动画的全流程痛点。它通过自研AI模型,保障角色、风格、场景高度一致性,让零动画经验者也能高效产出专业级叙事内容。广泛适用于独立创作者、动画工作室、教育机构及企业营销,助您轻松实现创意落地与商业化。
- 5101次使用
-
- GPT-4王者加冕!读图做题性能炸天,凭自己就能考上斯坦福
- 2023-04-25 501浏览
-
- 单块V100训练模型提速72倍!尤洋团队新成果获AAAI 2023杰出论文奖
- 2023-04-24 501浏览
-
- ChatGPT 真的会接管世界吗?
- 2023-04-13 501浏览
-
- VR的终极形态是「假眼」?Neuralink前联合创始人掏出新产品:科学之眼!
- 2023-04-30 501浏览
-
- 实现实时制造可视性优势有哪些?
- 2023-04-15 501浏览

