宁德时代专利曝光:车辆电池装配新技术
2025-05-21 17:57:10
0浏览
收藏
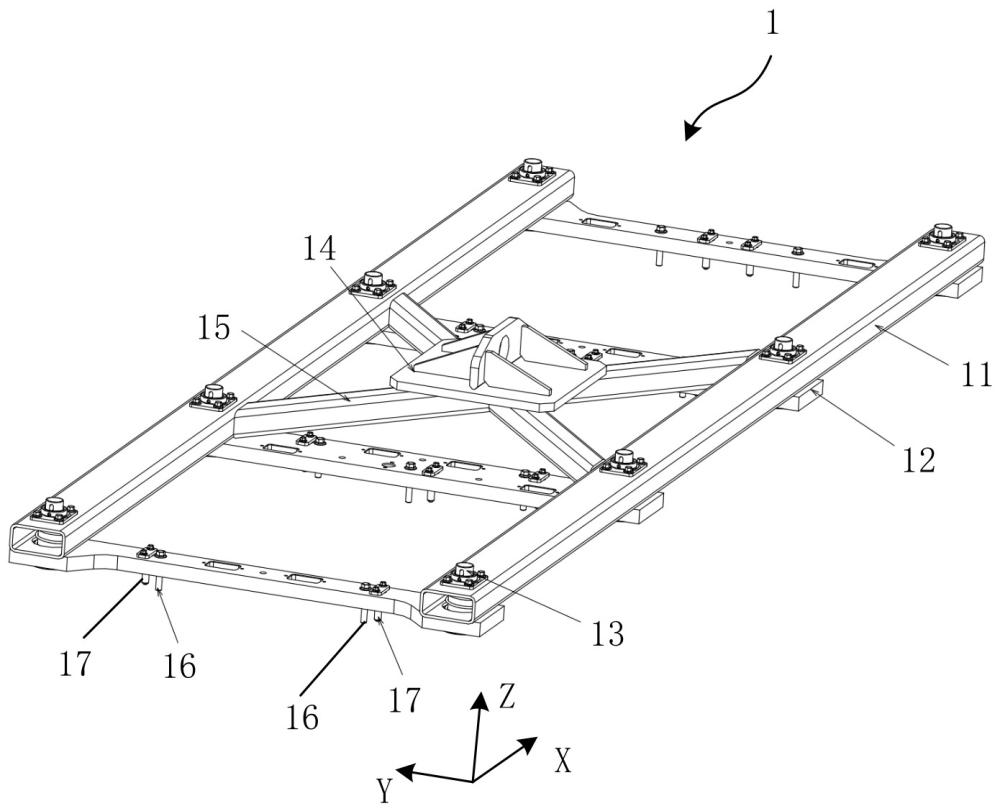
宁德时代新能源科技股份有限公司于2025年3月14日公开了名为“车辆电池装配装置及其操作流程”的专利(专利号:CN119611033A)。该专利介绍了一种创新的车辆电池装配设备,通过第一装配模块中的两根第一横梁和至少两根第二横梁的精确设计,实现了电池挂载横梁在车辆主横梁间的精确定位。该装置不仅提升了换电效率,还有效解决了传统换电过程中电池挂载横梁定位难题。
根据您的要求,以下是伪原创后的文章内容:
通过天眼查发现,宁德时代新能源科技股份有限公司提交的名为“车辆电池装配装置及其操作流程”的专利已在2025年3月14日公开,专利号为CN119611033A。

本专利提出了一种全新的车辆电池装配设备与技术方案。该设备包含一个第一装配模块,此模块由两根第一横梁构成,这些横梁沿着第一轴线方向铺设,并各自与车辆的两个主横梁精准匹配;此外还配备了至少两根第二横梁,它们沿第二轴线方向排列,并连接这两根第一横梁。这些第二横梁在第一横梁间的位置设计,与电池挂载横梁在车辆主横梁间的布局一一对应,从而确保每根第二横梁能够准确对接相应的电池挂载横梁,最终实现电池挂载横梁在车辆主横梁间的精确定位。值得注意的是,第一轴线与第二轴线呈交叉状态。借助这一装配组件,可以高效完成多个电池挂载横梁的定位固定工作,定位精确且操作便捷,有效解决了传统车辆换电过程中存在的电池挂载横梁定位难题,显著提升了换电效率。
希望这段内容符合您的需求!
今天关于《宁德时代专利曝光:车辆电池装配新技术》的内容就介绍到这里了,是不是学起来一目了然!想要了解更多关于宁德时代,车辆电池装配装置,电池挂载横梁,换电效率的内容请关注golang学习网公众号!
PyCharm编写运行代码完整教程
- 上一篇
- PyCharm编写运行代码完整教程
- 下一篇
- 贵阳交警回应小米SU7撞人,事故原因调查中
查看更多
最新文章
-
- 科技周边 · 人工智能 | 5分钟前 | Capybara
- CapybaraAI如何查看帮助文档_CapybaraAI官方帮助中心入口【介绍】
- 379浏览 收藏
-
- 科技周边 · 人工智能 | 7分钟前 | ToClawI
- 爬虫太复杂?ToClaw自然语言抓取数据
- 238浏览 收藏
-
- 科技周边 · 人工智能 | 7分钟前 |
- 用AI做姓氏Logo怎么赚钱_AI绘画商业Logo设计接单平台
- 429浏览 收藏
-
- 科技周边 · 人工智能 | 13分钟前 |
- WorkBuddy如何限制仅限公司设备登录_配置硬件指纹与MAC地址校验
- 183浏览 收藏
-
- 科技周边 · 人工智能 | 13分钟前 |
- 骡子快跑怎么设置定时任务 骡子快跑定时运行方法
- 436浏览 收藏
-
- 科技周边 · 人工智能 | 23分钟前 |
- 豆包AI生成的推文没有配图建议_在Prompt中要求AI根据内容生成对应的绘图描述词
- 182浏览 收藏
-
- 科技周边 · 人工智能 | 31分钟前 |
- Perplexity API报422验证错误如何排查参数设置_对照官方OpenAPI文档核对字段类型
- 220浏览 收藏
-
- 科技周边 · 人工智能 | 35分钟前 |
- AIGC免费查重入口 知网检测官网链接直达
- 156浏览 收藏
-
- 科技周边 · 人工智能 | 39分钟前 |
- PlaygroundAI提示词如何控制图片细节_PlaygroundAI提示词优化方法【指南】
- 482浏览 收藏
-
- 科技周边 · 人工智能 | 43分钟前 |
- 如何解决Perplexity支付页面加载不出的问题_优化网络连接或更换浏览器
- 401浏览 收藏
-
- 科技周边 · 人工智能 | 44分钟前 |
- Perplexity中如何清除所有已上传的PDF文件数据_在Files管理面板执行一键清空
- 227浏览 收藏
查看更多
课程推荐
-
- 前端进阶之JavaScript设计模式
- 设计模式是开发人员在软件开发过程中面临一般问题时的解决方案,代表了最佳的实践。本课程的主打内容包括JS常见设计模式以及具体应用场景,打造一站式知识长龙服务,适合有JS基础的同学学习。
- 543次学习
-
- GO语言核心编程课程
- 本课程采用真实案例,全面具体可落地,从理论到实践,一步一步将GO核心编程技术、编程思想、底层实现融会贯通,使学习者贴近时代脉搏,做IT互联网时代的弄潮儿。
- 516次学习
-
- 简单聊聊mysql8与网络通信
- 如有问题加微信:Le-studyg;在课程中,我们将首先介绍MySQL8的新特性,包括性能优化、安全增强、新数据类型等,帮助学生快速熟悉MySQL8的最新功能。接着,我们将深入解析MySQL的网络通信机制,包括协议、连接管理、数据传输等,让
- 500次学习
-
- JavaScript正则表达式基础与实战
- 在任何一门编程语言中,正则表达式,都是一项重要的知识,它提供了高效的字符串匹配与捕获机制,可以极大的简化程序设计。
- 487次学习
-
- 从零制作响应式网站—Grid布局
- 本系列教程将展示从零制作一个假想的网络科技公司官网,分为导航,轮播,关于我们,成功案例,服务流程,团队介绍,数据部分,公司动态,底部信息等内容区块。网站整体采用CSSGrid布局,支持响应式,有流畅过渡和展现动画。
- 485次学习
查看更多
AI推荐
-
- ChatExcel酷表
- ChatExcel酷表是由北京大学团队打造的Excel聊天机器人,用自然语言操控表格,简化数据处理,告别繁琐操作,提升工作效率!适用于学生、上班族及政府人员。
- 4441次使用
-
- Any绘本
- 探索Any绘本(anypicturebook.com/zh),一款开源免费的AI绘本创作工具,基于Google Gemini与Flux AI模型,让您轻松创作个性化绘本。适用于家庭、教育、创作等多种场景,零门槛,高自由度,技术透明,本地可控。
- 4798次使用
-
- 可赞AI
- 可赞AI,AI驱动的办公可视化智能工具,助您轻松实现文本与可视化元素高效转化。无论是智能文档生成、多格式文本解析,还是一键生成专业图表、脑图、知识卡片,可赞AI都能让信息处理更清晰高效。覆盖数据汇报、会议纪要、内容营销等全场景,大幅提升办公效率,降低专业门槛,是您提升工作效率的得力助手。
- 4678次使用
-
- 星月写作
- 星月写作是国内首款聚焦中文网络小说创作的AI辅助工具,解决网文作者从构思到变现的全流程痛点。AI扫榜、专属模板、全链路适配,助力新人快速上手,资深作者效率倍增。
- 6464次使用
-
- MagicLight
- MagicLight.ai是全球首款叙事驱动型AI动画视频创作平台,专注于解决从故事想法到完整动画的全流程痛点。它通过自研AI模型,保障角色、风格、场景高度一致性,让零动画经验者也能高效产出专业级叙事内容。广泛适用于独立创作者、动画工作室、教育机构及企业营销,助您轻松实现创意落地与商业化。
- 5048次使用
查看更多
相关文章
-
- GPT-4王者加冕!读图做题性能炸天,凭自己就能考上斯坦福
- 2023-04-25 501浏览
-
- 单块V100训练模型提速72倍!尤洋团队新成果获AAAI 2023杰出论文奖
- 2023-04-24 501浏览
-
- ChatGPT 真的会接管世界吗?
- 2023-04-13 501浏览
-
- VR的终极形态是「假眼」?Neuralink前联合创始人掏出新产品:科学之眼!
- 2023-04-30 501浏览
-
- 实现实时制造可视性优势有哪些?
- 2023-04-15 501浏览

