维信诺新专利揭秘:显示面板制造方法
2025-05-25 21:34:25
0浏览
收藏
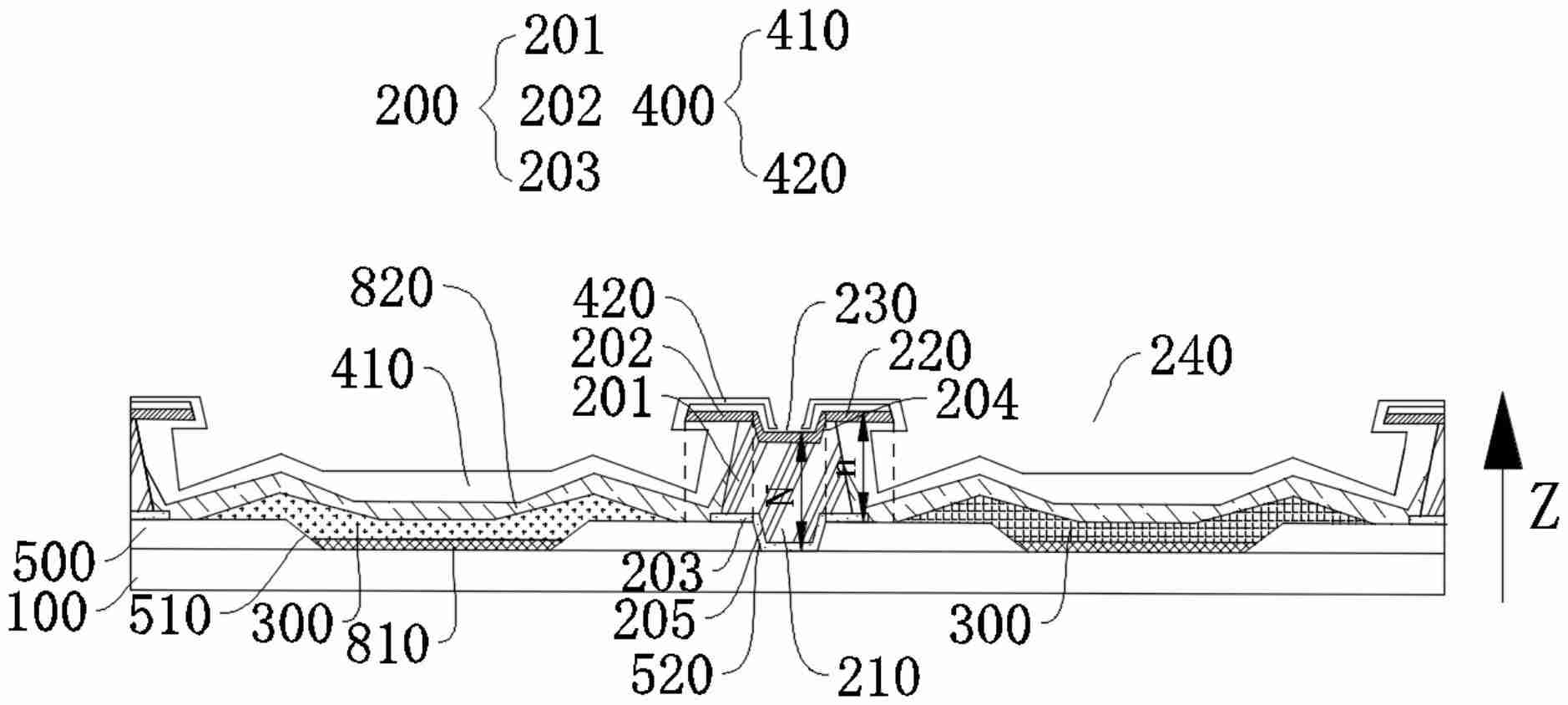
维信诺科技股份有限公司于2025年2月14日公布了一项名为“显示面板、显示装置及显示面板的制造方法”的专利(公布号:CN119451496A)。该专利提出了一种新型的显示面板及其制造方法,通过在像素定义层和隔离结构的设计中引入第一凹槽,显著提升了显示面板的生产效率和工艺性能。具体来说,第一凹槽能够减缓刻蚀液的流动速度,降低对封装部的冲击,优化了制造过程。
天眼查数据表明,维信诺科技股份有限公司公布了一项名为“显示面板、显示装置及显示面板的制造方法”的专利,公布日期为2025年2月14日,公布号为CN119451496A。

该专利实施例提出了一种新型的显示面板、显示装置及其制造方法。该方法包括:基板;像素定义层,位于基板一侧,包含像素限定部和由其围成的像素开口及第一凹部;隔离结构,位于基板一侧,通过围合形成多个隔离开口,这些隔离开口与像素开口相连通;发光层,至少部分位于像素开口内的发光单元。部分隔离结构设置在像素限定部远离基板的一侧,并填充于第一凹部中形成第一凹槽。这种设计提高了显示面板的生产效率。在显示面板的制造过程中,第一凹槽能够减缓刻蚀液在隔离结构上的流动速度,降低刻蚀液对封装部的冲击,从而提升显示面板的工艺性能。
本篇关于《维信诺新专利揭秘:显示面板制造方法》的介绍就到此结束啦,但是学无止境,想要了解学习更多关于科技周边的相关知识,请关注golang学习网公众号!
检查Redis版本及升级指南
- 上一篇
- 检查Redis版本及升级指南
- 下一篇
- JavaScript文件下载的巧妙实现方法
查看更多
最新文章
-
- 科技周边 · 人工智能 | 4小时前 |
- Mac Studio集群:多机跑70B大模型教程
- 370浏览 收藏
-
- 科技周边 · 人工智能 | 4小时前 | CanvaAI Canva可画
- Canva Pro会员价格及权益详解
- 246浏览 收藏
-
- 科技周边 · 人工智能 | 4小时前 | Hermes Agent HermesAgent
- Hermes Agent缓存清理方法【技巧】
- 420浏览 收藏
-
- 科技周边 · 人工智能 | 4小时前 | 骡子快跑
- 骡子快跑模拟面试怎么设置
- 382浏览 收藏
-
- 科技周边 · 人工智能 | 5小时前 | CodeGeeX
- 判断今天日期是否为指定日期
- 296浏览 收藏
-
- 科技周边 · 人工智能 | 5小时前 |
- DeepSeek替代ChatGPT优势解析
- 264浏览 收藏
-
- 科技周边 · 人工智能 | 5小时前 |
- 如何查看Perplexity API账单?进入Settings Billing管理面板
- 263浏览 收藏
-
- 科技周边 · 人工智能 | 5小时前 |
- 矢量图天花板!Recraft一键生成SVG全流程
- 446浏览 收藏
-
- 科技周边 · 人工智能 | 6小时前 | Hermes Agent HermesAgent
- HermesAgent数据归档:策略集成实战教程
- 104浏览 收藏
-
- 科技周边 · 人工智能 | 6小时前 |
- WorkBuddy一键配置文件下发方法
- 170浏览 收藏
-
- 科技周边 · 人工智能 | 6小时前 | Midjourney
- Midjourney生成表情包Gif制作教程
- 383浏览 收藏
查看更多
课程推荐
-
- 前端进阶之JavaScript设计模式
- 设计模式是开发人员在软件开发过程中面临一般问题时的解决方案,代表了最佳的实践。本课程的主打内容包括JS常见设计模式以及具体应用场景,打造一站式知识长龙服务,适合有JS基础的同学学习。
- 543次学习
-
- GO语言核心编程课程
- 本课程采用真实案例,全面具体可落地,从理论到实践,一步一步将GO核心编程技术、编程思想、底层实现融会贯通,使学习者贴近时代脉搏,做IT互联网时代的弄潮儿。
- 516次学习
-
- 简单聊聊mysql8与网络通信
- 如有问题加微信:Le-studyg;在课程中,我们将首先介绍MySQL8的新特性,包括性能优化、安全增强、新数据类型等,帮助学生快速熟悉MySQL8的最新功能。接着,我们将深入解析MySQL的网络通信机制,包括协议、连接管理、数据传输等,让
- 500次学习
-
- JavaScript正则表达式基础与实战
- 在任何一门编程语言中,正则表达式,都是一项重要的知识,它提供了高效的字符串匹配与捕获机制,可以极大的简化程序设计。
- 487次学习
-
- 从零制作响应式网站—Grid布局
- 本系列教程将展示从零制作一个假想的网络科技公司官网,分为导航,轮播,关于我们,成功案例,服务流程,团队介绍,数据部分,公司动态,底部信息等内容区块。网站整体采用CSSGrid布局,支持响应式,有流畅过渡和展现动画。
- 485次学习
查看更多
AI推荐
-
- ChatExcel酷表
- ChatExcel酷表是由北京大学团队打造的Excel聊天机器人,用自然语言操控表格,简化数据处理,告别繁琐操作,提升工作效率!适用于学生、上班族及政府人员。
- 4511次使用
-
- Any绘本
- 探索Any绘本(anypicturebook.com/zh),一款开源免费的AI绘本创作工具,基于Google Gemini与Flux AI模型,让您轻松创作个性化绘本。适用于家庭、教育、创作等多种场景,零门槛,高自由度,技术透明,本地可控。
- 4862次使用
-
- 可赞AI
- 可赞AI,AI驱动的办公可视化智能工具,助您轻松实现文本与可视化元素高效转化。无论是智能文档生成、多格式文本解析,还是一键生成专业图表、脑图、知识卡片,可赞AI都能让信息处理更清晰高效。覆盖数据汇报、会议纪要、内容营销等全场景,大幅提升办公效率,降低专业门槛,是您提升工作效率的得力助手。
- 4740次使用
-
- 星月写作
- 星月写作是国内首款聚焦中文网络小说创作的AI辅助工具,解决网文作者从构思到变现的全流程痛点。AI扫榜、专属模板、全链路适配,助力新人快速上手,资深作者效率倍增。
- 6582次使用
-
- MagicLight
- MagicLight.ai是全球首款叙事驱动型AI动画视频创作平台,专注于解决从故事想法到完整动画的全流程痛点。它通过自研AI模型,保障角色、风格、场景高度一致性,让零动画经验者也能高效产出专业级叙事内容。广泛适用于独立创作者、动画工作室、教育机构及企业营销,助您轻松实现创意落地与商业化。
- 5099次使用
查看更多
相关文章
-
- GPT-4王者加冕!读图做题性能炸天,凭自己就能考上斯坦福
- 2023-04-25 501浏览
-
- 单块V100训练模型提速72倍!尤洋团队新成果获AAAI 2023杰出论文奖
- 2023-04-24 501浏览
-
- ChatGPT 真的会接管世界吗?
- 2023-04-13 501浏览
-
- VR的终极形态是「假眼」?Neuralink前联合创始人掏出新产品:科学之眼!
- 2023-04-30 501浏览
-
- 实现实时制造可视性优势有哪些?
- 2023-04-15 501浏览

