宁德时代新专利来了!电池单体+用电设备搭配啥黑科技?
2025-06-17 10:16:26
0浏览
收藏
**宁德时代再添黑科技!“电池单体+用电设备”专利重磅发布,提升电池安全与可靠性**。宁德时代最新公开的“电池单体、电池装置及用电设备”专利(申请公布号:CN119627371A)引发行业关注。该专利聚焦电池技术领域,通过创新性地设计一种具有选择性离子透过性的隔离膜,巧妙地实现了电极组件的离子传导和边缘保护双重功能。这项技术不仅确保了电池的正常充放电,更显著增强了电池的整体安全性,提升了电池的可靠性。本文将深入解读宁德时代这项专利的技术细节,带您了解这项可能引领电池技术革新的创新设计。
根据天眼查的信息,宁德时代新能源科技股份有限公司的一项名为“电池单体、电池装置及用电设备”的专利已对外公布,该专利的申请公布日期为2025年3月14日,申请公布号为CN119627371A。

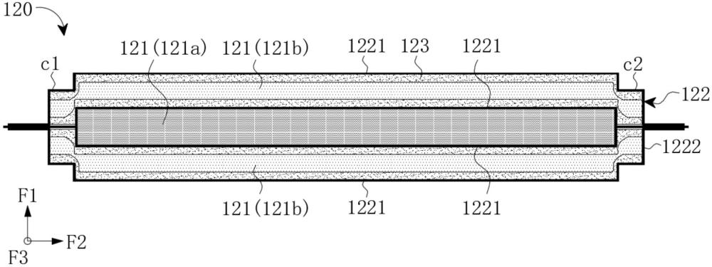
这项专利属于电池技术领域,具体涉及电池单体、电池装置及其相关用电设备。在本专利的实施例中,发明者设计了一种隔离膜,该隔离膜被分为第一部分和第二部分。其中,第一部分允许离子穿透,而第二部分则能够阻挡离子的通过。此外,第二部分还覆盖了电极组件主体部边缘区域的一部分。这样的设计不仅能够让极片之间实现离子传导,从而支持电池的正常充放电过程,还能通过第二部分对主体部的边缘区域起到保护与支撑的作用,同时增强了电池的整体安全性。因此,这项创新显著提升了电池的可靠性和安全性。
好了,本文到此结束,带大家了解了《宁德时代新专利来了!电池单体+用电设备搭配啥黑科技?》,希望本文对你有所帮助!关注golang学习网公众号,给大家分享更多科技周边知识!
Win8电脑卡顿?超实用加速小技巧赶紧收藏!
- 上一篇
- Win8电脑卡顿?超实用加速小技巧赶紧收藏!
- 下一篇
- MySQL事务回滚怎么实现?跟闪回技术比一比
查看更多
最新文章
-
- 科技周边 · 人工智能 | 15分钟前 |
- 龙虾机器人聊天记录如何导出与备份?
- 334浏览 收藏
-
- 科技周边 · 人工智能 | 1小时前 |
- DeepSeek API身份验证(Authentication)失败怎么办?
- 233浏览 收藏
-
- 科技周边 · 人工智能 | 1小时前 |
- 龙虾openclaw对接支付宝AI付开发文档 接口调用示例【深度】
- 295浏览 收藏
-
- 科技周边 · 人工智能 | 1小时前 |
- WorkBuddy 安装失败?可能是由于系统版本过低
- 118浏览 收藏
-
- 科技周边 · 人工智能 | 1小时前 |
- DeepSeek V4逻辑推理变弱_模型版本回退与提示词优化【降智】
- 363浏览 收藏
-
- 科技周边 · 人工智能 | 1小时前 |
- WorkBuddy欠费停服如何快速恢复_补缴欠款与资源自动释放风险
- 162浏览 收藏
-
- 科技周边 · 人工智能 | 1小时前 |
- ChatGPT如何生成测试数据 ChatGPT仿真数据创建指南
- 455浏览 收藏
-
- 科技周边 · 人工智能 | 1小时前 | CodeGeeX CodeGeeX如何生成Python代码完整教程
- CodeGeeX怎么写Python异常处理代码_CodeGeeX辅助构建健壮程序逻辑【异常处理】
- 133浏览 收藏
-
- 科技周边 · 人工智能 | 2小时前 |
- 可灵AI恐怖悬疑风格_惊悚氛围画面的光影与音效设置
- 101浏览 收藏
-
- 科技周边 · 人工智能 | 2小时前 | 哩布哩布AI
- 哩布哩布AI怎么使用角色扮演聊天_哩布哩布AI智能对话功能实战
- 128浏览 收藏
-
- 科技周边 · 人工智能 | 2小时前 |
- Gemini如何配置多模态输入 Gemini图像与文本联合处理指南
- 161浏览 收藏
-
- 科技周边 · 人工智能 | 2小时前 | CanvaAI Canva可画
- Canva可画AI生成PPT怎么调整行距_段落排版细节优化
- 266浏览 收藏
查看更多
课程推荐
-
- 前端进阶之JavaScript设计模式
- 设计模式是开发人员在软件开发过程中面临一般问题时的解决方案,代表了最佳的实践。本课程的主打内容包括JS常见设计模式以及具体应用场景,打造一站式知识长龙服务,适合有JS基础的同学学习。
- 543次学习
-
- GO语言核心编程课程
- 本课程采用真实案例,全面具体可落地,从理论到实践,一步一步将GO核心编程技术、编程思想、底层实现融会贯通,使学习者贴近时代脉搏,做IT互联网时代的弄潮儿。
- 516次学习
-
- 简单聊聊mysql8与网络通信
- 如有问题加微信:Le-studyg;在课程中,我们将首先介绍MySQL8的新特性,包括性能优化、安全增强、新数据类型等,帮助学生快速熟悉MySQL8的最新功能。接着,我们将深入解析MySQL的网络通信机制,包括协议、连接管理、数据传输等,让
- 500次学习
-
- JavaScript正则表达式基础与实战
- 在任何一门编程语言中,正则表达式,都是一项重要的知识,它提供了高效的字符串匹配与捕获机制,可以极大的简化程序设计。
- 487次学习
-
- 从零制作响应式网站—Grid布局
- 本系列教程将展示从零制作一个假想的网络科技公司官网,分为导航,轮播,关于我们,成功案例,服务流程,团队介绍,数据部分,公司动态,底部信息等内容区块。网站整体采用CSSGrid布局,支持响应式,有流畅过渡和展现动画。
- 485次学习
查看更多
AI推荐
-
- ChatExcel酷表
- ChatExcel酷表是由北京大学团队打造的Excel聊天机器人,用自然语言操控表格,简化数据处理,告别繁琐操作,提升工作效率!适用于学生、上班族及政府人员。
- 4453次使用
-
- Any绘本
- 探索Any绘本(anypicturebook.com/zh),一款开源免费的AI绘本创作工具,基于Google Gemini与Flux AI模型,让您轻松创作个性化绘本。适用于家庭、教育、创作等多种场景,零门槛,高自由度,技术透明,本地可控。
- 4804次使用
-
- 可赞AI
- 可赞AI,AI驱动的办公可视化智能工具,助您轻松实现文本与可视化元素高效转化。无论是智能文档生成、多格式文本解析,还是一键生成专业图表、脑图、知识卡片,可赞AI都能让信息处理更清晰高效。覆盖数据汇报、会议纪要、内容营销等全场景,大幅提升办公效率,降低专业门槛,是您提升工作效率的得力助手。
- 4683次使用
-
- 星月写作
- 星月写作是国内首款聚焦中文网络小说创作的AI辅助工具,解决网文作者从构思到变现的全流程痛点。AI扫榜、专属模板、全链路适配,助力新人快速上手,资深作者效率倍增。
- 6476次使用
-
- MagicLight
- MagicLight.ai是全球首款叙事驱动型AI动画视频创作平台,专注于解决从故事想法到完整动画的全流程痛点。它通过自研AI模型,保障角色、风格、场景高度一致性,让零动画经验者也能高效产出专业级叙事内容。广泛适用于独立创作者、动画工作室、教育机构及企业营销,助您轻松实现创意落地与商业化。
- 5056次使用
查看更多
相关文章
-
- GPT-4王者加冕!读图做题性能炸天,凭自己就能考上斯坦福
- 2023-04-25 501浏览
-
- 单块V100训练模型提速72倍!尤洋团队新成果获AAAI 2023杰出论文奖
- 2023-04-24 501浏览
-
- ChatGPT 真的会接管世界吗?
- 2023-04-13 501浏览
-
- VR的终极形态是「假眼」?Neuralink前联合创始人掏出新产品:科学之眼!
- 2023-04-30 501浏览
-
- 实现实时制造可视性优势有哪些?
- 2023-04-15 501浏览

