Win10可折叠设备新专利来袭,多边电磁线圈布局亮点十足!
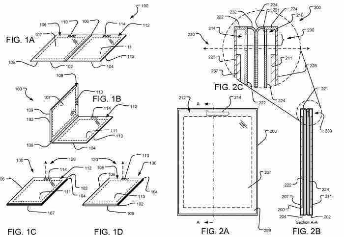
微软在可折叠设备领域再传新动向!一项名为“多边电磁线圈”的创新专利近日曝光,预示着微软正积极攻克可折叠设备的技术难题。该专利于2018年提交,旨在解决现有可折叠设备在物理设计和内部电磁线圈操作方面的挑战。通过多边电磁线圈布局,该专利有望为设备提供更有效的近场通信(NFC)解决方案,巧妙规避金属结构对电磁感应的屏蔽效应。该设计在设备不同侧面设置电磁感应线圈及带有开槽的金属框架,并利用机械连接实现折叠功能,为Win10可折叠设备的未来发展提供了新的技术思路和可能性。
尽管在可折叠设备的生产过程中仍然面临不少难题,但微软并未停止将首代产品投入市场的计划。据外媒Windows Latest透露,微软的一项名为“多边电磁线圈”组装专利被曝光,这表明他们正在积极寻求可行的技术解决方案。该专利由微软于2018年2月提交,并于2019年8月29日由美国专利商标局(USPTO)正式发布。

微软指出,当前的可折叠设备在物理设计方面依旧存在许多障碍,特别是在设备内部电磁线圈的操作便捷性上。
这项独特的专利旨在为设备的多个侧面提供生成感应电流的可能性,从而成为一种有效的近场通信(NFC)解决策略。
鉴于金属结构会对内部电磁线圈的感应能力形成屏蔽效应,微软选择了不同的技术路径。
在包含一个或多个金属结构的情况下,为电磁线圈提供多方位的磁感交互途径。
例如,在计算设备的底部或框架区域采用金属或石墨导电方案。

示例中展示了计算机设备的部分构造图,其中配备了一个或多个电子元件,并且在不同侧面设置了电磁感应线圈及带有开槽的金属框架。
此外,该计算设备还包括另一部分,内含一个或多个其他电子元件,并在其第三、第四侧配置了额外的开槽和金属框架。
这两个部分通过机械方式相连,使得一、三面能够相对而置,同时电磁线圈沿着垂直于一、二开槽的轴线实现折叠功能。
理论要掌握,实操不能落!以上关于《Win10可折叠设备新专利来袭,多边电磁线圈布局亮点十足!》的详细介绍,大家都掌握了吧!如果想要继续提升自己的能力,那么就来关注golang学习网公众号吧!
Win8打不开更改电脑设置?简单几步轻松修复
- 上一篇
- Win8打不开更改电脑设置?简单几步轻松修复
- 下一篇
- line-height属性怎么用?手把手教你玩转行高属性
-
- 文章 · 软件教程 | 8小时前 |
- 途虎养车怎么设置收货地址_途虎商品配送地址管理
- 403浏览 收藏
-
- 文章 · 软件教程 | 8小时前 |
- QQ怎么设置个性签名_QQ历史签名查看与删除
- 321浏览 收藏
-
- 文章 · 软件教程 | 8小时前 |
- 动漫之家个人中心登录教程 轻松管理你的账号与书架同步
- 229浏览 收藏
-
- 文章 · 软件教程 | 8小时前 |
- 汽车之家app如何设置自己所在的城市?汽车之家app切换城市定位【方法】
- 436浏览 收藏
-
- 文章 · 软件教程 | 8小时前 |
- Word表格怎么跨页显示时保持边框完整_Word表格属性设置跨页断行
- 397浏览 收藏
-
- 文章 · 软件教程 | 8小时前 | 动漫资源 妖精动漫
- 妖精动漫资源官网 妖精资源网正版动漫观看网址
- 178浏览 收藏
-
- 文章 · 软件教程 | 8小时前 |
- Win11系统声音有杂音怎么办 Windows11声卡驱动修复教程
- 102浏览 收藏
-
- 文章 · 软件教程 | 8小时前 |
- 中国知网核心期刊入口 知网核心文献检索官网入口
- 249浏览 收藏
-
- 文章 · 软件教程 | 8小时前 |
- excel怎么去掉公式只保留数值_excel将公式结果转换为数值的快捷方法
- 432浏览 收藏
-
- 文章 · 软件教程 | 8小时前 |
- 网易大神逆水寒手游攻略在哪看_网易大神逆水寒攻略查看指南
- 211浏览 收藏
-
- 文章 · 软件教程 | 8小时前 |
- 今日头条可以同时登录几个设备_今日头条多设备登录说明
- 332浏览 收藏
-
- 文章 · 软件教程 | 8小时前 |
- 国家中小学智慧教育平台视频播放失败 课程视频看不了是什么原因
- 289浏览 收藏
-
- 前端进阶之JavaScript设计模式
- 设计模式是开发人员在软件开发过程中面临一般问题时的解决方案,代表了最佳的实践。本课程的主打内容包括JS常见设计模式以及具体应用场景,打造一站式知识长龙服务,适合有JS基础的同学学习。
- 543次学习
-
- GO语言核心编程课程
- 本课程采用真实案例,全面具体可落地,从理论到实践,一步一步将GO核心编程技术、编程思想、底层实现融会贯通,使学习者贴近时代脉搏,做IT互联网时代的弄潮儿。
- 516次学习
-
- 简单聊聊mysql8与网络通信
- 如有问题加微信:Le-studyg;在课程中,我们将首先介绍MySQL8的新特性,包括性能优化、安全增强、新数据类型等,帮助学生快速熟悉MySQL8的最新功能。接着,我们将深入解析MySQL的网络通信机制,包括协议、连接管理、数据传输等,让
- 500次学习
-
- JavaScript正则表达式基础与实战
- 在任何一门编程语言中,正则表达式,都是一项重要的知识,它提供了高效的字符串匹配与捕获机制,可以极大的简化程序设计。
- 487次学习
-
- 从零制作响应式网站—Grid布局
- 本系列教程将展示从零制作一个假想的网络科技公司官网,分为导航,轮播,关于我们,成功案例,服务流程,团队介绍,数据部分,公司动态,底部信息等内容区块。网站整体采用CSSGrid布局,支持响应式,有流畅过渡和展现动画。
- 485次学习
-
- ChatExcel酷表
- ChatExcel酷表是由北京大学团队打造的Excel聊天机器人,用自然语言操控表格,简化数据处理,告别繁琐操作,提升工作效率!适用于学生、上班族及政府人员。
- 4465次使用
-
- Any绘本
- 探索Any绘本(anypicturebook.com/zh),一款开源免费的AI绘本创作工具,基于Google Gemini与Flux AI模型,让您轻松创作个性化绘本。适用于家庭、教育、创作等多种场景,零门槛,高自由度,技术透明,本地可控。
- 4810次使用
-
- 可赞AI
- 可赞AI,AI驱动的办公可视化智能工具,助您轻松实现文本与可视化元素高效转化。无论是智能文档生成、多格式文本解析,还是一键生成专业图表、脑图、知识卡片,可赞AI都能让信息处理更清晰高效。覆盖数据汇报、会议纪要、内容营销等全场景,大幅提升办公效率,降低专业门槛,是您提升工作效率的得力助手。
- 4690次使用
-
- 星月写作
- 星月写作是国内首款聚焦中文网络小说创作的AI辅助工具,解决网文作者从构思到变现的全流程痛点。AI扫榜、专属模板、全链路适配,助力新人快速上手,资深作者效率倍增。
- 6485次使用
-
- MagicLight
- MagicLight.ai是全球首款叙事驱动型AI动画视频创作平台,专注于解决从故事想法到完整动画的全流程痛点。它通过自研AI模型,保障角色、风格、场景高度一致性,让零动画经验者也能高效产出专业级叙事内容。广泛适用于独立创作者、动画工作室、教育机构及企业营销,助您轻松实现创意落地与商业化。
- 5061次使用
-
- pe系统下载好如何重装的具体教程
- 2023-05-01 501浏览
-
- qq游戏大厅怎么开启蓝钻提醒功能-qq游戏大厅开启蓝钻提醒功能教程
- 2023-04-29 501浏览
-
- 吉吉影音怎样播放网络视频 吉吉影音播放网络视频的操作步骤
- 2023-04-09 501浏览
-
- 腾讯会议怎么使用电脑音频 腾讯会议播放电脑音频的方法
- 2023-04-04 501浏览
-
- PPT制作图片滚动效果的简单方法
- 2023-04-26 501浏览

