BOE京东方新专利获授权,显示面板技术迎来全新突破!
2025-06-19 09:09:27
0浏览
收藏
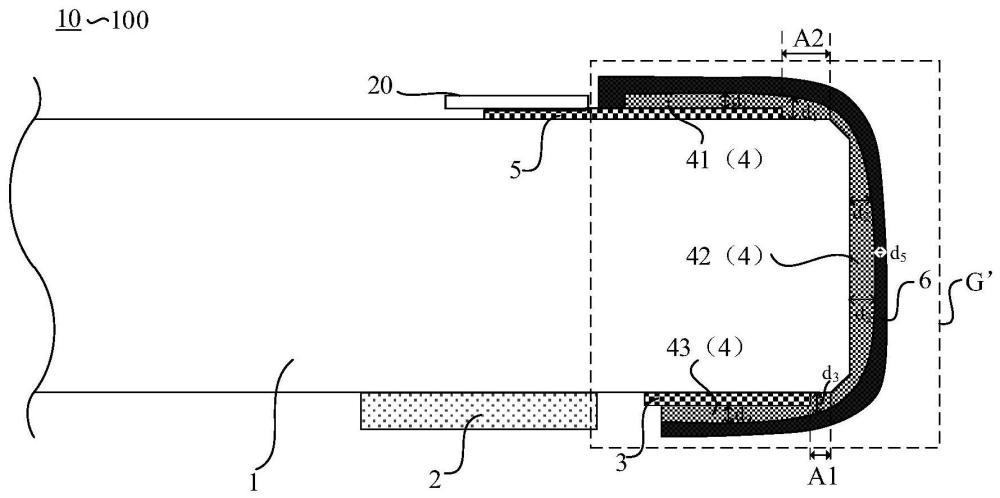
**京东方显示面板技术再获突破!** 天眼查信息显示,京东方科技集团股份有限公司一项名为“显示面板及其制备方法、显示装置及拼接显示装置”的新专利近日获得授权,授权公告日期为2025年3月14日。该专利旨在解决显示设备边框难以做窄的技术难题,通过创新性地将连接引线布置于背板的第一主表面及选定侧面,实现了更窄边框的设计。此项专利技术的应用,将有效提升显示面板的显示效果,并适用于各类显示装置,为京东方在显示技术领域的发展注入新的活力。
天眼查信息显示,京东方科技集团股份有限公司近日获得一项新专利,名称为“显示面板及其制备方法、显示装置及拼接显示装置”,授权公告号为CN114255665B,授权公告日期为2025年3月14日,申请时间为2020年9月24日。

该专利公开了一种显示面板及其制造方法、显示装置以及拼接式显示装置,属于显示技术领域。为解决显示设备边框难以做窄的问题,本发明提供的显示面板包括:背板、多个发光元件、多个第一电极和若干条连接引线。背板具有相对的第一主表面和第二主表面,以及连接这两个主表面的多个侧面,其中至少一个侧面被选定为特定侧面。多个发光元件与多个第一电极设置在背板的第二主表面上,且多个第一电极与发光元件实现电性连接。多条连接引线布置于背板的第一主表面及所选侧面上,每条连接引线从第一主表面延伸至选定侧面,并与其中一个第一电极形成电连接。此结构的显示面板适用于各类显示装置。
文中关于专利,京东方,窄边框,显示面板,显示装置的知识介绍,希望对你的学习有所帮助!若是受益匪浅,那就动动鼠标收藏这篇《BOE京东方新专利获授权,显示面板技术迎来全新突破!》文章吧,也可关注golang学习网公众号了解相关技术文章。
win10激活失效了?超简单激活教程来了!
- 上一篇
- win10激活失效了?超简单激活教程来了!
- 下一篇
- PHP也能玩图像识别?手把手教你接入TesseractOCR
查看更多
最新文章
-
- 科技周边 · 人工智能 | 13分钟前 |
- 融光— 开源全流程 AI 视频创作平台,自动化工作流
- 346浏览 收藏
-
- 科技周边 · 人工智能 | 13分钟前 |
- Minimax大模型API返回数据格式 JSON参数字段详细解释【文档】
- 392浏览 收藏
-
- 科技周边 · 人工智能 | 45分钟前 |
- airpords怎么恢复出厂设置 airpords重置出厂设置步骤【指南】
- 160浏览 收藏
-
- 科技周边 · 人工智能 | 51分钟前 | 骡子快跑
- 骡子快跑能解释错误日历_骡子快跑日志分析辅助方法
- 312浏览 收藏
-
- 科技周边 · 人工智能 | 52分钟前 |
- 如何利用Perplexity优化Istio服务网格的流量治理策略_检索虚拟服务配置
- 108浏览 收藏
-
- 科技周边 · 人工智能 | 58分钟前 |
- Cursor AI 对代码隐私和安全性的保障如何?
- 178浏览 收藏
-
- 科技周边 · 人工智能 | 1小时前 | DeepSeek
- deepseek能否识别用户情绪并安抚回应_情绪识别安抚技巧【技巧】
- 322浏览 收藏
-
- 科技周边 · 人工智能 | 1小时前 |
- 90%的人都不知道:AI小程序开发,竟然可以这么简单!
- 336浏览 收藏
-
- 科技周边 · 人工智能 | 1小时前 | 爱奇艺纳豆pro
- 爱奇艺纳豆pro需要升级吗
- 363浏览 收藏
-
- 科技周边 · 人工智能 | 1小时前 |
- 如何提高PPT汇报中的数据可信度 利用DeepSeek获取第三方权威数据支撑
- 106浏览 收藏
-
- 科技周边 · 人工智能 | 1小时前 | ChatGPT
- 本地部署大模型的法律风险_版权与开源协议解读
- 131浏览 收藏
查看更多
课程推荐
-
- 前端进阶之JavaScript设计模式
- 设计模式是开发人员在软件开发过程中面临一般问题时的解决方案,代表了最佳的实践。本课程的主打内容包括JS常见设计模式以及具体应用场景,打造一站式知识长龙服务,适合有JS基础的同学学习。
- 543次学习
-
- GO语言核心编程课程
- 本课程采用真实案例,全面具体可落地,从理论到实践,一步一步将GO核心编程技术、编程思想、底层实现融会贯通,使学习者贴近时代脉搏,做IT互联网时代的弄潮儿。
- 516次学习
-
- 简单聊聊mysql8与网络通信
- 如有问题加微信:Le-studyg;在课程中,我们将首先介绍MySQL8的新特性,包括性能优化、安全增强、新数据类型等,帮助学生快速熟悉MySQL8的最新功能。接着,我们将深入解析MySQL的网络通信机制,包括协议、连接管理、数据传输等,让
- 500次学习
-
- JavaScript正则表达式基础与实战
- 在任何一门编程语言中,正则表达式,都是一项重要的知识,它提供了高效的字符串匹配与捕获机制,可以极大的简化程序设计。
- 487次学习
-
- 从零制作响应式网站—Grid布局
- 本系列教程将展示从零制作一个假想的网络科技公司官网,分为导航,轮播,关于我们,成功案例,服务流程,团队介绍,数据部分,公司动态,底部信息等内容区块。网站整体采用CSSGrid布局,支持响应式,有流畅过渡和展现动画。
- 485次学习
查看更多
AI推荐
-
- ChatExcel酷表
- ChatExcel酷表是由北京大学团队打造的Excel聊天机器人,用自然语言操控表格,简化数据处理,告别繁琐操作,提升工作效率!适用于学生、上班族及政府人员。
- 4443次使用
-
- Any绘本
- 探索Any绘本(anypicturebook.com/zh),一款开源免费的AI绘本创作工具,基于Google Gemini与Flux AI模型,让您轻松创作个性化绘本。适用于家庭、教育、创作等多种场景,零门槛,高自由度,技术透明,本地可控。
- 4799次使用
-
- 可赞AI
- 可赞AI,AI驱动的办公可视化智能工具,助您轻松实现文本与可视化元素高效转化。无论是智能文档生成、多格式文本解析,还是一键生成专业图表、脑图、知识卡片,可赞AI都能让信息处理更清晰高效。覆盖数据汇报、会议纪要、内容营销等全场景,大幅提升办公效率,降低专业门槛,是您提升工作效率的得力助手。
- 4679次使用
-
- 星月写作
- 星月写作是国内首款聚焦中文网络小说创作的AI辅助工具,解决网文作者从构思到变现的全流程痛点。AI扫榜、专属模板、全链路适配,助力新人快速上手,资深作者效率倍增。
- 6466次使用
-
- MagicLight
- MagicLight.ai是全球首款叙事驱动型AI动画视频创作平台,专注于解决从故事想法到完整动画的全流程痛点。它通过自研AI模型,保障角色、风格、场景高度一致性,让零动画经验者也能高效产出专业级叙事内容。广泛适用于独立创作者、动画工作室、教育机构及企业营销,助您轻松实现创意落地与商业化。
- 5050次使用
查看更多
相关文章
-
- GPT-4王者加冕!读图做题性能炸天,凭自己就能考上斯坦福
- 2023-04-25 501浏览
-
- 单块V100训练模型提速72倍!尤洋团队新成果获AAAI 2023杰出论文奖
- 2023-04-24 501浏览
-
- ChatGPT 真的会接管世界吗?
- 2023-04-13 501浏览
-
- VR的终极形态是「假眼」?Neuralink前联合创始人掏出新产品:科学之眼!
- 2023-04-30 501浏览
-
- 实现实时制造可视性优势有哪些?
- 2023-04-15 501浏览

