京东方液晶模组专利正式授权
2025-06-24 20:10:17
0浏览
收藏
**京东方液晶模组专利获授权,提升显示设备可靠性**。天眼查数据显示,京东方科技集团股份有限公司近日成功获得一项名为“液晶模组及其显示设备”的专利授权(专利号:CN112540476B)。该专利创新性地设计了一种液晶模组结构,通过将液晶显示屏与底部框架和边框巧妙结合,并采用可移动连接方式,有效减少外部压力对液晶屏的影响,显著降低了显示设备出现黑屏、漏光等问题的风险。此项专利的授权,标志着京东方在液晶显示技术领域的又一突破,有望进一步提升显示设备的可靠性和用户体验。
根据提供的信息,以下是伪原创后的文本:
天眼查数据显示,京东方科技集团股份有限公司近期获得了一项名为“液晶模组及其显示设备”的专利授权,其专利号为CN112540476B,授权日期为2025年3月14日,最初申请日期则是在2019年9月20日。

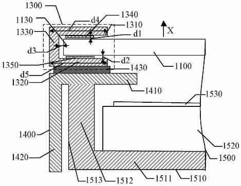
该专利涉及一种液晶模组及显示装置的设计方案。具体来说,液晶模组由液晶显示屏、底部框架以及首个边框组成。液晶显示屏的第一侧嵌入到底部框架的底板、左侧板和右侧板所包围的空隙之中;同时,液晶显示屏的其余三边中的至少一边嵌套在首边框、次边框和第三边框共同界定的区域内。从垂直于液晶屏表面的方向看去,首个边框与液晶屏之间设计为可移动连接状态。这种结构使得液晶显示屏能够在首个边框的空隙内自由活动,从而减少外部力量对其产生的影响,防止因受压而导致形变,进一步降低了出现黑屏漏光问题的可能性。
请查看原始图片以获取更多信息。
文中关于京东方的知识介绍,希望对你的学习有所帮助!若是受益匪浅,那就动动鼠标收藏这篇《京东方液晶模组专利正式授权》文章吧,也可关注golang学习网公众号了解相关技术文章。
opendir与readdir目录操作详解
- 上一篇
- opendir与readdir目录操作详解
- 下一篇
- CSS设置最大宽度技巧教程
查看更多
最新文章
-
- 科技周边 · 人工智能 | 13分钟前 |
- 豆包AI智能体角色扮演互动技巧解析
- 165浏览 收藏
-
- 科技周边 · 人工智能 | 24分钟前 | DeepSeek
- DeepSeek如何评估回答可信度及标注方法
- 413浏览 收藏
-
- 科技周边 · 人工智能 | 35分钟前 |
- Perplexity AI如何深入追问?多轮对话技巧全解析
- 213浏览 收藏
-
- 科技周边 · 人工智能 | 48分钟前 |
- DeepSeek API负载均衡方案解析
- 240浏览 收藏
-
- 科技周边 · 人工智能 | 52分钟前 |
- 使用 Claude 编写自动化脚本的效率提升方案
- 303浏览 收藏
-
- 科技周边 · 人工智能 | 9小时前 |
- Mac Studio集群:多机跑70B大模型教程
- 370浏览 收藏
-
- 科技周边 · 人工智能 | 9小时前 | CanvaAI Canva可画
- Canva Pro会员价格及权益详解
- 246浏览 收藏
-
- 科技周边 · 人工智能 | 9小时前 | Hermes Agent HermesAgent
- Hermes Agent缓存清理方法【技巧】
- 420浏览 收藏
-
- 科技周边 · 人工智能 | 9小时前 | 骡子快跑
- 骡子快跑模拟面试怎么设置
- 382浏览 收藏
-
- 科技周边 · 人工智能 | 9小时前 | CodeGeeX
- 判断今天日期是否为指定日期
- 296浏览 收藏
-
- 科技周边 · 人工智能 | 9小时前 |
- DeepSeek替代ChatGPT优势解析
- 264浏览 收藏
查看更多
课程推荐
-
- 前端进阶之JavaScript设计模式
- 设计模式是开发人员在软件开发过程中面临一般问题时的解决方案,代表了最佳的实践。本课程的主打内容包括JS常见设计模式以及具体应用场景,打造一站式知识长龙服务,适合有JS基础的同学学习。
- 543次学习
-
- GO语言核心编程课程
- 本课程采用真实案例,全面具体可落地,从理论到实践,一步一步将GO核心编程技术、编程思想、底层实现融会贯通,使学习者贴近时代脉搏,做IT互联网时代的弄潮儿。
- 516次学习
-
- 简单聊聊mysql8与网络通信
- 如有问题加微信:Le-studyg;在课程中,我们将首先介绍MySQL8的新特性,包括性能优化、安全增强、新数据类型等,帮助学生快速熟悉MySQL8的最新功能。接着,我们将深入解析MySQL的网络通信机制,包括协议、连接管理、数据传输等,让
- 500次学习
-
- JavaScript正则表达式基础与实战
- 在任何一门编程语言中,正则表达式,都是一项重要的知识,它提供了高效的字符串匹配与捕获机制,可以极大的简化程序设计。
- 487次学习
-
- 从零制作响应式网站—Grid布局
- 本系列教程将展示从零制作一个假想的网络科技公司官网,分为导航,轮播,关于我们,成功案例,服务流程,团队介绍,数据部分,公司动态,底部信息等内容区块。网站整体采用CSSGrid布局,支持响应式,有流畅过渡和展现动画。
- 485次学习
查看更多
AI推荐
-
- ChatExcel酷表
- ChatExcel酷表是由北京大学团队打造的Excel聊天机器人,用自然语言操控表格,简化数据处理,告别繁琐操作,提升工作效率!适用于学生、上班族及政府人员。
- 4512次使用
-
- Any绘本
- 探索Any绘本(anypicturebook.com/zh),一款开源免费的AI绘本创作工具,基于Google Gemini与Flux AI模型,让您轻松创作个性化绘本。适用于家庭、教育、创作等多种场景,零门槛,高自由度,技术透明,本地可控。
- 4863次使用
-
- 可赞AI
- 可赞AI,AI驱动的办公可视化智能工具,助您轻松实现文本与可视化元素高效转化。无论是智能文档生成、多格式文本解析,还是一键生成专业图表、脑图、知识卡片,可赞AI都能让信息处理更清晰高效。覆盖数据汇报、会议纪要、内容营销等全场景,大幅提升办公效率,降低专业门槛,是您提升工作效率的得力助手。
- 4740次使用
-
- 星月写作
- 星月写作是国内首款聚焦中文网络小说创作的AI辅助工具,解决网文作者从构思到变现的全流程痛点。AI扫榜、专属模板、全链路适配,助力新人快速上手,资深作者效率倍增。
- 6583次使用
-
- MagicLight
- MagicLight.ai是全球首款叙事驱动型AI动画视频创作平台,专注于解决从故事想法到完整动画的全流程痛点。它通过自研AI模型,保障角色、风格、场景高度一致性,让零动画经验者也能高效产出专业级叙事内容。广泛适用于独立创作者、动画工作室、教育机构及企业营销,助您轻松实现创意落地与商业化。
- 5100次使用
查看更多
相关文章
-
- GPT-4王者加冕!读图做题性能炸天,凭自己就能考上斯坦福
- 2023-04-25 501浏览
-
- 单块V100训练模型提速72倍!尤洋团队新成果获AAAI 2023杰出论文奖
- 2023-04-24 501浏览
-
- ChatGPT 真的会接管世界吗?
- 2023-04-13 501浏览
-
- VR的终极形态是「假眼」?Neuralink前联合创始人掏出新产品:科学之眼!
- 2023-04-30 501浏览
-
- 实现实时制造可视性优势有哪些?
- 2023-04-15 501浏览

