光至科技温控炉专利曝光解析
2025-06-25 22:45:16
0浏览
收藏
各位小伙伴们,大家好呀!看看今天我又给各位带来了什么文章?本文标题是《光至科技温控炉专利公布及解析》,很明显是关于科技周边的文章哈哈哈,其中内容主要会涉及到等等,如果能帮到你,觉得很不错的话,欢迎各位多多点评和分享!
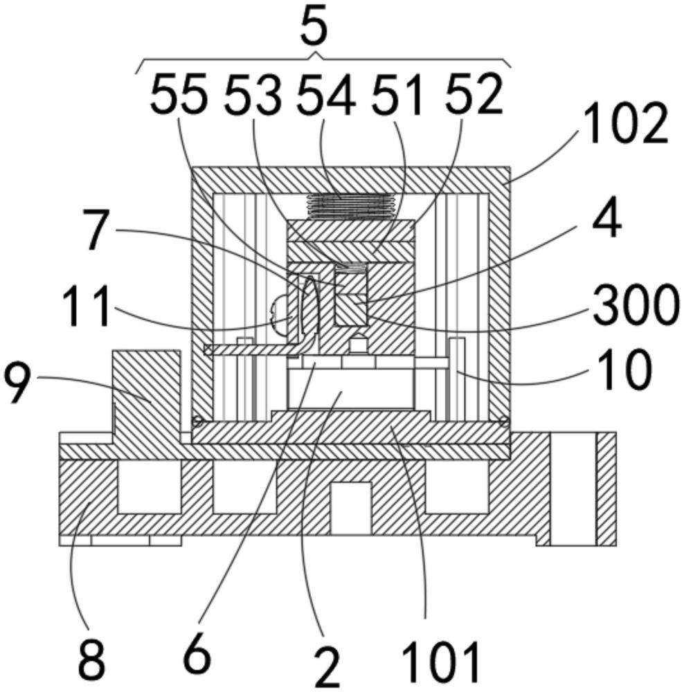
天眼查信息显示,武汉光至科技有限公司于2025年3月14日公开了一项名为“一种温控炉结构及控制方法”的专利,专利申请公布号为CN119617884A。

该发明涉及一种温控炉结构及其控制方法,具体包括壳体设计,壳体内部为空腔结构,两侧向外凸出,多个隔热件安装在壳体内;晶体座设于隔热件之上,且其一侧设有贯穿两端的凹槽;倍频晶体嵌入该凹槽中,壳体两侧的凸起部分开设有通向内部的透射孔,窗口片设置于透射孔内;压紧机构位于晶体座远离隔热件的一侧;加热元件则布置在晶体座靠近隔热件的一侧。该方案有效提升了倍频晶体工作温度的稳定性,通过采集不同温度下实时的倍频功率数据,建立倍频功率与温度之间的目标模型,并利用遗传算法求解最优工作温度,使倍频功率达到最佳状态,从而在外部环境恶劣或变化时仍能保障温控炉运行的稳定与可靠。
到这里,我们也就讲完了《光至科技温控炉专利曝光解析》的内容了。个人认为,基础知识的学习和巩固,是为了更好的将其运用到项目中,欢迎关注golang学习网公众号,带你了解更多关于光至科技的知识点!
Win10系统安装位置快速查找技巧
- 上一篇
- Win10系统安装位置快速查找技巧
- 下一篇
- Win11关闭Defender详细教程
查看更多
最新文章
-
- 科技周边 · 人工智能 | 7分钟前 |
- WorkBuddy接入企业微信无法拉取部门列表为何_检查通讯录Secret权限
- 395浏览 收藏
-
- 科技周边 · 人工智能 | 23分钟前 |
- AI写作软件哪个好 最好用的AI写作工具推荐
- 368浏览 收藏
-
- 科技周边 · 人工智能 | 31分钟前 | 即梦AI
- 即梦AI如何生成儿童插画_即梦AI童趣风格教程【插画】
- 197浏览 收藏
-
- 科技周边 · 人工智能 | 31分钟前 |
- 怎么在Perplexity中查找特定程序员的开源项目_搜索GitHub用户名
- 343浏览 收藏
-
- 科技周边 · 人工智能 | 37分钟前 |
- Windows部署Core组策略_禁用自动更新防止服务中断
- 257浏览 收藏
-
- 科技周边 · 人工智能 | 41分钟前 | Workbuddy
- WorkBuddy怎么写一封专业的离职信_WorkBuddy职场通用文案撰写攻略【模板】
- 176浏览 收藏
-
- 科技周边 · 人工智能 | 55分钟前 |
- 为什么 Claude 在编写复杂正则表达式时不容易出错?
- 315浏览 收藏
-
- 科技周边 · 人工智能 | 1小时前 |
- 怎么让ChatGPT进行角色扮演 ChatGPT超强角色扮演指令玩法【分享】
- 264浏览 收藏
-
- 科技周边 · 人工智能 | 1小时前 | MuleRun
- MuleRun怎么启用通知_MuleRun任务完成提醒设置方法
- 220浏览 收藏
-
- 科技周边 · 人工智能 | 1小时前 |
- 为什么说WorkBuddy是AI驱动的数字化转型利器?如何落地?
- 382浏览 收藏
-
- 科技周边 · 人工智能 | 1小时前 |
- 寒武纪成功适配 DeepSeek-V4,推动 AI 模型高效运行
- 487浏览 收藏
-
- 科技周边 · 人工智能 | 1小时前 |
- 为什么Perplexity在企业内网中解析域名失败_检查企业防火墙对Perplexity域名的拦截情况
- 272浏览 收藏
查看更多
课程推荐
-
- 前端进阶之JavaScript设计模式
- 设计模式是开发人员在软件开发过程中面临一般问题时的解决方案,代表了最佳的实践。本课程的主打内容包括JS常见设计模式以及具体应用场景,打造一站式知识长龙服务,适合有JS基础的同学学习。
- 543次学习
-
- GO语言核心编程课程
- 本课程采用真实案例,全面具体可落地,从理论到实践,一步一步将GO核心编程技术、编程思想、底层实现融会贯通,使学习者贴近时代脉搏,做IT互联网时代的弄潮儿。
- 516次学习
-
- 简单聊聊mysql8与网络通信
- 如有问题加微信:Le-studyg;在课程中,我们将首先介绍MySQL8的新特性,包括性能优化、安全增强、新数据类型等,帮助学生快速熟悉MySQL8的最新功能。接着,我们将深入解析MySQL的网络通信机制,包括协议、连接管理、数据传输等,让
- 500次学习
-
- JavaScript正则表达式基础与实战
- 在任何一门编程语言中,正则表达式,都是一项重要的知识,它提供了高效的字符串匹配与捕获机制,可以极大的简化程序设计。
- 487次学习
-
- 从零制作响应式网站—Grid布局
- 本系列教程将展示从零制作一个假想的网络科技公司官网,分为导航,轮播,关于我们,成功案例,服务流程,团队介绍,数据部分,公司动态,底部信息等内容区块。网站整体采用CSSGrid布局,支持响应式,有流畅过渡和展现动画。
- 485次学习
查看更多
AI推荐
-
- ChatExcel酷表
- ChatExcel酷表是由北京大学团队打造的Excel聊天机器人,用自然语言操控表格,简化数据处理,告别繁琐操作,提升工作效率!适用于学生、上班族及政府人员。
- 4462次使用
-
- Any绘本
- 探索Any绘本(anypicturebook.com/zh),一款开源免费的AI绘本创作工具,基于Google Gemini与Flux AI模型,让您轻松创作个性化绘本。适用于家庭、教育、创作等多种场景,零门槛,高自由度,技术透明,本地可控。
- 4810次使用
-
- 可赞AI
- 可赞AI,AI驱动的办公可视化智能工具,助您轻松实现文本与可视化元素高效转化。无论是智能文档生成、多格式文本解析,还是一键生成专业图表、脑图、知识卡片,可赞AI都能让信息处理更清晰高效。覆盖数据汇报、会议纪要、内容营销等全场景,大幅提升办公效率,降低专业门槛,是您提升工作效率的得力助手。
- 4690次使用
-
- 星月写作
- 星月写作是国内首款聚焦中文网络小说创作的AI辅助工具,解决网文作者从构思到变现的全流程痛点。AI扫榜、专属模板、全链路适配,助力新人快速上手,资深作者效率倍增。
- 6485次使用
-
- MagicLight
- MagicLight.ai是全球首款叙事驱动型AI动画视频创作平台,专注于解决从故事想法到完整动画的全流程痛点。它通过自研AI模型,保障角色、风格、场景高度一致性,让零动画经验者也能高效产出专业级叙事内容。广泛适用于独立创作者、动画工作室、教育机构及企业营销,助您轻松实现创意落地与商业化。
- 5060次使用
查看更多
相关文章
-
- GPT-4王者加冕!读图做题性能炸天,凭自己就能考上斯坦福
- 2023-04-25 501浏览
-
- 单块V100训练模型提速72倍!尤洋团队新成果获AAAI 2023杰出论文奖
- 2023-04-24 501浏览
-
- ChatGPT 真的会接管世界吗?
- 2023-04-13 501浏览
-
- VR的终极形态是「假眼」?Neuralink前联合创始人掏出新产品:科学之眼!
- 2023-04-30 501浏览
-
- 实现实时制造可视性优势有哪些?
- 2023-04-15 501浏览

