果纳半导体晶圆检测专利正式授权
2025-06-27 09:54:17
0浏览
收藏
对于一个科技周边开发者来说,牢固扎实的基础是十分重要的,golang学习网就来带大家一点点的掌握基础知识点。今天本篇文章带大家了解《果纳半导体晶圆检测专利获授权》,主要介绍了,希望对大家的知识积累有所帮助,快点收藏起来吧,否则需要时就找不到了!
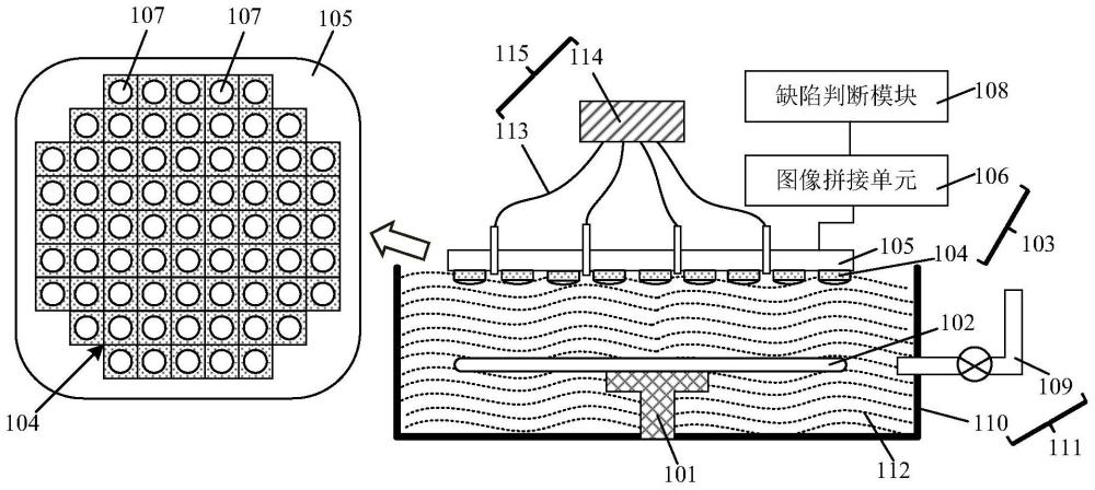
根据天眼查的信息显示,上海果纳半导体技术有限公司近期获得了名为“晶圆缺陷检测装置”的专利授权,该专利的授权公告号是CN112466787B,授权日期为2025年3月14日,而申请日期则是在2020年11月25日。

这项晶圆缺陷检测装置包含以下几部分:晶圆载台,其功能是用来固定需要检测的晶圆;浸润液体供应模块,负责提供浸润液体,使得晶圆载台上的待检测晶圆能够被这种浸润液体完全覆盖,值得注意的是,这种浸润液体的折射率要高于空气;图像采集模块,此模块配备有摄像头阵列,它可以通过摄像头阵列一次性拍下待检测晶圆整个表面的检测图像,并且在拍摄的时候,至少有一部分摄像头阵列会处于浸润液体之中;缺陷判定模块,这个模块依据图像采集模块所获取的检测图像来判断待检测晶圆表面是否存在缺陷。本发明的晶圆缺陷检测装置提升了缺陷检测的准确性。
今天关于《果纳半导体晶圆检测专利正式授权》的内容介绍就到此结束,如果有什么疑问或者建议,可以在golang学习网公众号下多多回复交流;文中若有不正之处,也希望回复留言以告知!
豆包AI写日志技巧全解析
- 上一篇
- 豆包AI写日志技巧全解析
- 下一篇
- MySQL数据库实例教程:案例操作详解
查看更多
最新文章
-
- 科技周边 · 人工智能 | 13分钟前 |
- 摩尔线程AICUBE预售,家庭AI中枢来袭
- 330浏览 收藏
-
- 科技周边 · 人工智能 | 16分钟前 |
- Anthropic融资冲刺,估值目标9000亿
- 138浏览 收藏
-
- 科技周边 · 人工智能 | 19分钟前 |
- Recraft AI注册问题及解决方法
- 150浏览 收藏
-
- 科技周边 · 人工智能 | 22分钟前 |
- Figma文字行自动编号技巧详解
- 489浏览 收藏
-
- 科技周边 · 人工智能 | 25分钟前 |
- 腾讯元宝品牌文案创作全解析
- 456浏览 收藏
-
- 科技周边 · 人工智能 | 26分钟前 | 智谱清影
- 智谱清影动态背景制作教程分享
- 282浏览 收藏
-
- 科技周边 · 人工智能 | 27分钟前 |
- AI生成隐私政策与条款教程
- 296浏览 收藏
-
- 科技周边 · 人工智能 | 28分钟前 | ClawBot
- ClawBot区分主进程与渲染进程吗?
- 475浏览 收藏
-
- 科技周边 · 人工智能 | 34分钟前 | CodeBuddy
- CodeBuddy如何助力GraphQL开发?Schema与Resolver生成全解析
- 478浏览 收藏
-
- 科技周边 · 人工智能 | 40分钟前 |
- SteamDeck运行DeepSeek,掌上AI新体验
- 229浏览 收藏
-
- 科技周边 · 人工智能 | 46分钟前 |
- Figma抽象背景生成,AI工具推荐指南
- 114浏览 收藏
-
- 科技周边 · 人工智能 | 47分钟前 | Hermes Agent HermesAgent
- HermesAgent聚类实战:K均值应用详解
- 232浏览 收藏
查看更多
课程推荐
-
- 前端进阶之JavaScript设计模式
- 设计模式是开发人员在软件开发过程中面临一般问题时的解决方案,代表了最佳的实践。本课程的主打内容包括JS常见设计模式以及具体应用场景,打造一站式知识长龙服务,适合有JS基础的同学学习。
- 543次学习
-
- GO语言核心编程课程
- 本课程采用真实案例,全面具体可落地,从理论到实践,一步一步将GO核心编程技术、编程思想、底层实现融会贯通,使学习者贴近时代脉搏,做IT互联网时代的弄潮儿。
- 516次学习
-
- 简单聊聊mysql8与网络通信
- 如有问题加微信:Le-studyg;在课程中,我们将首先介绍MySQL8的新特性,包括性能优化、安全增强、新数据类型等,帮助学生快速熟悉MySQL8的最新功能。接着,我们将深入解析MySQL的网络通信机制,包括协议、连接管理、数据传输等,让
- 500次学习
-
- JavaScript正则表达式基础与实战
- 在任何一门编程语言中,正则表达式,都是一项重要的知识,它提供了高效的字符串匹配与捕获机制,可以极大的简化程序设计。
- 487次学习
-
- 从零制作响应式网站—Grid布局
- 本系列教程将展示从零制作一个假想的网络科技公司官网,分为导航,轮播,关于我们,成功案例,服务流程,团队介绍,数据部分,公司动态,底部信息等内容区块。网站整体采用CSSGrid布局,支持响应式,有流畅过渡和展现动画。
- 485次学习
查看更多
AI推荐
-
- ChatExcel酷表
- ChatExcel酷表是由北京大学团队打造的Excel聊天机器人,用自然语言操控表格,简化数据处理,告别繁琐操作,提升工作效率!适用于学生、上班族及政府人员。
- 5781次使用
-
- Any绘本
- 探索Any绘本(anypicturebook.com/zh),一款开源免费的AI绘本创作工具,基于Google Gemini与Flux AI模型,让您轻松创作个性化绘本。适用于家庭、教育、创作等多种场景,零门槛,高自由度,技术透明,本地可控。
- 6216次使用
-
- 可赞AI
- 可赞AI,AI驱动的办公可视化智能工具,助您轻松实现文本与可视化元素高效转化。无论是智能文档生成、多格式文本解析,还是一键生成专业图表、脑图、知识卡片,可赞AI都能让信息处理更清晰高效。覆盖数据汇报、会议纪要、内容营销等全场景,大幅提升办公效率,降低专业门槛,是您提升工作效率的得力助手。
- 6034次使用
-
- 星月写作
- 星月写作是国内首款聚焦中文网络小说创作的AI辅助工具,解决网文作者从构思到变现的全流程痛点。AI扫榜、专属模板、全链路适配,助力新人快速上手,资深作者效率倍增。
- 7985次使用
-
- MagicLight
- MagicLight.ai是全球首款叙事驱动型AI动画视频创作平台,专注于解决从故事想法到完整动画的全流程痛点。它通过自研AI模型,保障角色、风格、场景高度一致性,让零动画经验者也能高效产出专业级叙事内容。广泛适用于独立创作者、动画工作室、教育机构及企业营销,助您轻松实现创意落地与商业化。
- 6422次使用
查看更多
相关文章
-
- GPT-4王者加冕!读图做题性能炸天,凭自己就能考上斯坦福
- 2023-04-25 501浏览
-
- 单块V100训练模型提速72倍!尤洋团队新成果获AAAI 2023杰出论文奖
- 2023-04-24 501浏览
-
- ChatGPT 真的会接管世界吗?
- 2023-04-13 501浏览
-
- VR的终极形态是「假眼」?Neuralink前联合创始人掏出新产品:科学之眼!
- 2023-04-30 501浏览
-
- 实现实时制造可视性优势有哪些?
- 2023-04-15 501浏览

