华星光电专利获授权,显示技术再升级
2025-06-28 18:27:10
0浏览
收藏
**华星光电显示技术再获突破!** 深圳市华星光电半导体显示技术有限公司最新“显示面板及显示装置”专利已获国家授权(公告号:CN222485190U,公告日:2025年2月14日)。该专利创新性地设计了一种显示面板结构,通过优化金属遮光层、缓冲层、有源层、栅极绝缘层等多层结构,以及对接触孔径的精细控制,旨在提升显示面板的性能和显示效果。本发明为华星光电在显示技术领域的持续创新注入了新的活力,有望推动显示装置技术的进一步发展。该专利的授权标志着华星光电在显示技术领域的研发实力再次得到肯定。
深圳市华星光电半导体显示技术有限公司近日获得一项名为“显示面板及显示装置”的专利,天眼查信息显示其授权公告号为CN222485190U,授权公告日期为2025年2月14日,申请日期为2024年2月29日。

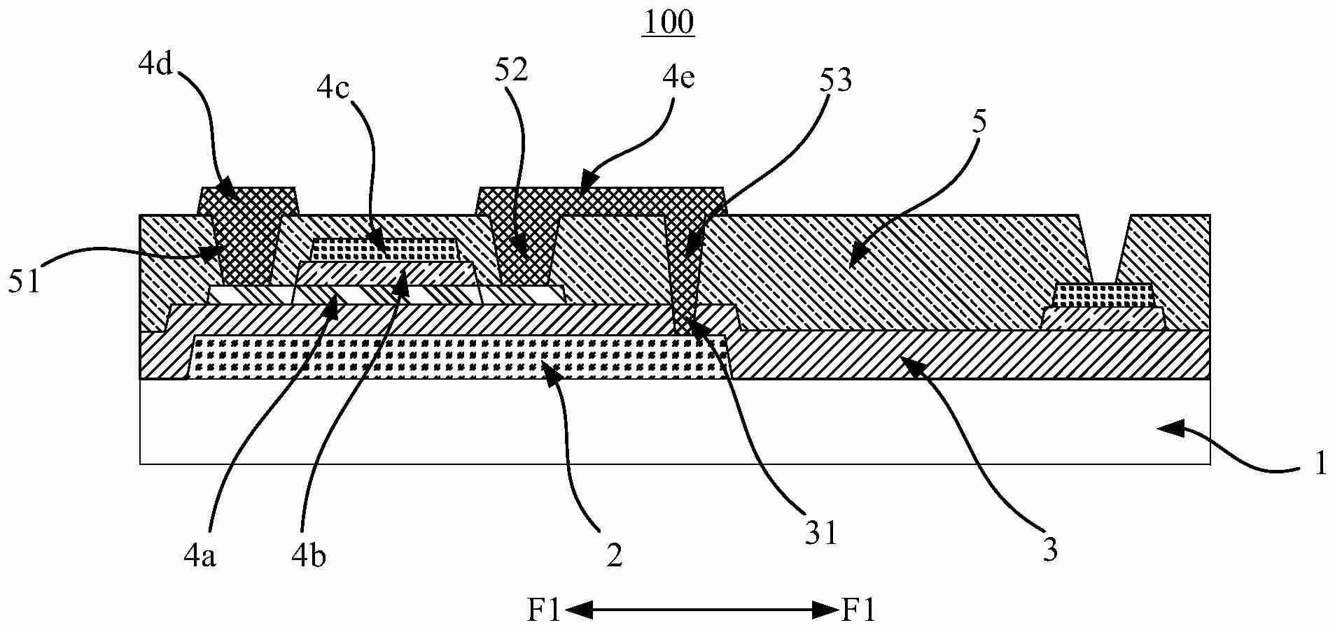
本发明公开了一种显示面板及其所构成的显示装置。该显示面板中,金属遮光层位于衬底基板之上;缓冲层设置在衬底基板上,并覆盖金属遮光层;有源层设于缓冲层之上;栅极绝缘层设于有源层上方;栅极设置在栅极绝缘层上;层间绝缘层位于缓冲层上,并覆盖有源层与栅极;源极设置于层间绝缘层上;漏极也设置于层间绝缘层上;其中,层间绝缘层设有第一接触孔、第二接触孔和第三接触孔;缓冲层上设有第四接触孔;源极与第一接触孔位置相对应;漏极的一部分对应于第二接触孔,另一部分对应于第三接触孔;第一接触孔与第二接触孔的孔径大于第三接触孔的孔径,同时第一接触孔与第二接触孔的孔径也大于第四接触孔的孔径。
今天关于《华星光电专利获授权,显示技术再升级》的内容就介绍到这里了,是不是学起来一目了然!想要了解更多关于专利,华星光电,显示面板,显示装置,半导体显示技术的内容请关注golang学习网公众号!
电脑卡顿怎么解决?优化技巧全攻略
- 上一篇
- 电脑卡顿怎么解决?优化技巧全攻略
- 下一篇
- Win11沙盒网络故障解决方法
查看更多
最新文章
-
- 科技周边 · 人工智能 | 1小时前 |
- DeepSeek多语言代码转换教程 DeepSeek跨平台开发技巧
- 424浏览 收藏
-
- 科技周边 · 人工智能 | 1小时前 | openclaw
- 学习伴侣:OpenClaw自动整理笔记与生成Anki抽认卡
- 404浏览 收藏
-
- 科技周边 · 人工智能 | 1小时前 |
- WorkBuddy vs. ChatGPT:谁更适合中国职场?
- 223浏览 收藏
-
- 科技周边 · 人工智能 | 1小时前 |
- 海螺AI主观视角开场运镜怎么拍_海螺AI沉浸式开场教程
- 444浏览 收藏
-
- 科技周边 · 人工智能 | 2小时前 |
- lovemo官方在线版 lovemo网页免费入口
- 131浏览 收藏
-
- 科技周边 · 人工智能 | 2小时前 |
- WorkBuddy存储对象怎么批量授权_利用前缀规则简化管理
- 487浏览 收藏
-
- 科技周边 · 人工智能 | 2小时前 | AI应用
- AI生成服装设计怎么操作_CalaAI辅助时尚设计教程
- 367浏览 收藏
-
- 科技周边 · 人工智能 | 3小时前 |
- 融光— 开源全流程 AI 视频创作平台,自动化工作流
- 346浏览 收藏
-
- 科技周边 · 人工智能 | 3小时前 |
- Minimax大模型API返回数据格式 JSON参数字段详细解释【文档】
- 392浏览 收藏
-
- 科技周边 · 人工智能 | 3小时前 |
- airpords怎么恢复出厂设置 airpords重置出厂设置步骤【指南】
- 160浏览 收藏
-
- 科技周边 · 人工智能 | 3小时前 | 骡子快跑
- 骡子快跑能解释错误日历_骡子快跑日志分析辅助方法
- 312浏览 收藏
查看更多
课程推荐
-
- 前端进阶之JavaScript设计模式
- 设计模式是开发人员在软件开发过程中面临一般问题时的解决方案,代表了最佳的实践。本课程的主打内容包括JS常见设计模式以及具体应用场景,打造一站式知识长龙服务,适合有JS基础的同学学习。
- 543次学习
-
- GO语言核心编程课程
- 本课程采用真实案例,全面具体可落地,从理论到实践,一步一步将GO核心编程技术、编程思想、底层实现融会贯通,使学习者贴近时代脉搏,做IT互联网时代的弄潮儿。
- 516次学习
-
- 简单聊聊mysql8与网络通信
- 如有问题加微信:Le-studyg;在课程中,我们将首先介绍MySQL8的新特性,包括性能优化、安全增强、新数据类型等,帮助学生快速熟悉MySQL8的最新功能。接着,我们将深入解析MySQL的网络通信机制,包括协议、连接管理、数据传输等,让
- 500次学习
-
- JavaScript正则表达式基础与实战
- 在任何一门编程语言中,正则表达式,都是一项重要的知识,它提供了高效的字符串匹配与捕获机制,可以极大的简化程序设计。
- 487次学习
-
- 从零制作响应式网站—Grid布局
- 本系列教程将展示从零制作一个假想的网络科技公司官网,分为导航,轮播,关于我们,成功案例,服务流程,团队介绍,数据部分,公司动态,底部信息等内容区块。网站整体采用CSSGrid布局,支持响应式,有流畅过渡和展现动画。
- 485次学习
查看更多
AI推荐
-
- ChatExcel酷表
- ChatExcel酷表是由北京大学团队打造的Excel聊天机器人,用自然语言操控表格,简化数据处理,告别繁琐操作,提升工作效率!适用于学生、上班族及政府人员。
- 4445次使用
-
- Any绘本
- 探索Any绘本(anypicturebook.com/zh),一款开源免费的AI绘本创作工具,基于Google Gemini与Flux AI模型,让您轻松创作个性化绘本。适用于家庭、教育、创作等多种场景,零门槛,高自由度,技术透明,本地可控。
- 4800次使用
-
- 可赞AI
- 可赞AI,AI驱动的办公可视化智能工具,助您轻松实现文本与可视化元素高效转化。无论是智能文档生成、多格式文本解析,还是一键生成专业图表、脑图、知识卡片,可赞AI都能让信息处理更清晰高效。覆盖数据汇报、会议纪要、内容营销等全场景,大幅提升办公效率,降低专业门槛,是您提升工作效率的得力助手。
- 4680次使用
-
- 星月写作
- 星月写作是国内首款聚焦中文网络小说创作的AI辅助工具,解决网文作者从构思到变现的全流程痛点。AI扫榜、专属模板、全链路适配,助力新人快速上手,资深作者效率倍增。
- 6467次使用
-
- MagicLight
- MagicLight.ai是全球首款叙事驱动型AI动画视频创作平台,专注于解决从故事想法到完整动画的全流程痛点。它通过自研AI模型,保障角色、风格、场景高度一致性,让零动画经验者也能高效产出专业级叙事内容。广泛适用于独立创作者、动画工作室、教育机构及企业营销,助您轻松实现创意落地与商业化。
- 5050次使用
查看更多
相关文章
-
- GPT-4王者加冕!读图做题性能炸天,凭自己就能考上斯坦福
- 2023-04-25 501浏览
-
- 单块V100训练模型提速72倍!尤洋团队新成果获AAAI 2023杰出论文奖
- 2023-04-24 501浏览
-
- ChatGPT 真的会接管世界吗?
- 2023-04-13 501浏览
-
- VR的终极形态是「假眼」?Neuralink前联合创始人掏出新产品:科学之眼!
- 2023-04-30 501浏览
-
- 实现实时制造可视性优势有哪些?
- 2023-04-15 501浏览

