云天励飞发布设备失焦识别专利技术
云天励飞公布“设备失焦识别方法、装置、电子设备及存储介质”专利,该技术旨在解决监控设备失焦问题,提升检测效率。该专利通过分析目标设备的待处理图像,利用预设清晰度算法进行局部清晰度分析,并结合目标检测技术提取目标对象的检测框信息,最终判断设备是否失焦。该方法综合考虑了局部清晰度与目标检测框之间的相关性,实现了监控设备失焦状态的自动识别。该技术的应用将有效提高监控系统的智能化水平,提升图像质量和数据分析的准确性。
1.云天励飞“设备失焦识别方法、装置、电子设备及存储介质”专利公布
天眼查显示,深圳云天励飞技术股份有限公司“设备失焦识别方法、装置、电子设备及存储介质”专利公开,申请公布日期为2025年2月14日,申请号为CN119450208A。

本发明实施例提供了一种设备失焦识别技术,包括获取目标设备的待处理图像,其中包含目标对象;利用预设清晰度算法对图像进行局部清晰度分析,得出多个局部清晰度值;通过目标检测技术提取目标对象的检测框信息;结合图像的局部清晰度数据计算目标检测框的清晰度,并以此判断设备是否失焦。该方法综合考虑了局部清晰度与目标检测框之间的相关性,实现了监控设备失焦状态的自动识别,有效提高了检测效率。
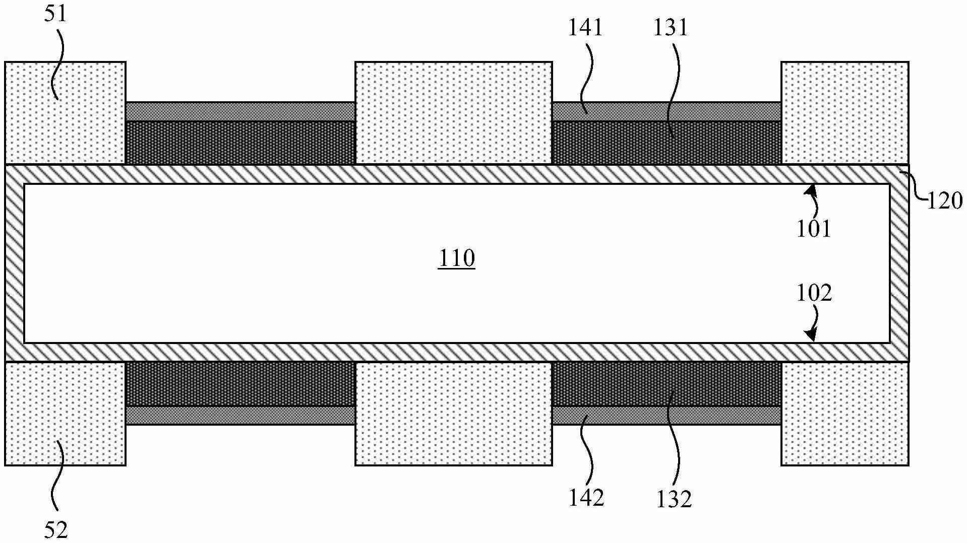
2.华润上华“横向扩散金属氧化物半导体器件及其制备方法”专利公布
天眼查数据显示,无锡华润上华科技有限公司“横向扩散金属氧化物半导体器件及其制备方法”专利公布,申请公布日期为2025年2月14日,申请号为CN119451184A。

本发明涉及一种横向扩散金属氧化物半导体器件及其制造工艺。具体步骤包括:提供衬底材料,在其内部形成体区结构;在衬底表面设置注入掩蔽层,该掩蔽层覆盖部分区域,且体区位于掩蔽层投影范围内;从体区向衬底边缘方向,掩蔽层沿第一方向厚度逐渐减小(第一方向平行于衬底厚度);随后在衬底中形成漂移区,其与体区相邻并随位置变化深度递增。该方案一方面降低了靠近沟道区电场强度,提升器件稳定性;另一方面削弱了Kirk效应,增强了开通状态下的击穿电压性能。
3.地平线 “三维特征图的特征提取方法和装置、存储介质、电子设备”专利获授权
天眼查报道,北京地平线机器人技术研发中心近日取得一项名为“三维特征图的特征提取方法和装置、存储介质、电子设备”的专利授权,授权公告号为CN114708444B,申请日为2025年2月14日,授权日期为2022年4月22日。

该专利披露了一种用于三维特征图特征提取的技术方案及配套装置、增量存储介质和电子设备。具体流程包括:依据三维特征图的深度信息生成多层参数;结合深度数据和多层特征图将原始三维图分割为若干二维特征图;分别对每张二维特征图进行处理,获得初始特征图集合;最终基于这些初始特征图合成三维特征图的目标特征图。
4.TCL华星光电“显示面板及显示装置”专利公布
天眼查显示,TCL华星光电技术有限公司“显示面板及显示装置”专利发布,申请公布时间为2025年2月14日,申请号为CN119446026A。

本发明实施例提出一种新型显示面板及其应用装置,旨在解决现有技术中易出现水平横纹的问题。该面板包含栅极驱动电路,其一侧依次排布电源信号线与时钟信号线组。电源信号线连接至驱动电路并沿第一方向延伸。时钟信号线组由第一时钟信号线和第二时钟信号线组成,分别通过第一连接线与第二连接线连接驱动电路。其中,电源信号线设计有凹陷结构,开口朝向驱动电路或时钟线组。第一连接线由主体部和弯折部构成,弯折部位于凹陷区域所在的厚度方向位置。
5.杰华特“电隔离结构及其制造方法与多管芯封装结构”专利公布
天眼查显示,杰华特微电子股份有限公司“电隔离结构及其制造方法与多管芯封装结构”专利公布,申请公布日为2025年2月14日,申请号为CN119447115A。

本发明公开了一种电隔离结构及其制造方法,以及多管芯封装结构。制造过程包括:在玻璃基板的两个相对表面上形成连接层;在其上分别制作图案化的导电层,包括第一与第二导电层;最后对玻璃基板进行切割以分离出多个电隔离单元。第一与第二导电层至少之一可构成隔离电感、隔离电容或隔离变压器。采用双面工艺在玻璃基板两侧形成导电结构,显著提升了整体耐压能力。
终于介绍完啦!小伙伴们,这篇关于《云天励飞发布设备失焦识别专利技术》的介绍应该让你收获多多了吧!欢迎大家收藏或分享给更多需要学习的朋友吧~golang学习网公众号也会发布科技周边相关知识,快来关注吧!
Keras神经网络教程:快速建模入门指南
- 上一篇
- Keras神经网络教程:快速建模入门指南
- 下一篇
- Golang定时任务实现与调度方法
-
- 科技周边 · 人工智能 | 19分钟前 |
- 千问怎么设置快捷指令_千问指令创建与一键调用【技巧】
- 389浏览 收藏
-
- 科技周边 · 人工智能 | 37分钟前 |
- AnythingLLM怎么搭建知识库_AnythingLLM私有知识库教程
- 435浏览 收藏
-
- 科技周边 · 人工智能 | 38分钟前 |
- WorkBuddy模型回复包含乱码字符怎么处理_过滤非UTF8非法字符
- 268浏览 收藏
-
- 科技周边 · 人工智能 | 38分钟前 |
- Claude 自动修复代码 Bug 的成功率测试
- 261浏览 收藏
-
- 科技周边 · 人工智能 | 40分钟前 |
- 扣子AI如何集成第三方API_扣子AI API接入与调用方法【攻略】
- 318浏览 收藏
-
- 科技周边 · 人工智能 | 46分钟前 |
- 什么是Claude Mythos的Tool Use Claude Mythos工具使用详解
- 378浏览 收藏
-
- 科技周边 · 人工智能 | 49分钟前 |
- AI助手怎么用来写周报_AI助手写工作总结方法是什么
- 306浏览 收藏
-
- 科技周边 · 人工智能 | 59分钟前 | Hermes Agent HermesAgent
- 精准提交任务_减少 Hermes Agent 无效 Token 消耗的黄金法则
- 393浏览 收藏
-
- 科技周边 · 人工智能 | 1小时前 | 夸克AI 夸克AI大模型
- 夸克AI怎么写岗位说明书_夸克AI组织架构梳理指南【组织发展】
- 190浏览 收藏
-
- 科技周边 · 人工智能 | 1小时前 | openclaw
- OpenClaw自然语言交互:像聊天一样指挥电脑干活
- 147浏览 收藏
-
- 科技周边 · 人工智能 | 1小时前 |
- Inkscape导入PS路径乱了咋办_Inkscape规整路径导入法【修复】
- 305浏览 收藏
-
- 科技周边 · 人工智能 | 1小时前 |
- 怎么利用Perplexity快速对比不同云厂商的算力价格_检索AWS与Azure报价
- 217浏览 收藏
-
- 前端进阶之JavaScript设计模式
- 设计模式是开发人员在软件开发过程中面临一般问题时的解决方案,代表了最佳的实践。本课程的主打内容包括JS常见设计模式以及具体应用场景,打造一站式知识长龙服务,适合有JS基础的同学学习。
- 543次学习
-
- GO语言核心编程课程
- 本课程采用真实案例,全面具体可落地,从理论到实践,一步一步将GO核心编程技术、编程思想、底层实现融会贯通,使学习者贴近时代脉搏,做IT互联网时代的弄潮儿。
- 516次学习
-
- 简单聊聊mysql8与网络通信
- 如有问题加微信:Le-studyg;在课程中,我们将首先介绍MySQL8的新特性,包括性能优化、安全增强、新数据类型等,帮助学生快速熟悉MySQL8的最新功能。接着,我们将深入解析MySQL的网络通信机制,包括协议、连接管理、数据传输等,让
- 500次学习
-
- JavaScript正则表达式基础与实战
- 在任何一门编程语言中,正则表达式,都是一项重要的知识,它提供了高效的字符串匹配与捕获机制,可以极大的简化程序设计。
- 487次学习
-
- 从零制作响应式网站—Grid布局
- 本系列教程将展示从零制作一个假想的网络科技公司官网,分为导航,轮播,关于我们,成功案例,服务流程,团队介绍,数据部分,公司动态,底部信息等内容区块。网站整体采用CSSGrid布局,支持响应式,有流畅过渡和展现动画。
- 485次学习
-
- ChatExcel酷表
- ChatExcel酷表是由北京大学团队打造的Excel聊天机器人,用自然语言操控表格,简化数据处理,告别繁琐操作,提升工作效率!适用于学生、上班族及政府人员。
- 4441次使用
-
- Any绘本
- 探索Any绘本(anypicturebook.com/zh),一款开源免费的AI绘本创作工具,基于Google Gemini与Flux AI模型,让您轻松创作个性化绘本。适用于家庭、教育、创作等多种场景,零门槛,高自由度,技术透明,本地可控。
- 4798次使用
-
- 可赞AI
- 可赞AI,AI驱动的办公可视化智能工具,助您轻松实现文本与可视化元素高效转化。无论是智能文档生成、多格式文本解析,还是一键生成专业图表、脑图、知识卡片,可赞AI都能让信息处理更清晰高效。覆盖数据汇报、会议纪要、内容营销等全场景,大幅提升办公效率,降低专业门槛,是您提升工作效率的得力助手。
- 4677次使用
-
- 星月写作
- 星月写作是国内首款聚焦中文网络小说创作的AI辅助工具,解决网文作者从构思到变现的全流程痛点。AI扫榜、专属模板、全链路适配,助力新人快速上手,资深作者效率倍增。
- 6462次使用
-
- MagicLight
- MagicLight.ai是全球首款叙事驱动型AI动画视频创作平台,专注于解决从故事想法到完整动画的全流程痛点。它通过自研AI模型,保障角色、风格、场景高度一致性,让零动画经验者也能高效产出专业级叙事内容。广泛适用于独立创作者、动画工作室、教育机构及企业营销,助您轻松实现创意落地与商业化。
- 5048次使用
-
- GPT-4王者加冕!读图做题性能炸天,凭自己就能考上斯坦福
- 2023-04-25 501浏览
-
- 单块V100训练模型提速72倍!尤洋团队新成果获AAAI 2023杰出论文奖
- 2023-04-24 501浏览
-
- ChatGPT 真的会接管世界吗?
- 2023-04-13 501浏览
-
- VR的终极形态是「假眼」?Neuralink前联合创始人掏出新产品:科学之眼!
- 2023-04-30 501浏览
-
- 实现实时制造可视性优势有哪些?
- 2023-04-15 501浏览

