杰华特电隔离结构专利曝光
2025-07-07 17:06:45
0浏览
收藏
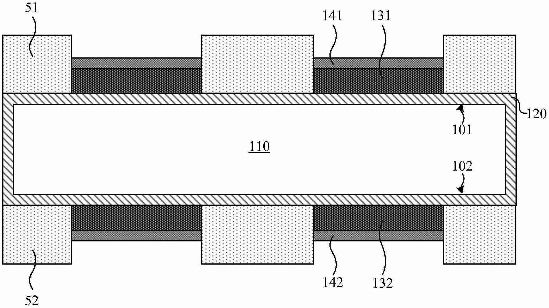
**杰华特电隔离结构专利公布,提升耐压性能!** 近日,杰华特微电子股份有限公司一项名为“电隔离结构及其制造方法与多管芯封装结构”的专利正式公布(申请公布号:CN119447115A)。该专利创新性地提出了一种利用双面工艺在玻璃基板上构建电隔离结构的方法,通过在玻璃基板的两面制作连接层和图案化的导电层,形成隔离电感、电容或变压器等元件。该设计显著提升了电隔离结构的耐压性能,为高可靠性电子产品的研发提供了新的解决方案。此项专利的公布,标志着杰华特在电隔离技术领域取得了重要进展,有望推动相关产业的升级发展。
天眼查显示,杰华特微电子股份有限公司“电隔离结构及其制造方法与多管芯封装结构”专利公布,申请公布日为2025年2月14日,申请公布号为CN119447115A。

本发明公开了一种电隔离结构及其制造方法以及多管芯封装结构。该隔离结构的制造方法包括:在玻璃基板相对的第一表面和第二表面制作连接层;随后在第一表面和第二表面上的连接层上分别形成图案化的导电层,即第一导电层和第二导电层;通过切割玻璃基板将多个电隔离结构分离,其中第一导电层与第二导电层中的至少一个构成隔离电感、隔离电容或隔离变压器中的至少一种元件。利用双面工艺在玻璃基板的两个表面形成导电层,从而构建电隔离结构,显著提高了其耐压性能。
到这里,我们也就讲完了《杰华特电隔离结构专利曝光》的内容了。个人认为,基础知识的学习和巩固,是为了更好的将其运用到项目中,欢迎关注golang学习网公众号,带你了解更多关于玻璃基板,杰华特,电隔离结构,耐压性能,双面工艺的知识点!
Golang反射性能低,业务慎用
- 上一篇
- Golang反射性能低,业务慎用
- 下一篇
- Golang协程调度与GMP模型详解
查看更多
最新文章
-
- 科技周边 · 人工智能 | 8小时前 | 夸克AI 夸克AI大模型
- 夸克AI如何识别乐器?音乐知识解析
- 295浏览 收藏
-
- 科技周边 · 人工智能 | 8小时前 |
- Perplexity对比云服务价格表格制作教程
- 291浏览 收藏
-
- 科技周边 · 人工智能 | 9小时前 | Sora sora使用
- Sora生成复杂场景视频教程
- 166浏览 收藏
-
- 科技周边 · 人工智能 | 9小时前 | CanvaAI Canva可画
- Canva可画官网入口及使用教程
- 484浏览 收藏
-
- 科技周边 · 人工智能 | 9小时前 |
- 豆包AI冷知识!热点神图制作技巧
- 436浏览 收藏
-
- 科技周边 · 人工智能 | 9小时前 |
- 可灵AI制作婚礼视频,照片变浪漫请柬
- 372浏览 收藏
-
- 科技周边 · 人工智能 | 9小时前 |
- AIUI设计与网页原型进阶教程
- 420浏览 收藏
-
- 科技周边 · 人工智能 | 9小时前 | 文心一言 百度AI文心一言
- 文心一言4.5API费用及使用指南
- 468浏览 收藏
-
- 科技周边 · 人工智能 | 9小时前 |
- 硅谷银行家换豪宅,只收Anthropic股份
- 479浏览 收藏
-
- 科技周边 · 人工智能 | 10小时前 |
- DeepSeekV4微信机器人被封解决方法
- 363浏览 收藏
-
- 科技周边 · 人工智能 | 10小时前 |
- AI作词工具推荐:一键生成原创歌词
- 127浏览 收藏
-
- 科技周边 · 人工智能 | 10小时前 |
- 星火创作儿童故事技巧全解析
- 105浏览 收藏
查看更多
课程推荐
-
- 前端进阶之JavaScript设计模式
- 设计模式是开发人员在软件开发过程中面临一般问题时的解决方案,代表了最佳的实践。本课程的主打内容包括JS常见设计模式以及具体应用场景,打造一站式知识长龙服务,适合有JS基础的同学学习。
- 543次学习
-
- GO语言核心编程课程
- 本课程采用真实案例,全面具体可落地,从理论到实践,一步一步将GO核心编程技术、编程思想、底层实现融会贯通,使学习者贴近时代脉搏,做IT互联网时代的弄潮儿。
- 516次学习
-
- 简单聊聊mysql8与网络通信
- 如有问题加微信:Le-studyg;在课程中,我们将首先介绍MySQL8的新特性,包括性能优化、安全增强、新数据类型等,帮助学生快速熟悉MySQL8的最新功能。接着,我们将深入解析MySQL的网络通信机制,包括协议、连接管理、数据传输等,让
- 500次学习
-
- JavaScript正则表达式基础与实战
- 在任何一门编程语言中,正则表达式,都是一项重要的知识,它提供了高效的字符串匹配与捕获机制,可以极大的简化程序设计。
- 487次学习
-
- 从零制作响应式网站—Grid布局
- 本系列教程将展示从零制作一个假想的网络科技公司官网,分为导航,轮播,关于我们,成功案例,服务流程,团队介绍,数据部分,公司动态,底部信息等内容区块。网站整体采用CSSGrid布局,支持响应式,有流畅过渡和展现动画。
- 485次学习
查看更多
AI推荐
-
- ChatExcel酷表
- ChatExcel酷表是由北京大学团队打造的Excel聊天机器人,用自然语言操控表格,简化数据处理,告别繁琐操作,提升工作效率!适用于学生、上班族及政府人员。
- 4481次使用
-
- Any绘本
- 探索Any绘本(anypicturebook.com/zh),一款开源免费的AI绘本创作工具,基于Google Gemini与Flux AI模型,让您轻松创作个性化绘本。适用于家庭、教育、创作等多种场景,零门槛,高自由度,技术透明,本地可控。
- 4824次使用
-
- 可赞AI
- 可赞AI,AI驱动的办公可视化智能工具,助您轻松实现文本与可视化元素高效转化。无论是智能文档生成、多格式文本解析,还是一键生成专业图表、脑图、知识卡片,可赞AI都能让信息处理更清晰高效。覆盖数据汇报、会议纪要、内容营销等全场景,大幅提升办公效率,降低专业门槛,是您提升工作效率的得力助手。
- 4708次使用
-
- 星月写作
- 星月写作是国内首款聚焦中文网络小说创作的AI辅助工具,解决网文作者从构思到变现的全流程痛点。AI扫榜、专属模板、全链路适配,助力新人快速上手,资深作者效率倍增。
- 6500次使用
-
- MagicLight
- MagicLight.ai是全球首款叙事驱动型AI动画视频创作平台,专注于解决从故事想法到完整动画的全流程痛点。它通过自研AI模型,保障角色、风格、场景高度一致性,让零动画经验者也能高效产出专业级叙事内容。广泛适用于独立创作者、动画工作室、教育机构及企业营销,助您轻松实现创意落地与商业化。
- 5078次使用
查看更多
相关文章
-
- GPT-4王者加冕!读图做题性能炸天,凭自己就能考上斯坦福
- 2023-04-25 501浏览
-
- 单块V100训练模型提速72倍!尤洋团队新成果获AAAI 2023杰出论文奖
- 2023-04-24 501浏览
-
- ChatGPT 真的会接管世界吗?
- 2023-04-13 501浏览
-
- VR的终极形态是「假眼」?Neuralink前联合创始人掏出新产品:科学之眼!
- 2023-04-30 501浏览
-
- 实现实时制造可视性优势有哪些?
- 2023-04-15 501浏览

