又发现了一个有趣的 ChatGPT 玩法,分享给大家
亲爱的编程学习爱好者,如果你点开了这篇文章,说明你对《又发现了一个有趣的 ChatGPT 玩法,分享给大家》很感兴趣。本篇文章就来给大家详细解析一下,主要介绍一下,希望所有认真读完的童鞋们,都有实质性的提高。
阿粉之前给大家写过如何将 ChatGPT 接入微信和钉钉,没看过的可以往公众号前面的文章翻翻,最近又发现了一个有趣的玩法,周末找时间实现了一下,感觉挺不错的,分享给大家。
背景
事情的起因是阿粉在朋友圈看到了这样一条信息,敏感信息已经去掉了,意思很明显就是将 OpenAI 接入到知识星球了,用户可以通过星球提问的方式来对 OpenAI 进行提问,OpenAI 会自动回答相应用户的问题,并通知到用户。

看到这就很有意思了,对于运营了知识星球的博主来说,特别是技术类博主,很多简单的技术知识点,完全就可以通过自动化来进行回答,而不用太消耗自己的时间。
那有的小伙伴就要问了,这跟用户自己百度有什么区别呢?
只要用过 OpenAI 的小伙伴是深有体会的,百度搜索出来的答案广告很多不说,要在大量相似的内容中找到有用了,往往还是要花点时间的。
而 OpenAI 提供的答案往往思路清晰,条理分明,虽然说对于很多时效性的问题给不了确切的答案,但是对于一些技术知识点的回答还是可以很精准的。
下面是阿粉看到的一些 case,大家可以瞅瞅
可以写代码

会回答问题

会写大纲

会分析性能

搭建
上面的 case 看完了,那么接下来就可以开始着手搭建了,首先要知道我们该如何实现这个自动智能回答功能,思路很简单,就是先获取待回答的问题列表,然后遍历问题请求 OpenAI 的接口,然后再将返回的结果回写通知对应的用户,这个过程我们需要通过定时任务轮询去处理。
综上所述,我们需要准备下面这些东西
- 一个可以被提问的知识星球账号,也就是被提问者;
- OpenAI 账号对应的 API KEY,这一步相对会稍微麻烦一点,不过之前的文章都提供过思路如何获取,不在本文讨论的范围,感兴趣的翻翻前面的文章。
- 调度工具或者调度平台,也可以是 Linux 系统的定时命令;
- 实现 API 请求的程序或者脚本;
编程
上面的四点都是必须的,但是最主要的当然还是编写代码,按照我们上面的思路,我们这个程序需要调用三个接口
- 获取问题列表;
- 请求 OpenAI 获取答案;
- 回写答案通知用户;
下面我们依次来看看这三个接口要如何对接,提前说明下,阿粉这边为了简单用的调度平台是 XXL-JOB 对应的执行任务脚本是采用 Nodejs 写的。
用准备好的被提问者账号登录网页版的知识星球进入到对应的星球后,可以看到有一个【等我回答】的菜单。

我们打开浏览器的控制台,点击【等我回答】按钮,就可以看到请求的对应接口地址

这是我们第一个要请求的接口地址,请把它记下来,再通过 request header 拿到对应的 cookie 信息和一些参数过后,这样我们就可以通过代码来进行接口请求了,获取到需要回答的问题列表。
var options = {
url: ZSXQ_UNANSWER_URL,
headers: {
'accept': 'application/json, text/plain, */*',
'cookie': cookie,
'User-Agent': 'Mozilla/5.0 xxxx',
'x-timestamp': Math.floor(Date.now() / 1000),
}
};
request(options, callback);获取到了问题列表过后,我们在 callback 回调方法里面就可以开始遍历请求 OpenAI 接口获取答案了,OpenAI 的接口地址是这个 https://api.openai.com/v1/completions。
function callback(error, response, body) {
if (!error && response.statusCode === 200) {
let json = JSON.parse(body);
if (!json.succeeded) {
console.log("succeeded false")
process.exit(0)
}
if (json.resp_data.topics.length > 0) {
let length = json.resp_data.topics.length;
for (let i = 0; i <p>将获取到的答案回写到用户,这里我们需要第三个地址了,可以跟第一个地址一样进行获取,在页面进行一个回答,就可以获取到对应的回答地址,不过需要我们自行替换其中的主题 ID,这个比较简单就不截图了,直接上代码。</p><pre class="brush:sql;toolbar:false;">// 智能回答
function completionsCallBack(error, response, body) {
if (!error && response.statusCode === 200) {
if (null != body && body.choices.length > 0) {
let reply = body.choices[0].text;
console.log(response.request.headers.topicId + ":" + reply);
if (null != reply && reply.length > 0) {
// 回答问题并通知提问者
let answerOptions = {
url: ZSXQ_ANSWER_URL + "/" + response.request.headers.topicId + "/answer",
headers: {
'accept': 'application/json, text/plain, */*',
'cookie': cookie,
'User-Agent': 'Mozilla/5.0 xxx',
'x-timestamp': Math.floor(Date.now() / 1000),
},
timeout: 12000,
body: {
"req_data": {
"image_ids": [],
"silenced": silenced,
"text": reply
}
},
json: true
}
request.post(answerOptions, answerCallBack)
}
}
} else {
console.log("get answer error")
process.exit(-1)
}
}
// 回答后调用
function answerCallBack(error, response, body) {
if (response.statusCode === 200 && body.succeeded) {
console.log(":智能回答成功");
//process.exit(0)
} else {
console.log(":智能回答失败");
//process.exit(-1)
}
}至此相应的功能基本上已经算实现了,有几个细节简单说明下
- 回写答案接口参数中 silenced 代表是否通知其他人,true 代表只通知提问者,false 表示通知所有人,通知所有人就表示所有人都能看到回答,否则就只有提问者才会看到回答,刚开始调试的时候可以设置成 true,后期上线可以设置成 false。
- 因为这个功能是需要通过定时任务来触发的,为了避免不必要的麻烦,可以自行设定合理的定时时间,比如半夜就别调用了,晚点回答别人问题并不会有什么影响,调度频次也不要太频繁,低调使用。
效果
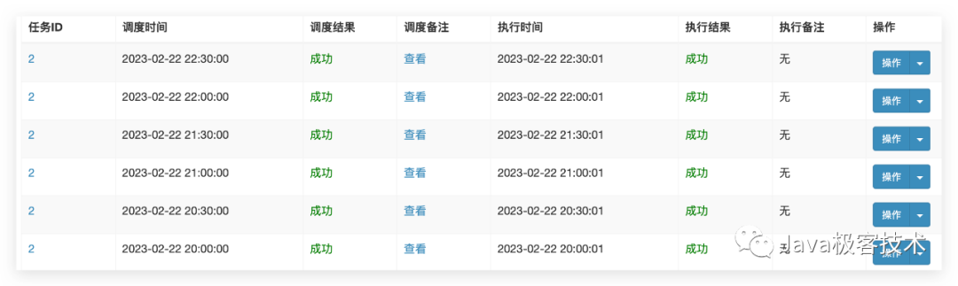
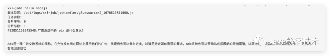
在 XXL-JOB 上面配置一个 NodeJs 的任务,



可以看到阿粉这边指定了相应时间才进行查询,能看到可以智能回答成功了,对应在知识星球中也能正常的显示。爽歪歪~
总结
今天又给大家带来了一种 OpenAI 的玩法,阿粉提供了几种玩法都是自己学习研究的玩法,大家自己玩玩就好,目的是为了让大家在遇到新事物和技术的时候能保持着热情,新技术的到来我们不能保守,而是要迎接。
今天关于《又发现了一个有趣的 ChatGPT 玩法,分享给大家》的内容介绍就到此结束,如果有什么疑问或者建议,可以在golang学习网公众号下多多回复交流;文中若有不正之处,也希望回复留言以告知!
Windows 11 的新“标签”功能显然减少了文件资源管理器的 RAM 使用量
- 上一篇
- Windows 11 的新“标签”功能显然减少了文件资源管理器的 RAM 使用量
- 下一篇
- 研究:AI编码助手可能导致代码不安全,开发人员应该谨慎采用
-
- 科技周边 · 人工智能 | 17分钟前 | AI绘画
- AI绘画LoRA训练步骤详解
- 301浏览 收藏
-
- 科技周边 · 人工智能 | 19分钟前 |
- 即梦AI赛博朋克风生成技巧
- 113浏览 收藏
-
- 科技周边 · 人工智能 | 24分钟前 | kimi ai
- Kimi AI官网最新链接及在线使用入口
- 461浏览 收藏
-
- 科技周边 · 人工智能 | 26分钟前 |
- Gemini Advanced免费试用方法及福利领取指南
- 358浏览 收藏
-
- 科技周边 · 人工智能 | 33分钟前 |
- Claude中文镜像站靠谱吗?使用风险全解析
- 237浏览 收藏
-
- 科技周边 · 人工智能 | 50分钟前 |
- 即梦AI背景修改技巧与抠图教程
- 297浏览 收藏
-
- 科技周边 · 人工智能 | 56分钟前 |
- DeepSeek V4MoE加载方式与显存驻留解析
- 261浏览 收藏
-
- 科技周边 · 人工智能 | 1小时前 |
- 豆包AI智能体角色扮演互动技巧解析
- 165浏览 收藏
-
- 科技周边 · 人工智能 | 1小时前 | DeepSeek
- DeepSeek如何评估回答可信度及标注方法
- 413浏览 收藏
-
- 科技周边 · 人工智能 | 1小时前 |
- Perplexity AI如何深入追问?多轮对话技巧全解析
- 213浏览 收藏
-
- 科技周边 · 人工智能 | 1小时前 |
- DeepSeek API负载均衡方案解析
- 240浏览 收藏
-
- 科技周边 · 人工智能 | 1小时前 |
- 使用 Claude 编写自动化脚本的效率提升方案
- 303浏览 收藏
-
- 前端进阶之JavaScript设计模式
- 设计模式是开发人员在软件开发过程中面临一般问题时的解决方案,代表了最佳的实践。本课程的主打内容包括JS常见设计模式以及具体应用场景,打造一站式知识长龙服务,适合有JS基础的同学学习。
- 543次学习
-
- GO语言核心编程课程
- 本课程采用真实案例,全面具体可落地,从理论到实践,一步一步将GO核心编程技术、编程思想、底层实现融会贯通,使学习者贴近时代脉搏,做IT互联网时代的弄潮儿。
- 516次学习
-
- 简单聊聊mysql8与网络通信
- 如有问题加微信:Le-studyg;在课程中,我们将首先介绍MySQL8的新特性,包括性能优化、安全增强、新数据类型等,帮助学生快速熟悉MySQL8的最新功能。接着,我们将深入解析MySQL的网络通信机制,包括协议、连接管理、数据传输等,让
- 500次学习
-
- JavaScript正则表达式基础与实战
- 在任何一门编程语言中,正则表达式,都是一项重要的知识,它提供了高效的字符串匹配与捕获机制,可以极大的简化程序设计。
- 487次学习
-
- 从零制作响应式网站—Grid布局
- 本系列教程将展示从零制作一个假想的网络科技公司官网,分为导航,轮播,关于我们,成功案例,服务流程,团队介绍,数据部分,公司动态,底部信息等内容区块。网站整体采用CSSGrid布局,支持响应式,有流畅过渡和展现动画。
- 485次学习
-
- ChatExcel酷表
- ChatExcel酷表是由北京大学团队打造的Excel聊天机器人,用自然语言操控表格,简化数据处理,告别繁琐操作,提升工作效率!适用于学生、上班族及政府人员。
- 4512次使用
-
- Any绘本
- 探索Any绘本(anypicturebook.com/zh),一款开源免费的AI绘本创作工具,基于Google Gemini与Flux AI模型,让您轻松创作个性化绘本。适用于家庭、教育、创作等多种场景,零门槛,高自由度,技术透明,本地可控。
- 4863次使用
-
- 可赞AI
- 可赞AI,AI驱动的办公可视化智能工具,助您轻松实现文本与可视化元素高效转化。无论是智能文档生成、多格式文本解析,还是一键生成专业图表、脑图、知识卡片,可赞AI都能让信息处理更清晰高效。覆盖数据汇报、会议纪要、内容营销等全场景,大幅提升办公效率,降低专业门槛,是您提升工作效率的得力助手。
- 4740次使用
-
- 星月写作
- 星月写作是国内首款聚焦中文网络小说创作的AI辅助工具,解决网文作者从构思到变现的全流程痛点。AI扫榜、专属模板、全链路适配,助力新人快速上手,资深作者效率倍增。
- 6583次使用
-
- MagicLight
- MagicLight.ai是全球首款叙事驱动型AI动画视频创作平台,专注于解决从故事想法到完整动画的全流程痛点。它通过自研AI模型,保障角色、风格、场景高度一致性,让零动画经验者也能高效产出专业级叙事内容。广泛适用于独立创作者、动画工作室、教育机构及企业营销,助您轻松实现创意落地与商业化。
- 5100次使用
-
- GPT-4王者加冕!读图做题性能炸天,凭自己就能考上斯坦福
- 2023-04-25 501浏览
-
- 单块V100训练模型提速72倍!尤洋团队新成果获AAAI 2023杰出论文奖
- 2023-04-24 501浏览
-
- ChatGPT 真的会接管世界吗?
- 2023-04-13 501浏览
-
- VR的终极形态是「假眼」?Neuralink前联合创始人掏出新产品:科学之眼!
- 2023-04-30 501浏览
-
- 实现实时制造可视性优势有哪些?
- 2023-04-15 501浏览

