MacBook Pro Touch Bar 可以作为支持 Apple Pencil 的条带复活
在文章实战开发的过程中,我们经常会遇到一些这样那样的问题,然后要卡好半天,等问题解决了才发现原来一些细节知识点还是没有掌握好。今天golang学习网就整理分享《MacBook Pro Touch Bar 可以作为支持 Apple Pencil 的条带复活》,聊聊,希望可以帮助到正在努力赚钱的你。
Apple 一直在研究如何让以 iPad 为中心的Apple Pencil在未来的 MacBook Pro 表面上完成旧 Touch Bar 的工作。
这只是一项专利,苹果每年都会获得数以千计的专利,并不意味着会出现任何实际产品。然而,有时您不得不想知道这是什么想法,例如现在专利图纸显示带有 Apple Pencil 支架 的MacBook Pro 。
那是一台可以放置 Apple Pencil的Mac 。但是你不能在 Mac 上使用 Apple Pencil,或者现在还不能。
除非 Apple 正在考虑为非常整洁的人设计 MacBook Pro,否则
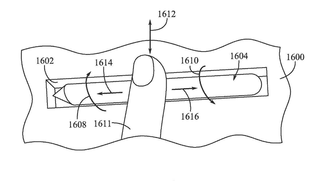
“可安装工具计算机输入”代表了几个提示。该专利的发明者似乎不太可能期望人们在 MacBook Pro 屏幕上绘画和书写,而是他们有时会使用 Apple Pencil。

具体来说,他们使用 Pencil 的地方至少大致相当于 Apple 过去包含Touch Bar的地方。
“[一些]计算设备,例如膝上型电脑,可以在设备的键盘中或附近有一个触摸屏,可以配置为提供比一组传统键更多的功能,”该专利开始说。
“但是,在某些情况下,辅助触摸屏可能难以使用,”它继续说道。“触摸打字员可能不喜欢使用触摸屏,因为与一组机械移动键相比,它缺乏触觉反馈。”

“触摸屏通常也位于用户的手附近,因此可能容易被自己的手挡住用户的视线,”该专利说。“此外,即使用户看着触摸屏,与主显示屏相比,它与用户的焦距也不同,因此用户必须重新调整他们的头部或眼睛,才能有效地阅读和与触摸屏交互。 ..”
Apple 曾经为 Touch Bar 烦恼过,这真是一个奇迹。然而,该公司想在这个空间做点什么,并且坚持下去。该条可以由触摸面板代替。
“触摸面板可能包括一个触敏表面,该表面响应检测到触摸事件,会产生一个可以被电子设备的其他组件处理和使用的信号,”Apple 继续说道。“电子设备的显示组件可以显示代表可选虚拟按钮或图标的文本和/或图形显示元素,并且触敏表面可以允许用户导航和更改显示屏幕上显示的内容。”
这些似乎都无法立即解决苹果对 Touch Bar 的批评。用户必须停止打字,寻找铅笔将其从支架中取出,然后用它在触敏条上书写或敲击。
手写笔可能比 Touch Bar 更自然
然而,这比 Touch Bar 更自然。虽然它会阻止用户打字,但将视线从屏幕上移开以找到 Pencil 感觉更自然。
与其试图记住触控栏上一个小点的控件(它也会移动),不如拿起铅笔要容易得多。
专利中的细节显示了一个封闭的 Apple Pencil 被滑过不过,还有一件事。在一些专利图纸中,显示了用户在 Pencil 上轻敲、触摸或在其上滑动。
然后,Apple Pencil 可以在支架中显示类似 Touch Bar 的控件。
该专利归功于 Paul X. Wang、Dinesh C. Mathew 和 John S. Camp。王被列入了苹果之前的许多专利,包括更多关于用户输入设备的专利。
以上就是本文的全部内容了,是否有顺利帮助你解决问题?若是能给你带来学习上的帮助,请大家多多支持golang学习网!更多关于文章的相关知识,也可关注golang学习网公众号。
苹果新专利透露iPad /Mac 混合式设计
- 上一篇
- 苹果新专利透露iPad /Mac 混合式设计
- 下一篇
- 在 Windows 11 上更改 Wi-Fi 密码的 3 种简单方法
-
- 文章 · 软件教程 | 6分钟前 |
- 三支一扶报名条件及学历年龄要求解析
- 292浏览 收藏
-
- 文章 · 软件教程 | 8分钟前 |
- 个人所得税查询入口及明细方法
- 485浏览 收藏
-
- 文章 · 软件教程 | 9分钟前 |
- 阿里巴巴官网入口及登录方法
- 352浏览 收藏
-
- 文章 · 软件教程 | 10分钟前 |
- 抖音月付怎么用?能否提现?
- 294浏览 收藏
-
- 文章 · 软件教程 | 13分钟前 |
- Excel表格自动扩展技巧
- 188浏览 收藏
-
- 文章 · 软件教程 | 15分钟前 |
- 微云网页版入口官网地址查询
- 438浏览 收藏
-
- 文章 · 软件教程 | 17分钟前 | 易查分App 易查分
- 易查分家长版登录入口及官网网址
- 234浏览 收藏
-
- 文章 · 软件教程 | 19分钟前 |
- 迅雷抽奖功能怎么用?
- 394浏览 收藏
-
- 文章 · 软件教程 | 19分钟前 |
- Win11语言切换教程,轻松改为中文
- 383浏览 收藏
-
- 文章 · 软件教程 | 23分钟前 |
- Win10HDMI无信号解决方法大全
- 104浏览 收藏
-
- 文章 · 软件教程 | 24分钟前 |
- 作业帮清理缓存方法及空间释放技巧
- 162浏览 收藏
-
- 文章 · 软件教程 | 25分钟前 |
- 抖音小时达骑手注册方法及副业推荐
- 253浏览 收藏
-
- 前端进阶之JavaScript设计模式
- 设计模式是开发人员在软件开发过程中面临一般问题时的解决方案,代表了最佳的实践。本课程的主打内容包括JS常见设计模式以及具体应用场景,打造一站式知识长龙服务,适合有JS基础的同学学习。
- 543次学习
-
- GO语言核心编程课程
- 本课程采用真实案例,全面具体可落地,从理论到实践,一步一步将GO核心编程技术、编程思想、底层实现融会贯通,使学习者贴近时代脉搏,做IT互联网时代的弄潮儿。
- 516次学习
-
- 简单聊聊mysql8与网络通信
- 如有问题加微信:Le-studyg;在课程中,我们将首先介绍MySQL8的新特性,包括性能优化、安全增强、新数据类型等,帮助学生快速熟悉MySQL8的最新功能。接着,我们将深入解析MySQL的网络通信机制,包括协议、连接管理、数据传输等,让
- 500次学习
-
- JavaScript正则表达式基础与实战
- 在任何一门编程语言中,正则表达式,都是一项重要的知识,它提供了高效的字符串匹配与捕获机制,可以极大的简化程序设计。
- 487次学习
-
- 从零制作响应式网站—Grid布局
- 本系列教程将展示从零制作一个假想的网络科技公司官网,分为导航,轮播,关于我们,成功案例,服务流程,团队介绍,数据部分,公司动态,底部信息等内容区块。网站整体采用CSSGrid布局,支持响应式,有流畅过渡和展现动画。
- 485次学习
-
- ChatExcel酷表
- ChatExcel酷表是由北京大学团队打造的Excel聊天机器人,用自然语言操控表格,简化数据处理,告别繁琐操作,提升工作效率!适用于学生、上班族及政府人员。
- 4277次使用
-
- Any绘本
- 探索Any绘本(anypicturebook.com/zh),一款开源免费的AI绘本创作工具,基于Google Gemini与Flux AI模型,让您轻松创作个性化绘本。适用于家庭、教育、创作等多种场景,零门槛,高自由度,技术透明,本地可控。
- 4637次使用
-
- 可赞AI
- 可赞AI,AI驱动的办公可视化智能工具,助您轻松实现文本与可视化元素高效转化。无论是智能文档生成、多格式文本解析,还是一键生成专业图表、脑图、知识卡片,可赞AI都能让信息处理更清晰高效。覆盖数据汇报、会议纪要、内容营销等全场景,大幅提升办公效率,降低专业门槛,是您提升工作效率的得力助手。
- 4512次使用
-
- 星月写作
- 星月写作是国内首款聚焦中文网络小说创作的AI辅助工具,解决网文作者从构思到变现的全流程痛点。AI扫榜、专属模板、全链路适配,助力新人快速上手,资深作者效率倍增。
- 6233次使用
-
- MagicLight
- MagicLight.ai是全球首款叙事驱动型AI动画视频创作平台,专注于解决从故事想法到完整动画的全流程痛点。它通过自研AI模型,保障角色、风格、场景高度一致性,让零动画经验者也能高效产出专业级叙事内容。广泛适用于独立创作者、动画工作室、教育机构及企业营销,助您轻松实现创意落地与商业化。
- 4892次使用
-
- pe系统下载好如何重装的具体教程
- 2023-05-01 501浏览
-
- qq游戏大厅怎么开启蓝钻提醒功能-qq游戏大厅开启蓝钻提醒功能教程
- 2023-04-29 501浏览
-
- 吉吉影音怎样播放网络视频 吉吉影音播放网络视频的操作步骤
- 2023-04-09 501浏览
-
- 腾讯会议怎么使用电脑音频 腾讯会议播放电脑音频的方法
- 2023-04-04 501浏览
-
- PPT制作图片滚动效果的简单方法
- 2023-04-26 501浏览

