未来的 Apple Pencil 可能会配备全触控式控制
你在学习文章相关的知识吗?本文《未来的 Apple Pencil 可能会配备全触控式控制》,主要介绍的内容就涉及到,如果你想提升自己的开发能力,就不要错过这篇文章,大家要知道编程理论基础和实战操作都是不可或缺的哦!
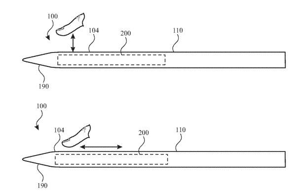
除了现有的双击功能外,Apple Pencil还可以通过更全面的触摸感应控制来识别滑动等手势。
Apple Pencil 2增加了用户通过双击触控笔主体上的面板来选择项目或更改模式的能力。苹果已于2020 年 1 月获得“基于触控笔的触控输入”的专利,现在又获得了同名 的更新专利。
修改很小,两项授权专利都涉及在用户指尖放置一个灵活的传感器,该传感器可以接收触觉输入。
“触觉输入可以在用户的自然握持位置接收,”Apple 在“基于触控笔的触控输入”中说。
“此外,触控笔可以有效地区分来自用户的触觉输入,而忽略在用户只需将触控笔保持在用户的自然握持位置时提供的持续触觉输入,”它继续说道。
该专利指出,当有人使用 Apple Pencil 或任何触控笔时,他们不太可能同时触摸iPad或类似设备的屏幕。
专利中的细节显示(顶部)点击或按下,以及(底部)滑动手势“[当]用户拿着手写笔或其他基于触摸的输入设备时,用户可能会受到由此提供的输入选项的限制,”它说。“因此,集成到输入设备中的附加输入功能将为用户提供扩展的输入功能,而无需同时操作附加输入设备。”
为了实现这一点,Pencil 将添加一个“低调”传感器,例如电容式感应设备。
“可以在用户的自然抓握位置接收触觉输入,”它继续说道。“此外,触控笔可以有效地区分用户的触觉输入,而忽略用户只需将触控笔保持在用户自然握持位置时提供的持续触觉输入。”
该专利申请紧随其他关于 Apple Pencil 等触控笔的底座和笔尖的专利申请,其中许多甚至使用了相同的图纸。
2019 年 12 月,一项此类专利涉及 Apple Pencil 的触控笔如何使用触觉反馈更好地模拟在纸上绘画的感觉。一个类似的 2015 年涉及相同的目标,但涉及整个手写笔。
另一个例子,也是从 2019 年 12 月开始,触控笔使用相机来破译和记录表面的物理特征。
新专利的八位发明人共同拥有许多关于触控笔、提示和通信的此类专利的历史。
今天带大家了解了的相关知识,希望对你有所帮助;关于文章的技术知识我们会一点点深入介绍,欢迎大家关注golang学习网公众号,一起学习编程~
如何修复iPhone上的iMessage激活错误[已解决]
- 上一篇
- 如何修复iPhone上的iMessage激活错误[已解决]
- 下一篇
- iPhone 14 Pro 屏幕刷新率升级可实现常亮显示
-
- 文章 · 软件教程 | 21小时前 | Pixso
- Pixso白板怎么用?头脑风暴攻略
- 292浏览 收藏
-
- 文章 · 软件教程 | 21小时前 |
- Win11任务管理器使用与进程结束技巧
- 413浏览 收藏
-
- 文章 · 软件教程 | 21小时前 |
- B站稍后再看怎么查看?列表管理教程
- 204浏览 收藏
-
- 文章 · 软件教程 | 21小时前 |
- Windows11开机慢怎么解决
- 272浏览 收藏
-
- 文章 · 软件教程 | 21小时前 |
- 晋江黄牌红牌警告是什么
- 219浏览 收藏
-
- 文章 · 软件教程 | 21小时前 |
- 八零电子书字体调整方法及排版设置技巧
- 109浏览 收藏
-
- 文章 · 软件教程 | 21小时前 |
- Windows11开机黑屏卡顿解决方法
- 253浏览 收藏
-
- 文章 · 软件教程 | 21小时前 |
- Win10查看WiFi密码方法【实用秘籍】
- 397浏览 收藏
-
- 文章 · 软件教程 | 21小时前 | 语雀
- 语雀插入代码块方法详解
- 281浏览 收藏
-
- 文章 · 软件教程 | 21小时前 |
- Revo卸载器导出失败怎么解决
- 212浏览 收藏
-
- 文章 · 软件教程 | 21小时前 |
- 淘宝取消自动续费方法详解
- 313浏览 收藏
-
- 文章 · 软件教程 | 21小时前 |
- Win10 WiFi连接失败解决方法大全
- 117浏览 收藏
-
- 前端进阶之JavaScript设计模式
- 设计模式是开发人员在软件开发过程中面临一般问题时的解决方案,代表了最佳的实践。本课程的主打内容包括JS常见设计模式以及具体应用场景,打造一站式知识长龙服务,适合有JS基础的同学学习。
- 543次学习
-
- GO语言核心编程课程
- 本课程采用真实案例,全面具体可落地,从理论到实践,一步一步将GO核心编程技术、编程思想、底层实现融会贯通,使学习者贴近时代脉搏,做IT互联网时代的弄潮儿。
- 516次学习
-
- 简单聊聊mysql8与网络通信
- 如有问题加微信:Le-studyg;在课程中,我们将首先介绍MySQL8的新特性,包括性能优化、安全增强、新数据类型等,帮助学生快速熟悉MySQL8的最新功能。接着,我们将深入解析MySQL的网络通信机制,包括协议、连接管理、数据传输等,让
- 500次学习
-
- JavaScript正则表达式基础与实战
- 在任何一门编程语言中,正则表达式,都是一项重要的知识,它提供了高效的字符串匹配与捕获机制,可以极大的简化程序设计。
- 487次学习
-
- 从零制作响应式网站—Grid布局
- 本系列教程将展示从零制作一个假想的网络科技公司官网,分为导航,轮播,关于我们,成功案例,服务流程,团队介绍,数据部分,公司动态,底部信息等内容区块。网站整体采用CSSGrid布局,支持响应式,有流畅过渡和展现动画。
- 485次学习
-
- ChatExcel酷表
- ChatExcel酷表是由北京大学团队打造的Excel聊天机器人,用自然语言操控表格,简化数据处理,告别繁琐操作,提升工作效率!适用于学生、上班族及政府人员。
- 4534次使用
-
- Any绘本
- 探索Any绘本(anypicturebook.com/zh),一款开源免费的AI绘本创作工具,基于Google Gemini与Flux AI模型,让您轻松创作个性化绘本。适用于家庭、教育、创作等多种场景,零门槛,高自由度,技术透明,本地可控。
- 4889次使用
-
- 可赞AI
- 可赞AI,AI驱动的办公可视化智能工具,助您轻松实现文本与可视化元素高效转化。无论是智能文档生成、多格式文本解析,还是一键生成专业图表、脑图、知识卡片,可赞AI都能让信息处理更清晰高效。覆盖数据汇报、会议纪要、内容营销等全场景,大幅提升办公效率,降低专业门槛,是您提升工作效率的得力助手。
- 4761次使用
-
- 星月写作
- 星月写作是国内首款聚焦中文网络小说创作的AI辅助工具,解决网文作者从构思到变现的全流程痛点。AI扫榜、专属模板、全链路适配,助力新人快速上手,资深作者效率倍增。
- 6637次使用
-
- MagicLight
- MagicLight.ai是全球首款叙事驱动型AI动画视频创作平台,专注于解决从故事想法到完整动画的全流程痛点。它通过自研AI模型,保障角色、风格、场景高度一致性,让零动画经验者也能高效产出专业级叙事内容。广泛适用于独立创作者、动画工作室、教育机构及企业营销,助您轻松实现创意落地与商业化。
- 5125次使用
-
- pe系统下载好如何重装的具体教程
- 2023-05-01 501浏览
-
- qq游戏大厅怎么开启蓝钻提醒功能-qq游戏大厅开启蓝钻提醒功能教程
- 2023-04-29 501浏览
-
- 吉吉影音怎样播放网络视频 吉吉影音播放网络视频的操作步骤
- 2023-04-09 501浏览
-
- 腾讯会议怎么使用电脑音频 腾讯会议播放电脑音频的方法
- 2023-04-04 501浏览
-
- PPT制作图片滚动效果的简单方法
- 2023-04-26 501浏览

