未来的苹果键盘可能会有一个可以弹出并用作鼠标的键
在IT行业这个发展更新速度很快的行业,只有不停止的学习,才不会被行业所淘汰。如果你是文章学习者,那么本文《未来的苹果键盘可能会有一个可以弹出并用作鼠标的键》就很适合你!本篇内容主要包括##content_title##,希望对大家的知识积累有所帮助,助力实战开发!
Apple 正在继续研究如何取出MacBook Pro键盘上的一个键,并将其用作精密鼠标。
“可部署键鼠”是一项新披露的专利申请,但苹果必须认真对待这个想法,因为它之前在 2022 年 3 月获得了几乎相同的专利。
不过,该专利授予的专利名称相同,而且这个应用程序听起来不像 Apple 典型的未来主义计划,而更像是回到 1980 年代触控板之前的日子。
PC 用户可以将鼠标放在笔记本电脑的一侧,并且很难使用这些非常不符合人体工程学的设备。
Apple 确实探索了所有可能的键盘设计,但新披露的专利申请详细介绍了一个非常奇特的应用。多产的苹果发明家 Paul X. Wang 之前的工作包括玻璃键盘的计划,他提议使用可移动鼠标。
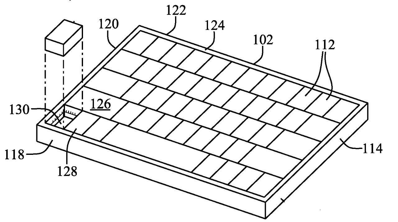
该专利申请提出的是,普通键盘(例如 MacBook Pro 上的键盘)可能具有一个可拆卸的特殊键。拿起那个 shift 键——或者也许是 iPad 妙控键盘上更新的“全局”键——你的鼠标就在这儿了。
这是你的非常非常小的鼠标。
“可拆卸钥匙可以有一个位置传感器,”专利申请说,“[所以它]可以作为计算机指针设备操作......因此,可拆卸钥匙结构可以为计算机输入提供舒适、便携和精确的指针输入系统。”
诚然,您可以在桌子周围移动键/鼠标并更精确地控制光标。但从专利申请的图纸来看,这将比苹果臭名昭著的冰球鼠标更小、更笨重。
苹果的专利申请谈到了该公司如何在 1980 年代普及鼠标。
“在接下来的几年里,电脑鼠标经历了一系列的创新,包括增加了左右键、滚轮、光学传感器、轨迹球传感器、激光传感器,以及无线通信。主机,”它继续说道。
“在某些情况下,便携式计算设备(如笔记本电脑和平板电脑)受益于使用外围鼠标输入设备,”Apple 说。“然而,用户会背负着与计算机一起携带单独的鼠标,而当计算机已经有内置的指针设备时,单独的设备可能是多余的。”
所以这里的目的不是更换触控板,而是在需要比手指控制更精细的控制时提供可选的鼠标。虽然该应用程序没有详细介绍用途和好处,但您可以想象一个 Photoshop 用户偶尔需要真正精确的图像编辑。
专利中的细节显示了可以轻松移除此类键以用作鼠标的两种不同方式该专利涉及物理键如何在键盘内外工作。在其中,键必须像键盘上的任何其他键一样做出反应和响应。
然后当它被移除时,它必须具有这种位置感应能力。再加上从 MacBook Pro 或其他设备上移除,它必须有自己的电路和电池。
它必须在成为非常非常小的鼠标时做到这一点。
“鼠标通常采用符合人体工程学的形状,以舒适地握在手中,”该应用程序在描述指点设备多年来的发展时说道。“这是保持其规模相对稳定的因素之一。”
今天关于《未来的苹果键盘可能会有一个可以弹出并用作鼠标的键》的内容就介绍到这里了,是不是学起来一目了然!想要了解更多关于电脑,苹果,申请专利,笔记本电脑,专利的内容请关注golang学习网公众号!
iPhone 上的高级数据保护是什么?如何启用它以及为什么
- 上一篇
- iPhone 上的高级数据保护是什么?如何启用它以及为什么
- 下一篇
- 无需登录即可重置 Windows 11 密码的 4 种方法
-
- 文章 · 软件教程 | 7分钟前 |
- 丧尸漫画高清版阅读入口
- 162浏览 收藏
-
- 文章 · 软件教程 | 11分钟前 | MindNode
- MindNode思维导图复盘方法实战教程
- 494浏览 收藏
-
- 文章 · 软件教程 | 13分钟前 |
- Excel一列变逗号字符串,TEXTJOIN轻松搞定
- 221浏览 收藏
-
- 文章 · 软件教程 | 13分钟前 |
- Zoom会议ID无效怎么解决?快速修复攻略
- 483浏览 收藏
-
- 文章 · 软件教程 | 22分钟前 |
- Win11文件审计设置方法:监控访问修改记录
- 447浏览 收藏
-
- 文章 · 软件教程 | 23分钟前 |
- 智联招聘官网入口及登录地址
- 188浏览 收藏
-
- 文章 · 软件教程 | 26分钟前 |
- 墨墨背单词如何调整每日学习量?
- 287浏览 收藏
-
- 文章 · 软件教程 | 27分钟前 |
- Word回车自动编号怎么关?
- 410浏览 收藏
-
- 文章 · 软件教程 | 32分钟前 | 笔趣阁
- 笔趣阁官网地址及历史小说入口
- 260浏览 收藏
-
- 文章 · 软件教程 | 33分钟前 | 发货时间 拼多多订单
- 拼多多订单发货异常怎么处理 拼多多订单刷新技巧
- 113浏览 收藏
-
- 文章 · 软件教程 | 34分钟前 |
- 快手批量删除视频技巧 快速清理主页方法
- 338浏览 收藏
-
- 文章 · 软件教程 | 38分钟前 |
- 转转官网登录入口及平台介绍
- 443浏览 收藏
-
- 前端进阶之JavaScript设计模式
- 设计模式是开发人员在软件开发过程中面临一般问题时的解决方案,代表了最佳的实践。本课程的主打内容包括JS常见设计模式以及具体应用场景,打造一站式知识长龙服务,适合有JS基础的同学学习。
- 543次学习
-
- GO语言核心编程课程
- 本课程采用真实案例,全面具体可落地,从理论到实践,一步一步将GO核心编程技术、编程思想、底层实现融会贯通,使学习者贴近时代脉搏,做IT互联网时代的弄潮儿。
- 516次学习
-
- 简单聊聊mysql8与网络通信
- 如有问题加微信:Le-studyg;在课程中,我们将首先介绍MySQL8的新特性,包括性能优化、安全增强、新数据类型等,帮助学生快速熟悉MySQL8的最新功能。接着,我们将深入解析MySQL的网络通信机制,包括协议、连接管理、数据传输等,让
- 500次学习
-
- JavaScript正则表达式基础与实战
- 在任何一门编程语言中,正则表达式,都是一项重要的知识,它提供了高效的字符串匹配与捕获机制,可以极大的简化程序设计。
- 487次学习
-
- 从零制作响应式网站—Grid布局
- 本系列教程将展示从零制作一个假想的网络科技公司官网,分为导航,轮播,关于我们,成功案例,服务流程,团队介绍,数据部分,公司动态,底部信息等内容区块。网站整体采用CSSGrid布局,支持响应式,有流畅过渡和展现动画。
- 485次学习
-
- ChatExcel酷表
- ChatExcel酷表是由北京大学团队打造的Excel聊天机器人,用自然语言操控表格,简化数据处理,告别繁琐操作,提升工作效率!适用于学生、上班族及政府人员。
- 5344次使用
-
- Any绘本
- 探索Any绘本(anypicturebook.com/zh),一款开源免费的AI绘本创作工具,基于Google Gemini与Flux AI模型,让您轻松创作个性化绘本。适用于家庭、教育、创作等多种场景,零门槛,高自由度,技术透明,本地可控。
- 5706次使用
-
- 可赞AI
- 可赞AI,AI驱动的办公可视化智能工具,助您轻松实现文本与可视化元素高效转化。无论是智能文档生成、多格式文本解析,还是一键生成专业图表、脑图、知识卡片,可赞AI都能让信息处理更清晰高效。覆盖数据汇报、会议纪要、内容营销等全场景,大幅提升办公效率,降低专业门槛,是您提升工作效率的得力助手。
- 5585次使用
-
- 星月写作
- 星月写作是国内首款聚焦中文网络小说创作的AI辅助工具,解决网文作者从构思到变现的全流程痛点。AI扫榜、专属模板、全链路适配,助力新人快速上手,资深作者效率倍增。
- 7534次使用
-
- MagicLight
- MagicLight.ai是全球首款叙事驱动型AI动画视频创作平台,专注于解决从故事想法到完整动画的全流程痛点。它通过自研AI模型,保障角色、风格、场景高度一致性,让零动画经验者也能高效产出专业级叙事内容。广泛适用于独立创作者、动画工作室、教育机构及企业营销,助您轻松实现创意落地与商业化。
- 5988次使用
-
- pe系统下载好如何重装的具体教程
- 2023-05-01 501浏览
-
- qq游戏大厅怎么开启蓝钻提醒功能-qq游戏大厅开启蓝钻提醒功能教程
- 2023-04-29 501浏览
-
- 吉吉影音怎样播放网络视频 吉吉影音播放网络视频的操作步骤
- 2023-04-09 501浏览
-
- 腾讯会议怎么使用电脑音频 腾讯会议播放电脑音频的方法
- 2023-04-04 501浏览
-
- PPT制作图片滚动效果的简单方法
- 2023-04-26 501浏览

