Humane 使用 Android 构建看起来像是 AR 可穿戴设备,带有适用于任何表面的激光投影“显示器”
小伙伴们有没有觉得学习文章很有意思?有意思就对了!今天就给大家带来《Humane 使用 Android 构建看起来像是 AR 可穿戴设备,带有适用于任何表面的激光投影“显示器”》,以下内容将会涉及到,若是在学习中对其中部分知识点有疑问,或许看了本文就能帮到你!
Humane 由 Apple 软件总监 Bethany Bongiorno 和设计负责人 Imran Chaudhri 创立。后者在 Apple 工作了二十多年(1995-2016)并在人机界面团队工作,而前者从 2008 年开始负责 iOS 和 macOS 软件工程,直到她同样在 2016 年离开。
这家初创公司对其工作非常保密,但就“构建让人感觉熟悉、自然和人性化的创新技术”及其“重新构想计算的使命”发表了各种大胆的声明。其中一个关键部分是制造“让我们与自己、彼此以及我们周围的世界重新联系的产品。”
根据2020 年发布的一项专利(“具有激光投影系统的可穿戴多媒体设备和云计算平台”),所有这些营销文案都可能转化为一种随身设备——最重要的是——“不包括显示器,允许用户继续与朋友、家人和同事互动,而不会沉浸在展示中。” 事实上,“最小化用户交互”才是目标。
相反,“激光投影系统”将任何表面变成显示器,当不再需要它时就会消失。根据专利图纸,这包括将时间/日期、数字键盘、转弯方向和温度/恒温器控件投影到您的手掌上。其他示例显示信息叠加 - 以真正的增强现实方式 - 当您在做饭或在您的汽车引擎上工作时。
激光投影可以标记对象,提供与对象相关的文本或说明,并提供允许用户编写消息、控制其他设备或简单地共享和共享的临时用户界面(例如,键盘、数字键盘、设备控制器)。与他人讨论内容。



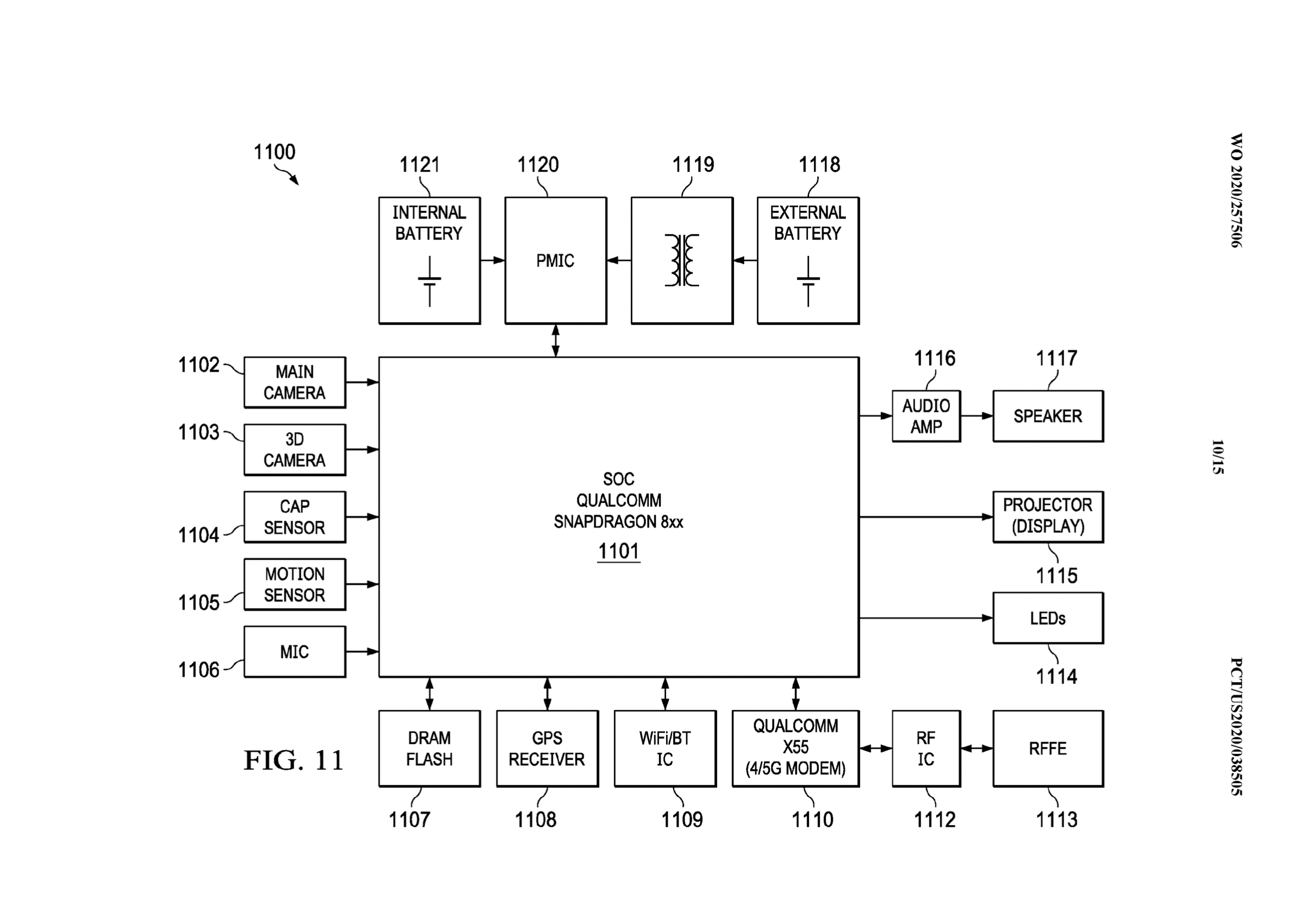
除了激光投影,这款“随身设备”还配备了摄像头(“180° FOV with OIS”作为示例规格)、3D 摄像头和深度传感器(LiDAR 或飞行时间),用于识别“手势”,并识别现实世界中的物体,如谷歌镜头。
在一个实施例中,云计算平台可以由结合语音查询的基于上下文的手势(例如,空中手势)驱动,例如用户指向他们环境中的对象并说:“那是什么建筑物?” 云计算平台利用空中手势缩小摄像头视口范围,隔离建筑物。
通过轻按“可穿戴多媒体设备”,相机还可以充当普通的录音设备。
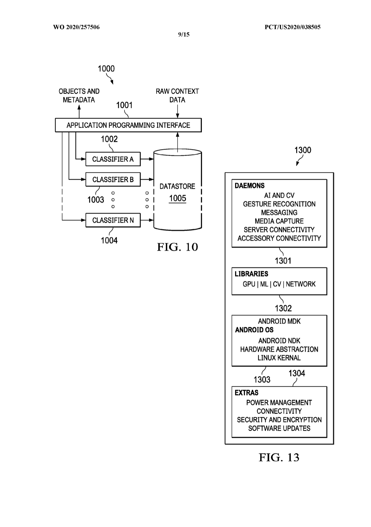
在规格方面,人性化的“穿戴式多媒体设备”,将通过公开岗位(证明在Android上运行的1,2,3),包括系统软件工程师,Android框架:
你可能会做什么
- 为新产品类别定制和扩展 AOSP
基本资格
- 2 年以上为 Android 设备开发 Java、JNI 和 C++ 代码的经验
- 熟悉 Android 框架和 HAL
- 在 Android RIL/Telephony 中开发经验
首选技能
- 体验为新产品类别定制 AOSP
- 具有 Android 电话、无线或多媒体框架的经验
- 具有嵌入式 Linux/Android 开发板的经验
因此,Humane 不必创建一个全新的操作系统,Meta 只是停止了工作以支持继续使用 Android。与此同时,谷歌刚刚组建了一个团队来创建“增强现实操作系统”。
Humane 打算构建第三方应用生态系统:
一些示例应用可以包括但不限于:个人直播(例如,Instagram™ Life、Snapchat™)、高级监控(例如,确保亲人已服药)、记忆回忆(例如,展示上周孩子的足球比赛)和个人教程(例如,支持 AI 的个人教程,它知道用户的位置并指导用户执行操作)。



最后,在所有开放的硬件职位中,Humane 没有招聘任何传统 AR 智能眼镜的显示工程师。
在电源方面,相机、深度传感器和投影系统显然必须面向世界,但会有一个外部电池隐藏在你的衣服下面,例如夹克。该包和前部通过磁铁连接 - 将设备固定在你的衣服上 - 这个外部包为内部电池无线充电。这种设计也获得了专利。
用户通过将便携式电池组放在他们的衣服下面并将可穿戴多媒体设备放在他们衣服外面的便携式电池组的顶部,从而将可穿戴多媒体设备磁性地固定在他们的衣服上,使得永磁体通过衣服相互吸引
同时,专利申请中有一张图表,表明 Humane 设备将由“Qualcomm Snapdragon 8xx”芯片供电。需要注意的是,这个应用程序现在已经有几年的历史了,但是使用旗舰智能手机芯片而不是更专用的XR1 / XR2芯片来实现 AR/VR 是很有趣的。这可能只是开发平台,而 Qualcomm Ventures LLC 去年确实参与了 Humane 的1 亿美元 B 轮融资。
同时,“X55(4/5G 调制解调器)”意味着该设备将真正独立,不需要智能手机。还有一个用于语音命令的麦克风(可能带有数字助理),而 GPS 和惯性传感器(如加速度计或陀螺仪)有助于确定“捕获上下文数据时佩戴设备的用户的位置和方向”。
该专利广泛提到可能具有心率传感器或指纹监测器,而该设备将能够连接到耳机。

2021 年 9 月的资金旨在“使 Humane 能够扩大其运营规模”。没有持久显示当然是新颖而聪明的,因为 AR 屏幕技术是智能眼镜上市的最大技术障碍之一(具有功率和热量限制)。
然而,Humane 依赖于一种同样未经证实的交互方法,人们将广泛陌生——假设投影技术清晰且工作完美。如果随身设备提供的效用不超过让相机不断对准世界的社会耻辱,那么它也可能成为采用的障碍。
目前尚不清楚 Humane 计划何时公布最终细节,这可能与上述文件有所不同。专利总是广泛的,并不代表最终产品,但营销和招聘部分开始排列。在一份声明中,公司发言人有以下话说:
“我们有很多想法,我们将始终保护我们的知识产权。其中一些想法可能会成为产品,而另一些则可能不会。期待在未来看到我们更多的专利申请。”
也就是说,缺少永久性显示器似乎是 Humane 一直在宣传创造不那么分散注意力的技术的基石,而且这种情况不太可能改变。
文中关于的知识介绍,希望对你的学习有所帮助!若是受益匪浅,那就动动鼠标收藏这篇《Humane 使用 Android 构建看起来像是 AR 可穿戴设备,带有适用于任何表面的激光投影“显示器”》文章吧,也可关注golang学习网公众号了解相关技术文章。
升级macOS Monterey 12.3 后Xbox、PS 手制无法正常使用
- 上一篇
- 升级macOS Monterey 12.3 后Xbox、PS 手制无法正常使用
- 下一篇
- 如何使用 PowerShell 手动更新 Windows 10/11
-
- 文章 · 软件教程 | 8秒前 |
- Win11如何设置144Hz刷新率
- 398浏览 收藏
-
- 文章 · 软件教程 | 12秒前 |
- 电脑桌面文件怎么迁移到D盘?
- 483浏览 收藏
-
- 文章 · 软件教程 | 3分钟前 |
- 微信更换绑定银行卡方法详解
- 341浏览 收藏
-
- 文章 · 软件教程 | 9分钟前 |
- 微信网页版登录及消息使用教程
- 475浏览 收藏
-
- 文章 · 软件教程 | 11分钟前 |
- 拼多多商家版消息提醒设置位置详解
- 430浏览 收藏
-
- 文章 · 软件教程 | 14分钟前 | 账号注销 猫眼电影
- 猫眼电影账号注销方法及步骤详解
- 190浏览 收藏
-
- 文章 · 软件教程 | 15分钟前 | 小众圈子
- 小众圈子资源合集 小众群组链接分享
- 202浏览 收藏
-
- 文章 · 软件教程 | 16分钟前 |
- Windows设置有线优先于WiFi使用技巧
- 283浏览 收藏
-
- 文章 · 软件教程 | 17分钟前 |
- Excel到期日自动变色设置方法
- 172浏览 收藏
-
- 文章 · 软件教程 | 18分钟前 |
- 央视影音怎么反馈问题?
- 214浏览 收藏
-
- 文章 · 软件教程 | 18分钟前 |
- Win11虚拟内存设置教程 分页文件手动调整方法
- 145浏览 收藏
-
- 文章 · 软件教程 | 18分钟前 |
- 小红书网页登录入口 小红书官网登录页
- 198浏览 收藏
-
- 前端进阶之JavaScript设计模式
- 设计模式是开发人员在软件开发过程中面临一般问题时的解决方案,代表了最佳的实践。本课程的主打内容包括JS常见设计模式以及具体应用场景,打造一站式知识长龙服务,适合有JS基础的同学学习。
- 543次学习
-
- GO语言核心编程课程
- 本课程采用真实案例,全面具体可落地,从理论到实践,一步一步将GO核心编程技术、编程思想、底层实现融会贯通,使学习者贴近时代脉搏,做IT互联网时代的弄潮儿。
- 516次学习
-
- 简单聊聊mysql8与网络通信
- 如有问题加微信:Le-studyg;在课程中,我们将首先介绍MySQL8的新特性,包括性能优化、安全增强、新数据类型等,帮助学生快速熟悉MySQL8的最新功能。接着,我们将深入解析MySQL的网络通信机制,包括协议、连接管理、数据传输等,让
- 500次学习
-
- JavaScript正则表达式基础与实战
- 在任何一门编程语言中,正则表达式,都是一项重要的知识,它提供了高效的字符串匹配与捕获机制,可以极大的简化程序设计。
- 487次学习
-
- 从零制作响应式网站—Grid布局
- 本系列教程将展示从零制作一个假想的网络科技公司官网,分为导航,轮播,关于我们,成功案例,服务流程,团队介绍,数据部分,公司动态,底部信息等内容区块。网站整体采用CSSGrid布局,支持响应式,有流畅过渡和展现动画。
- 485次学习
-
- ChatExcel酷表
- ChatExcel酷表是由北京大学团队打造的Excel聊天机器人,用自然语言操控表格,简化数据处理,告别繁琐操作,提升工作效率!适用于学生、上班族及政府人员。
- 4224次使用
-
- Any绘本
- 探索Any绘本(anypicturebook.com/zh),一款开源免费的AI绘本创作工具,基于Google Gemini与Flux AI模型,让您轻松创作个性化绘本。适用于家庭、教育、创作等多种场景,零门槛,高自由度,技术透明,本地可控。
- 4578次使用
-
- 可赞AI
- 可赞AI,AI驱动的办公可视化智能工具,助您轻松实现文本与可视化元素高效转化。无论是智能文档生成、多格式文本解析,还是一键生成专业图表、脑图、知识卡片,可赞AI都能让信息处理更清晰高效。覆盖数据汇报、会议纪要、内容营销等全场景,大幅提升办公效率,降低专业门槛,是您提升工作效率的得力助手。
- 4463次使用
-
- 星月写作
- 星月写作是国内首款聚焦中文网络小说创作的AI辅助工具,解决网文作者从构思到变现的全流程痛点。AI扫榜、专属模板、全链路适配,助力新人快速上手,资深作者效率倍增。
- 6114次使用
-
- MagicLight
- MagicLight.ai是全球首款叙事驱动型AI动画视频创作平台,专注于解决从故事想法到完整动画的全流程痛点。它通过自研AI模型,保障角色、风格、场景高度一致性,让零动画经验者也能高效产出专业级叙事内容。广泛适用于独立创作者、动画工作室、教育机构及企业营销,助您轻松实现创意落地与商业化。
- 4832次使用
-
- pe系统下载好如何重装的具体教程
- 2023-05-01 501浏览
-
- qq游戏大厅怎么开启蓝钻提醒功能-qq游戏大厅开启蓝钻提醒功能教程
- 2023-04-29 501浏览
-
- 吉吉影音怎样播放网络视频 吉吉影音播放网络视频的操作步骤
- 2023-04-09 501浏览
-
- 腾讯会议怎么使用电脑音频 腾讯会议播放电脑音频的方法
- 2023-04-04 501浏览
-
- PPT制作图片滚动效果的简单方法
- 2023-04-26 501浏览

