苹果正在研究如何让“Apple Glass”自动清洁
从现在开始,我们要努力学习啦!今天我给大家带来《苹果正在研究如何让“Apple Glass”自动清洁》,感兴趣的朋友请继续看下去吧!下文中的内容我们主要会涉及到等等知识点,如果在阅读本文过程中有遇到不清楚的地方,欢迎留言呀!我们一起讨论,一起学习!
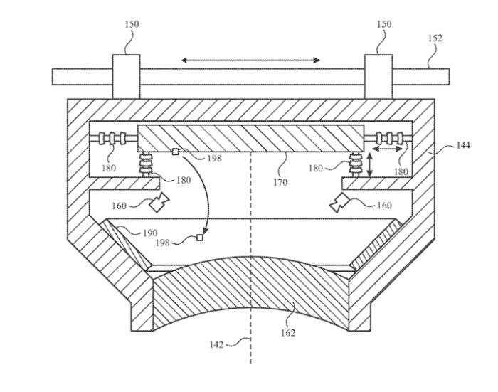
未来的头戴式显示器,例如“ Apple Glass ”,可能会自动清除阻碍佩戴者视线的灰尘。
如果你戴眼镜,你也有一块布用来反复清洁它们,你可能仍然需要擦拭“Apple Glass”。然而,一项新披露的专利申请表明,Apple 正在寻求自行保持设备内部的清洁。
新授予的专利“头戴式设备的粒子控制”讨论了设备本身如何从苹果公司所谓的“光学模块”中去除灰尘或其他碎屑。
“光学模块提供的视图质量可能取决于图像源和用户眼睛之间的光学路径的清晰度,”专利申请说。
“例如,沿着光学路径的颗粒(例如,灰尘、碎屑、异物和/或其他材料)可能会阻碍、扭曲和/或以其他方式对提供给用户的视图产生不利影响,”它继续说道。
“特别是,在显示元件包括高分辨率显示器的情况下,显示元件表面上的此类颗粒可能会阻挡整个像素和/或多个像素,从而使传输给用户的图像与其预期形式发生变化,”苹果说。
根据苹果的说法,这个问题只会在“头戴式设备的使用寿命期间”增加。即使设备“被密封以防止和/或限制基本上所有粒子从外部环境进入”,它也可能发生。
随着时间的推移,“组件的退化、侵蚀、摩擦、磨损和/或老化”可能意味着“颗粒会迁移”或“聚集在显示元件上”。
苹果的提议是,该设备本身可以去除灰尘,捕捉“颗粒,这样它们就不会干扰用户对光学元件的观察和/或通过光学元件的观察”。可以实现这一点的一种方法是通过振动。

“例如,显示元件和/或另一个光学元件可以以在其观察表面上释放颗粒的方式移动,”该专利申请说。“光学模块可以包括一个颗粒保留元件,它可以牢固地保留颗粒,使它们保持在光学路径之外。”
因此,“Apple Glass”可以抖落这些灰尘颗粒,并将它们收集到佩戴者看不见的安全地方。当设备检测到问题或佩戴者选择使用它时,这种震动可以自动完成。
该专利归功于包括 Ivan S. Maric 在内的五位发明家。他之前为 Apple 所做的工作包括设计MacBook Pro如何采用HomePod风格感应其环境。
终于介绍完啦!小伙伴们,这篇关于《苹果正在研究如何让“Apple Glass”自动清洁》的介绍应该让你收获多多了吧!欢迎大家收藏或分享给更多需要学习的朋友吧~golang学习网公众号也会发布文章相关知识,快来关注吧!
mysql备份数据库恢复导入的示例分析
- 上一篇
- mysql备份数据库恢复导入的示例分析
- 下一篇
- PHP怎么实现获取MySQL数据库的记录数据
-
- 文章 · 软件教程 | 2秒前 |
- Win10开机黑屏鼠标可用解决方法
- 291浏览 收藏
-
- 文章 · 软件教程 | 1分钟前 |
- 知音漫客官网入口及观看教程
- 417浏览 收藏
-
- 文章 · 软件教程 | 8小时前 |
- vivo浏览器账号登录与同步方法
- 330浏览 收藏
-
- 文章 · 软件教程 | 8小时前 |
- Excel快速对比两表结构与公式差异技巧
- 134浏览 收藏
-
- 文章 · 软件教程 | 8小时前 |
- Win11更改光驱盘符步骤详解
- 459浏览 收藏
-
- 文章 · 软件教程 | 8小时前 |
- Win10C盘清理方法临时文件深度清除技巧
- 281浏览 收藏
-
- 文章 · 软件教程 | 8小时前 |
- 联通5G覆盖查询方法与技巧
- 421浏览 收藏
-
- 文章 · 软件教程 | 8小时前 | 发布方法 抖音长视频
- 抖音长视频教程:如何发布长视频?
- 456浏览 收藏
-
- 文章 · 软件教程 | 8小时前 |
- Win11关闭Hyper-V详细教程
- 441浏览 收藏
-
- 文章 · 软件教程 | 8小时前 |
- 咪咕音乐缓存清理后无法播放怎么办
- 255浏览 收藏
-
- 文章 · 软件教程 | 8小时前 | Windows
- Win10家庭版与专业版区别解析
- 480浏览 收藏
-
- 文章 · 软件教程 | 8小时前 |
- Excel多维切换图表怎么操作
- 102浏览 收藏
-
- 前端进阶之JavaScript设计模式
- 设计模式是开发人员在软件开发过程中面临一般问题时的解决方案,代表了最佳的实践。本课程的主打内容包括JS常见设计模式以及具体应用场景,打造一站式知识长龙服务,适合有JS基础的同学学习。
- 543次学习
-
- GO语言核心编程课程
- 本课程采用真实案例,全面具体可落地,从理论到实践,一步一步将GO核心编程技术、编程思想、底层实现融会贯通,使学习者贴近时代脉搏,做IT互联网时代的弄潮儿。
- 516次学习
-
- 简单聊聊mysql8与网络通信
- 如有问题加微信:Le-studyg;在课程中,我们将首先介绍MySQL8的新特性,包括性能优化、安全增强、新数据类型等,帮助学生快速熟悉MySQL8的最新功能。接着,我们将深入解析MySQL的网络通信机制,包括协议、连接管理、数据传输等,让
- 500次学习
-
- JavaScript正则表达式基础与实战
- 在任何一门编程语言中,正则表达式,都是一项重要的知识,它提供了高效的字符串匹配与捕获机制,可以极大的简化程序设计。
- 487次学习
-
- 从零制作响应式网站—Grid布局
- 本系列教程将展示从零制作一个假想的网络科技公司官网,分为导航,轮播,关于我们,成功案例,服务流程,团队介绍,数据部分,公司动态,底部信息等内容区块。网站整体采用CSSGrid布局,支持响应式,有流畅过渡和展现动画。
- 485次学习
-
- ChatExcel酷表
- ChatExcel酷表是由北京大学团队打造的Excel聊天机器人,用自然语言操控表格,简化数据处理,告别繁琐操作,提升工作效率!适用于学生、上班族及政府人员。
- 4215次使用
-
- Any绘本
- 探索Any绘本(anypicturebook.com/zh),一款开源免费的AI绘本创作工具,基于Google Gemini与Flux AI模型,让您轻松创作个性化绘本。适用于家庭、教育、创作等多种场景,零门槛,高自由度,技术透明,本地可控。
- 4573次使用
-
- 可赞AI
- 可赞AI,AI驱动的办公可视化智能工具,助您轻松实现文本与可视化元素高效转化。无论是智能文档生成、多格式文本解析,还是一键生成专业图表、脑图、知识卡片,可赞AI都能让信息处理更清晰高效。覆盖数据汇报、会议纪要、内容营销等全场景,大幅提升办公效率,降低专业门槛,是您提升工作效率的得力助手。
- 4454次使用
-
- 星月写作
- 星月写作是国内首款聚焦中文网络小说创作的AI辅助工具,解决网文作者从构思到变现的全流程痛点。AI扫榜、专属模板、全链路适配,助力新人快速上手,资深作者效率倍增。
- 6103次使用
-
- MagicLight
- MagicLight.ai是全球首款叙事驱动型AI动画视频创作平台,专注于解决从故事想法到完整动画的全流程痛点。它通过自研AI模型,保障角色、风格、场景高度一致性,让零动画经验者也能高效产出专业级叙事内容。广泛适用于独立创作者、动画工作室、教育机构及企业营销,助您轻松实现创意落地与商业化。
- 4820次使用
-
- pe系统下载好如何重装的具体教程
- 2023-05-01 501浏览
-
- qq游戏大厅怎么开启蓝钻提醒功能-qq游戏大厅开启蓝钻提醒功能教程
- 2023-04-29 501浏览
-
- 吉吉影音怎样播放网络视频 吉吉影音播放网络视频的操作步骤
- 2023-04-09 501浏览
-
- 腾讯会议怎么使用电脑音频 腾讯会议播放电脑音频的方法
- 2023-04-04 501浏览
-
- PPT制作图片滚动效果的简单方法
- 2023-04-26 501浏览

