挖掘数百篇AR/VR专利,苹果XR全方位探索
目前golang学习网上已经有很多关于科技周边的文章了,自己在初次阅读这些文章中,也见识到了很多学习思路;那么本文《挖掘数百篇AR/VR专利,苹果XR全方位探索》,也希望能帮助到大家,如果阅读完后真的对你学习科技周边有帮助,欢迎动动手指,评论留言并分享~
近期大家也看了很多苹果XR的消息,与其看各种爆料、不如从专利入手来看看苹果XR头显可能会有哪些不同的玩法。于是,我们就从苹果近年来有关AR/VR的数百篇专利中,选出可能会直接决定和影响XR产品体验的部分汇总出来。虽然这些专利不会针对单一产品,无法精确描述iPhone XR的外观,但我们可以从专利中推断一些信息。

在整理近年来苹果AR/VR专利时,主要发现以下几个特点:
1)部分AR/VR专利来自此前收购的公司,比如PrimeSense、Metaio、NextVR、SMI、Spaces等等;
2)结构光、LiDAR测距、VST透视、数码旋钮、动态变焦等是苹果的创新重点;
3)探索多种不同的光学方案,衍射光波导、视网膜投影等等;
4)后期多项专利描述一种多透镜组的AR/VR显示方案,预计将与头显的VST摄像头阵列搭配使用。
目录
- 一,光学显示
- 二,眼球追踪
- 三,生物传感器
- 四,交互技术
- 五,VST透视
- 六,空间音频
- 七,定位系统
- 八,其它传感器
- 九,外观设计
- 十,UX设计
- 十一,应用场景
一,光学显示
◎ LBS微镜扫描方案+衍射光波导:编号US20190377181A1等
有多种不同的光路设计,甚至可能在相位光栅和波导之间插入反射偏振器,特点是可切换光束,改变反射光线、衍射光线的相对偏光。

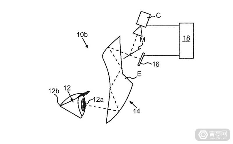
◎ 视网膜扫描:编号US10681328B1
苹果描述了一种AR/VR视网膜投影系统,原理是利用微镜将像素逐个扫描到用户的视网膜上,好处是支持动态变焦,AR/VR图像中物体、表面可以显示在正确的视觉深度上显示。

◎ 可调光透镜波导
在2018年时,苹果曾探索基于LCoS+光波导的AR/VR显示方案,光学引擎位于眼镜框左右两侧,向用户眼前的光波导注入图像。除此之外,该方案的特点是搭载了可调焦透镜。

而在另一项专利(US11221488B1)中,苹果则指出调焦透镜可采用一个或多个液晶透镜,或是流体填充透镜、Alvarez透镜,特点是支持视力调节,缓解近视、远视等视力问题。
◎ 全息光波导+Micro LED
编号US20180321432A1,苹果在专利中描述了一种结合全息光学薄膜的光波导方案,采用Micro LED光源,特点是光线可根据观看角度重定向,从而形成立体视觉观感。

除了全息光波导外,苹果在另一项2019年的专利中(编号US20190285897A1),曾提到一种基于反射全息组合器的AR光学方案,具有半反半透特性。
◎ 折反射式光学系统
编号US20190146198A1,指出了一种折反射式方案的AR/VR挂钩难学系统,特点是由多层高透光透镜(玻璃或塑料材质)组成,可能包含平凸镜和平凹镜,具有折射和反射特性。而采用折叠光路设计的目的,是为了缩减头显光学模组的厚度。

◎ 流体调节透镜
专利编号US20200096770A1,指出了一种可动态调节的AR/VR透镜组,特点是在透镜之间加入流体夹层,以实现动态调焦、屈光调节的效果。液体层由电子机械泵控制,透镜之间的液体越多,距离就越远,由于左右眼光学模组是独立的,所以左右眼焦距可独立控制。

◎ 微透镜阵列方案(Lenticular Display)
在编号US20200103669A1、US20210072556A1、US11143865B1、US11187914B2、US20220035160A1、US20220146820A1等专利中,均提到了基于多个柱状透镜/微透镜组成的阵列光学方案(以圆弧形排列),好处是比单孔径透镜更薄,有助于缩小头显体积,而且FOV大,支持动态视角切换,适配多摄像头阵列的VST透视模组。

此外还详细描述了该光学方案的优化方式,比如采用louver薄膜来控制显示屏光线发射角度,从而减少串扰,或是加入反射镜来改变透视角度,将透视场景向用户“视觉拉近”,以显示更准确的场景深度/距离。
◎ 多层几何相位透镜方案
编号US20210048674A1专利中,苹果提出了一种用于显示立体感虚实融合画面的光学方案,特点是采用多层透镜结构,在不同的焦面显示不同物体,并拼接为沉浸、立体的场景。这种方案可以很好的模拟人眼动态变焦效果,但对光学、眼球追踪、软件算法等方面有极高要求。

◎ 可变色镜片
在2019年的一项专利(US11029521B2)中,苹果提出了一种叠加光致变色层的AR镜片方案,特点是在紫外线强光下可降低透光度,使AR图像在户外能更清晰显示。这种技术的运作方式类似于常见的变色眼镜,同时可以替代一些AR眼镜使用的遮光罩。

◎ 色散补偿光学方案:编号US20200117003A1
该方案旨在提升AR等近眼光学的光学效率和画质,特点是使用多种全息材料作为光栅介质,每种全息材料具备不同的光栅矢量、频率和方向,因此可以很好的消除色差。该方案可搭配偏镜、投影元件来组成光学方案。

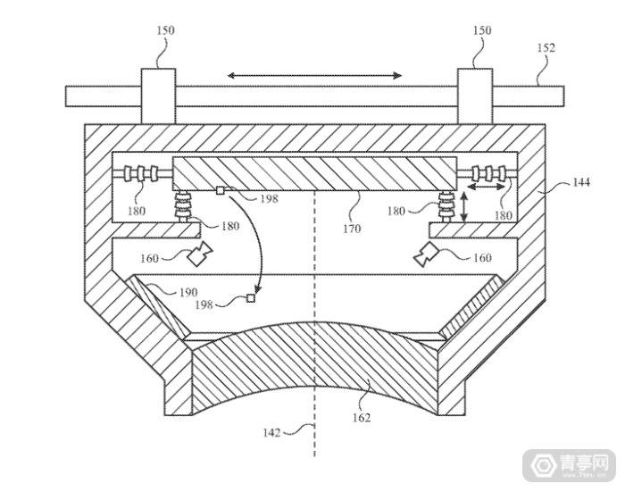
◎ 改善Micro LED屏幕质量
为了更好的控制Micro LED屏的生产质量,苹果设计了特殊的测试设备和架构,宣称可在Micro OLED与面板键合之前,捕捉亮度不达标的LED像素(比如利用显示屏光学扫描),发现问题后可直接替换备用LED,从而更有效的修复。
Micro LED是比较前沿的显示技术,除了用于手机、智能手表外,未来也有望用于AR/VR头显中。
◎ 360°透视
在编号US20210092292A1的专利中,苹果描述了一种搭载8颗摄像头的AR/VR头显方案,特点是在头显周围(包括前盖、头带)布局了8颗摄像头,用于捕捉和透视周围360°环境,从而增强用户的环境感知能力,即使是视觉盲区也能看见。

◎ 主屏+副屏设计
在2021年公布的一项专利中,苹果设计了一种基于主屏+副屏的AR眼镜方案,特点是主副屏可独立运行,主屏幕分辨率较高,用于显示主要的AR功能,而副屏分辨率较低,主要显示一些简单的提示信息,比如倒计时、事件等等,而镜框最外围还有一圈LED指示灯,可提示AirTag就在附近。通过这种设计,可以更合理地利用有限的屏幕区域,并且减少算力和耗电。

而在编号US11450297B1的专利中,苹果则设计了一块主屏配两块副屏的注视点渲染方案,这三块屏幕(可采用柔性或硬性面板)以符合头部曲线的弧形排列,为了隐藏屏幕边界,苹果在透镜上加入了一层独立的漫射结构,以优化高分辨率和低分辨率屏幕的衔接。

二,眼球追踪
眼球追踪技术,是苹果AR/VR专利中反复提及的一个关键,主要用途包括:注视点渲染、降低功耗、动态调焦、生物监测、视力检测、注视点输入等等。此外,专利中还详细描述了眼球追踪的实现和优化方式,比如:
- 近红外方案(可捕捉瞳孔放大、注视点);
- 基于定向视网膜闪光的方案;
- 同轴照明方案(特定脉冲频段光源与图像传感器在同一轴上,好处是可捕捉更明亮的瞳孔图像);
- 眼球追踪延迟补偿、效果优化。
以下是几个比较有特色的:
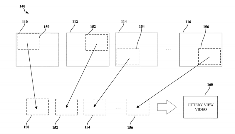
◎ 编号US20200019238A1:人眼的眼跳是一种常见现象,通常每秒眼跳数次(succade),在眼跳出现的短暂时间里,视觉敏感度也会短暂降低,从而引起不易察觉的短暂失明。正是利用这种特性,该系统可在用户难以察觉的情况下调整显示内容,从而达到降低功耗,降低烧屏风险的效果。

该方案需要结合眼球追踪技术来实现,可能采用CV或IR传感器方案。
◎编号US20190339770A1:专利中描述了一种基于注视点追踪的机械变焦AR/VR方案,可跟随用户注视点变化而切换画面焦距。而为了弥补变焦系统的延迟,该专利重点描述了一种注视点预测技术,可提前预测人眼运动轨迹(眼球扫视的落点),并对图像进行预渲染,好处是可以让焦点切换更加丝滑。
在2018年,苹果曾申请一项专利,用于生成可实现8K分辨率的关注点渲染方案(仅限于中心视觉区域)。而在2019年,也有亮相苹果专利提到注视点渲染方案(编号分别为US20190172399A1、US20190180672A1),特点是采用两块屏幕(高清主屏+低清副屏),分辨率预计也可达到8K,屏幕ppi在1000到2000之间。
◎ 编号US20190133440A1:指出了一种通过识别主导眼,来提高和优化眼球追踪准确性和稳定性的方案。主导眼又称主视眼,在眼球追踪中重点分析主导眼数据,可以更好地对齐眼球的光轴和视轴,带来更好、更快的校准效果。
识别主导眼的另一个好处,是能帮用户诊断与聚散度相关的眼病,如斜视或者弱视,并在此基础上优化注视点渲染技术。而为了进一步优化眼球追踪对广泛人群的适配度,苹果在编号US11644896B2的专利中提到,眼球追踪系统可提取不同用户的眼部特征作为控制参数,并在此基础上动态校准注视点。

◎ 编号WO2020068447:苹果提出了一种基于眼球追踪的AR/VR应用开启方式,特点是结合了语音玩法,用户只需要盯着目标应用标志,说出“开启”便可打开该应用,操控足够自然、快捷。而在2021年公布的另一项专利中,苹果则还提出了用注视点快速切换文本输入框的方案,可以让你在VR中更快的填表、录入个人信息。

在苹果看来,眼球追踪还可以动态优化第一人称视频录制,比如用注视点驱动相机拍摄的位置,将用户注意的位置放在视频中心,并根据注视点变化快速运镜(使用平滑算法来防抖)。这将很适合未来全天候的AR眼镜。
◎ 编号US20200278539A1:为了节省眼球追踪硬件的功耗,苹果在专利中设计了一种基于事件相机的方案,特点是仅在识别到眼动时开启,而不是持续开启扫描。该专利的另一个特点,则是能根据使用者的生物信息来调节光线强度,当用户眨眼次数超常,或是识别到儿童用户时,系统算法会降低照明光源的亮度,从而提升视觉舒适性。

而另一个省电的方案,则是结合低分辨率和高分辨率两种模式的眼球追踪,分别识别眼球相对运动和准确位置,并结合头部传感器来定位注视点。
◎ 编号US10354136B2:为了提高眼球追踪准确性,减少漂移是一个关键。在该专利中,苹果介绍了一种特殊透镜系统,宣称可减少眼球追踪的漂移现象。该方案基于光线追踪,可通过识别光线到达人眼并反射的数据,来对眼球建模等等。

一些眼球追踪专利也来自苹果在2017年收购的SMI(SensoMotoric)公司,比如US10437327B2,提出了一种通过二次成像捕捉注视点的方案,特点是第一次成像捕捉到清晰的眼球,用于定位瞳孔位置,而第二次成像清晰度较低,用来识别眼球发亮,两次捕捉数据结合后,注视点预测数据可以更准确。
三,生物传感器
在一些专利中,苹果提出在AR/VR头显中加入生物传感器,用于感知佩戴者的身体状态,并相应改变显示的内容。细节方面,头显可识别力度、温度、湿度、位移、EEG、电容、EMG和心率等信息,从而评估心理压力、个人健康状态,然后在AR/VR中推荐帮助放松的应用或内容,甚至还能主动提示就医信息。

而在2019年一项专利中,苹果曾描述一种面部追踪方案,特点是在AR/VR头显、眼镜中加入多种生物传感器,比如PPG(光电容积脉搏波描记法)、ECG(心电图)、GSR(皮肤电信号)、压力传感器、eField、热传感器等等。它可以检测咀嚼、眨眼、微小、皱眉等一系列复杂的面部动作,进而检测用户的健康状态。
四,交互技术
1,隔空手势
苹果的一些3D手势技术来自于2013年收购的PrimeSense,从一些相关专利中可以发现,发明者为前PrimeSense员工。比如在一项专利中,就介绍了一种3D手势方案,特点是允许用户用抓取、推送、释放等手势操作3D用户界面,来玩游戏或播放视频。
隔空手势是苹果AR/VR专利中常见且重要的技术,不仅可以用于AR/VR头显,还能在iPhone、iPad、Mac等设备上实现。

苹果隔空手势系统可采用多种方案,比如结构光、LiDAR、RGB、IR传感器、超声波换能器、VSWR传感器等等。
比如在编号US20210011289A1专利中,苹果描述了一种支持Inside-Out定位的AR/VR头显方案,特点是搭载RGB相机、ToF传感器和IR LED模组,支持手势追踪、3D环境测距等多项功能。
2,体感/智能手套
苹果曾为AR/VR手套申请多项专利,覆盖了各种不同的技术方案,比如在手套的指尖末端加入磁传感器,通过检测磁场变化和干扰,来定位磁源和传感器的相对位置,从而实现手势定位。另一种方法是使用柔性力传感器阵列和光传导材料来检测微小的触感互动和握力动态变化。

此外,还提出基于IMU定位的手套方案,特点是将IMU传感器内置在手套的指关节部位,可准确检测手掌、手指动作和位置,不受遮挡等因素困扰,因此可识别手指交叉动作。
在编号US11397486B2的专利中,苹果还 提出了一种利用超声波来识别手势的VR手套,特点是可识别用户手掌施加的压力,以及手指厚度。

除了追踪手势外,苹果还希望基于摩擦阻力、柔性贴片等技术,为AR/VR手套赋予体感反馈(编号US10481688B1、US20200257362A1),以模拟“触摸”大海、海浪、树、沙滩、方向盘等纹理的感受。
而在另一项2020年的专利中,苹果则描述了一种基于织物材质的柔性体感手套方案,特点是织物部分可膨胀或收缩,以适配不同手型的用户。
3,智能手环/手表
在一项专利中,苹果描述了一种用智能手表来操控VR游戏的方案,特点是基于皮肤传感,可通过对比和分析静脉图像,来推测手部关节动作。
而在编号US20210303068A1等专利中,苹果还提出在智能手表上通过摄像头CV、UWB、EMG、RF、感测电路等方式,来识别双手接触动作的方案,允许你用一根手指在另一只手掌上滑动,来模拟光标移动、拖动、打开或其他指令。

实际上,Apple Watch在2021年已经推出手势识别功能(AssistiveTouch),可识别握拳、捏手指等动作,允许你用单手微动作来操控手表界面。将来,AR/VR 头戴式设备可能会与这种交互方式结合,以提供自然的手势交互。
4,智能戒指
目前,市面上AR/VR主要交互方式是手柄,其次是手势。与此同时,谷歌、Meta以及苹果等公司亦在尝试利用智能手环来控制AR/VR技术。尤其是在苹果AR/VR相关专利中(US20190004604A1,US10444834B2等),经常出现对智能戒指的介绍,涉及各种不同的设计。

比如:U型指环(弹性/柔性材质,尺寸可调)、戒指、指套(追踪五指运动),或是时髦的螺旋式、铰链式等设计。该设备具有可扩展的外形,支持多个设备同时使用或与外部设备(如Apple Pencil)协同使用的特性。

特点是采用无线设计,光学定位织物、搭载多个传感器:触控板、NFC通信、生物传感器、SMI压力传感器、加速针等装置,可识别皮肤接触/捏合、敲击等微手势交互,支持6DoF定位,甚至能识别环境温度、物理表面形状和纹理,以及心率、血压、血氧等生物信号。一些专利中还提到,智能指环可配备一些与Apple Watch接近的智能功能,比如数码旋钮、解锁Mac电脑等等。

5,手写笔交互
在一些专利中,苹果曾提出用手写笔(如Apple Pencil)在空间中进行3D创作,这与传统基于触屏的手写笔方案有很大不同。

比如编号US20180018057A1,就指出了一种基于非电子表面输入的手写笔设计,特点是手写笔内置定位传感器,可识别在任何地方书写的内容。
而在2020年的一项专利中,苹果则描述了一种支持6DoF定位的手写笔,特点是支持剪切力反馈,用户握笔时可感受到模拟的表面、体积、内部纹理等物理体感特性。

在另一项专利中,苹果还提出了一种简易的手写笔适配器,可为Apple Pencil带来压力感应功能(作用类似于VR手柄的扳机键),并允许用户使用Pencil在空间中输入信息。此外,手写笔还能作为控制器来玩游戏(US20230042447A1),比如在AR/VR中做出敲击、滚动、旋转、轻弹和滑动等动作。
6,虚拟键盘
编号US10237509B1:为了帮助AR/VR用户快速输入文字,苹果在专利中提出了一种虚拟键盘设计,概念是在物理键盘上叠加一层虚拟键盘,相比于摄像头直接透视按键,虚拟键盘视觉看起来更加清晰。该方案在输入硬件方面具备兼容物理键盘、平板电脑触屏键盘和手势追踪手套的能力。

编号US20200088999A1:这项专利中设想了一种基于投影的虚拟键盘方案,特点是在头显上搭载投影装置,可将键盘投屏到桌面等物理平面上,并利用3D传感器来识别用户敲击键盘的动作。值得注意的是,这项专利中提到的头显还支持其他外屏交互,比如在外壳上加入按钮、触控传感器、触控显示屏,允许用户不戴头显也能快速使用。

而在另一项专利(US10890952B2)中,苹果也提到了类似的交互式表面投屏方案,特点是可将任何物理表面变成可操作性的菜单,比如在笔记本上叠加计算器功能,或是在手臂上叠加交互UI。
五,VST透视
苹果的部分VST透视技术来自于在2017年收购的VRVANA公司,这在一些专利上也有所体现。VRVANA技术特点是可纠正光学透镜的图像失真,VST透视延迟仅几毫秒。在2019年公布的一项专利中(发明者之一为VRVANA创始人Bertrand Nepvue),苹果就描述了一种基于实时色度键控原理的MR方案,可将真实场景中人的背景替换为虚拟内容,类似于绿屏替换。

此外,苹果在2019的另一项专利中指出(US10330935B2),可为头显配备高分辨率和低分辨率两种透视摄像头,这种设计利用了VR的注视点渲染技术,通过降低用户余光部分的透视分辨率,来优化计算任务、降低硬件成本。
专利还指出,AR/VR头显通过两组RGB摄像头捕捉周围立体环境,宣称可模拟人眼视觉系统。
六,空间音频
苹果针对空间音频也曾申请多项专利,比如一些基于HRTF(头部相关传输函数)、几何声学等技术的方案,或是通过实时声音射线追踪来模拟室内声场。此外,还探索了根据头部定位信息来预测双声道音频的方案,特点是可根据用户头部运动来动态调整声音的模拟距离和方向,改善VR RPG游戏、恐怖电影等内容的体验感。
而在US2022032965A1中,则描述了一种根据头对躯干方向来定位用户朝向的方案,类似于AirPods的身体朝向模式。

在2021年的一项专利中,苹果曾指出AR/VR头显可搭载多个麦克风阵列,支持定向音频检测,可计算出周围环境中某个声音的来源,并以视觉形式标注或提示。这样的功能可以很好的补充人的听力,帮助用户识别超出正常感知范围的声音(类似的概念还可以用AR标记肉眼不可见的气体、电磁信号等)。
而在2023年的一项专利(US2023014111A1)中,还指出可以使用空间滤波器,根据用户所处的环境,为双声道音频加入空间线索,让空间音频的实际体验更加身临其境。
七,定位系统
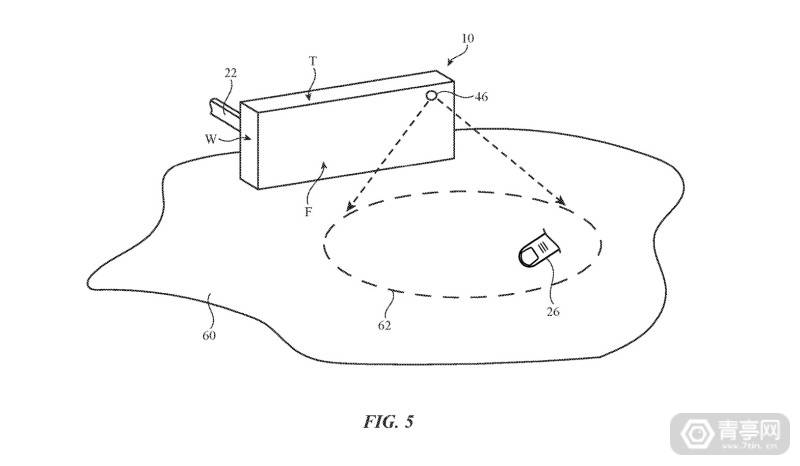
◎ 超声波定位
目前,主流VR定位基于光学方案,比如红外、CV等等。在编号US20190094955A1的专利中,苹果提出了一种基于飞时测距原理的超声波定位方案,宣称可测量传感器与墙壁、目标、障碍物之间的相对测距,为周围环境生成3D地图,并定位手柄、头显,以及检测障碍物、识别表面。

◎ 3D测距/扫描
苹果不止一次在专利中提到,AR/VR头显可搭载多个3D传感器,包括:结构光传感器、双目3D图像传感器模组(由2个或以上摄像头组成)、LiDAR、3D无线电传感器、红外或CV相机等等,这些传感器可用来定位空间,也可以识别障碍物。
八,其它传感器
◎ 多传感器阵列
在2021年,USPTO曾曝光一项来自苹果的关键AR/VR专利(US20210165229A1),其中描述了一种分体式、搭载多摄像头和传感器的AR/VR头显。为什么说它重要呢?首先专利发明者都是苹果的一些关键人物,比如HoloLens联合发明者Avi Bar-Zeev,以及在苹果工作了二十多年的Geoff Stahl。据前不久彭博社爆料称,Stahl目前在负责xrOS操作系统,是苹果AR/VR项目背后一个关键推手。
除此之外,在编号US20210294104A1的专利中,苹果还设想AR/VR头显可以搭载更多传感器,比如度摄像头、眼球追踪模组、激光雷达、指纹识别模组、手势识别模组、超声波传感器、光学距离传感器、视网膜扫描传感器、温度传感器、EMG、氧传感器、心率传感器、血流量传感器、电阻式传感器、应变仪、加速计、磁性传感器、电位器等。
◎ 霍尔传感器(编号US10557724B1)
通常,AR/VR头显采用距离传感器来感知佩戴状态,检测到用户佩戴头显后,便会开启系统,而检测到用户摘掉头显后,则进入待机状态。相比于距离传感器,霍尔传感器更省电,苹果希望在头显中采用多个霍尔传感器和磁性机制,通过检测设备的旋转角度,来判断佩戴状态。实际上,苹果蓝牙耳机AirPods也采用了霍尔传感器。

九,外观设计
◎ 数码旋钮
多项专利(例如US20210089136A1)中提到,苹果探讨了在AR/VR头戴设备上使用数字旋钮的设计。实际上,数码旋钮是苹果产品的一个经典交互方式,此前曾出现在Apple Watch、AirPods Max耳机中,而应用在AR/VR头显时,它将可以调整音量、屏幕亮度,甚至可以切换AR和VR模式。

有趣的是,在编号US20230162929A1的专利中,苹果中指出数码旋钮可支持更复杂的操作,比如将多次旋转动作组合,触发组合指令,实现更丰富的交互。
◎ 柔性智能纺织材料
目前AR/VR主要在外壳上采用织物包裹,还未应用导电的织物设计。在编号US20190191557A1的专利中,苹果提出了一种柔性智能织物方案,特点是内置凹槽导电线缆,可应用于臂带、AR眼镜等穿戴设备中。

◎ 隐藏摄像头
光学传感器、相机是AR/VR头显必要的组件,主要用于感知周围环境、定位或是手势识别。如果AR眼镜全天候佩戴,那眼镜上的相机和传感器需要长时间运行,可能会招致周围其他人的不满。为了让相机看起来更隐蔽,苹果在专利(编号:US20190353836A1)中提出了一种红外透光单面镜涂层,原理类似于警局问询室常用的单面镜,该涂层能透过红外光(不影响SLAM定位),从外部看不到内部的摄像头。
◎ 外壳大面积触控
在编号US20210089150A1的专利中,苹果提出了一种大面积支持触控的AR/VR头显外壳设计,特点是配备传感器、滑块按钮、旋钮等多种操作方式,支持灵活的外部操控。

而在其他的专利中,苹果还提到某种肉眼不易察觉的“隐形”按钮和触控滑块方案,用于优化AR/VR头显的产品美学设计。
◎ AR头显盒子
苹果在多项专利中曾提出插入式AR/VR头显盒子设计,特点是可将手机直接插入有透镜的镜架中,在用户眼前显示内容。镜腿处还可配备触控传感器,用于操作AR/VR界面。在2022年的一项更新专利(US11258891B2)中,还加入了新特性:支持AR(VST模式)/VR模式切换。

相比与集成式AR/VR头显,头显盒子的优势是成本更低,可以灵活利用现有的iPhone手机,甚至还能保护看手机的隐私。不过从一系列爆料来看,苹果似乎暂时不会推出这样的产品。
◎ 模块化AR眼镜
在2020年公布的一项专利中,苹果构想了一种比较超前的AR眼镜产品设计,特点是镜片、镜架等部分高度模块化,可替换和拆卸,比如根据不同的需求和场景,更换不同的部件,比如高分辨率显示模组、长续航电池、更小巧的元件等等。值得注意的是,AR镜框与镜腿之间采用插入式榫卯结构,用户无需额外的工具辅助,自己就能组装完整的AR眼镜。类似于Apple Watch的可更换表带机制,这种玩法允许用户将产品个性化。

◎ 可配置、扩展的AR/VR音频系统(编号US20200089008A1)
支持变形泡沫材质的耳罩,通过充气和放气来改变音频模式,好处是可以在降噪和穿透模式之间切换。在VR场景中,可快速切换至沉浸式音频(降噪模式),而在AR场景中,则改为开放式音频,通过骨传导原理播放声音。

◎ 镜片保护模式
苹果工程师在2019年12月公布的一项专利中构思出了一种机制,可以防止AR眼镜在跌落时镜片破碎。该方案可通过传感器检测AR眼镜的状态,当时别到正在自由落地、被撞击时,便会启动光学系统的保护模式,即移动相关镜片,并在透镜间隔填充空气或特殊液体,来形成缓冲,从而降低碰撞带来的意外损失。
而在编号US20210302745A1的专利中,苹果还提出了一种光学模组自检系统,当识别到跌落、碰撞等情况时,会自动检测内部组件错位情况,并自动进行位置补偿,以恢复预设值。
有趣的是,苹果在另一项专利(US11340466B2)中,还提出了一种弹性镜框设计,特点是镜腿可变形,在受到撞击时可起到缓冲作用,避免光波导等光学模组变形。
◎ 头显绑带优化
编号US20190072772A1:通常,用户在佩戴AR/VR头显之前,需要针对自己的头型去调节绑带,这需要一个过程,因此不能像手机那样拿出来就能用。对于多人共享AR/VR头显,每个人都需要调整绑带,有点麻烦。

为了简化头显佩戴流程,苹果在专利中描述了一种机械绑带系统,特点是可识别用户头部参数,并自动适应尺寸。值得注意的是,该系统还会根据手势、头显内容来调节,比如通过用户手的位置来辅助摘掉、穿戴动作,而在运行不需要用户移动的内容(比如看电影),绑带就会放松。

除此之外,苹果还在一项专利中提出了一种可折叠头带系统(US11320659B1),特点是将柔性绑带与磁吸模块结合,特点是容易收纳,支持模块化扩展(比如将摄像头、电池、扬声器等元件吸附在头带上)。
十,UX设计
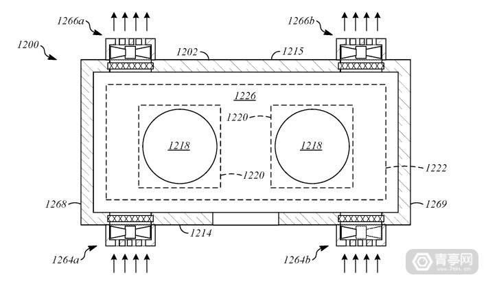
◎ 主动散热系统
为了更好地散热效果,Quest 2现已实施主动散热方法,包括采用风扇。相比之下,苹果专利中描述的方案具有更好的通风性,特点是在头显上下两面各配置两个风扇,以实现上下对流风,为内部零件降温。

此外,该风扇系统可根据渲染任务动态调节强度,还能对面部吹风,为皮肤降温。
而在2022年的一项专利中,苹果进一步提出了一种风扇噪音控制系统,特点是可识别散热系统的噪音,并实时调节风扇速度来降噪,以避免干扰用户与接打电话、Siri语音助手交流。有趣的是,还可以加大风扇音量,来提示用户周围有障碍物。
◎ 光学部件自我清洁
我们知道,AR/VR头显通常基于精密的光学结构,如果在透镜、显示屏之间的缝隙进入灰尘或碎片,很可能阻碍光源传播,进而影响显示效果。然而,光学元件通常不好拆开,人为清洁困难。因此,苹果在2021年公布的一项专利中指出一种可自我清洁的光学方案,其概念足够简单,主要是检测光学质量,当出现问题时,便通过抖动将灰尘颗粒抖开,并安全的手机到用户视线范围外。

◎ 面部适配系统
编号US20200081259A1:苹果提出了一种模块化的头显面部支撑系统,特点是采用长度可伸缩的材质、充气式材料,以及弹性橡胶材料,好处是可以根据不同人的面部结构(额头、两颊、太阳穴)调整,即使因头显晃动而出现面罩错位,也可以通过调整贴合度来提升舒适感。

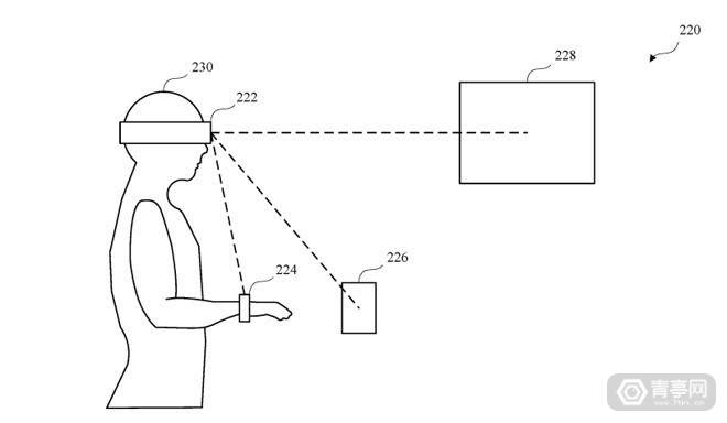
◎ 跨设备认证解锁
在一项名为“认证设备辅助用户认证”(US10893412B2)专利中,苹果指出了一种多设备就近认证的方案,允许用户佩戴AR/VR头显直接解锁自己的iPhone,从而省去反复穿脱头显、解锁手机的步骤。这种跨设备之间的联动设计,在Apple Watch上已经采用,可允许你快速解锁iPhone或Mac电脑。除了解锁外,你还可以通过头显锁定手机等设备,还可以设置二次验证机制。

在另一项编号US20210105614A1的专利中,苹果也提到了类似的多设备认证、解锁系统,允许用户使用AR/VR头显解锁附近的苹果设备。
◎ 增强融合显示
编号US10347050B1,苹果提出了一种利用AR扭曲图像来增强显示效果的方案,其特点是通过识别用户的视觉盲点,来用AR的形式改变真实环境的视觉效果,让原本用户看不到的内容,也能以某种形式可见。该方案基于眼球追踪技术,需要使用3D深度感知来捕捉周围场景。

◎ 头显无线感应充电
在编号US20200081490A1的专利中,苹果提出了一种适用AR/VR头显的感应充电架,特点是可直接将头显挂在上面展示,或是将电池分离,放在架子上充电。这种设计的优点在于,它既能把头戴式显示器放得整洁美观,又能在不使用时为其充电,以便用户随时取用。

◎ AirPlay隔空播放
在多项专利中,苹果曾提出将AR/VR头显与电脑、笔记本电脑、电视联动的方案,概念类似于现有的AirPlay功能,可以快速在头显中同步周围其他设备的屏幕(来播放视频、加载文档、邮箱等等)。

◎ 毫米波通讯系统
在2020年的一项专利中,苹果提出了一种基于毫米波的多人交互方案,特点是通过毫米波基站和多个中继基站,来实现与电子设备之间的大规模无线通讯,比如向多台AR/VR头显串流内容等等。

十一,应用场景
苹果在某些专利中详细探讨了AR/VR技术在多个场景中的应用,其中包括沉浸式影音体验、AR导航、AR视频通话系统等等。
◎ AR通话(专利编号20160344972)
基于相机捕捉、生成3D模型,用于实现沉浸式远程AR通话。该方案可用于iPad、Apple TV等设备,特点是可将通话者、通话者手上拿着的物体捕捉,并以虚拟形式呈现在视频中。
还会结合外部摄像头,搭载RGB图像传感器、深度传感器、IR传感器等,可识别空中手势,用于简化菜单操控方式。
◎ 虚拟助手
特点是具备上下文感知能力,利用计算机生成字符或图像,用于提示、导航、显示额外的信息,辅助用户使用AR/VR。除了视觉辅助外,虚拟助手也支持语音交互。

◎ AR导航
编号US20170213393A1:苹果AR/VR头显可能支持视觉导航,比如现实场景中的建筑、兴趣点上标记额外的信息,或是用AR标记车内的音响等各种功能。此外,支持手势交互。该专利来自Metaio的技术,除了AR导航方案外,Metaio还为AR环境识别(3D环境捕捉,以及天气、时间、坐标等数据识别)申请专利。

而在2018年另一份专利中,苹果还曾提出可从多角度查看的3D AR地图方案。
◎ AR体育转播
一种为体育比赛转播增加交互式增强现实内容的方法,以增强观赏体验。该方案的特点是,需要使用外部设备来检测观众的兴趣点,并在此基础上显示额外的信息,比如当你看对篮球员的鞋子感兴趣,系统就会在电视上显示球鞋的信息,还可以AR的形式展现球鞋模型,允许观众从多角度查看。

◎ 低延迟色度抠像
Zoom等视频软件已经支持背景替换功能,而在VST混合现实头显中,背景替换也可以得到很好的应用,比如将眼前的人、物体与实际背景风格,并实时替换为虚拟背景。与常见的背景替换方案不同,苹果专利方案更立体,可渲染3D背景,而非2D图像。

◎ 与电脑协同
在一些专利中,苹果提到了AR/VR在办公场景的应用,比如搭配Mac电脑,利用虚拟屏来扩展电脑屏幕的显示区域,或是将电脑屏幕内容显示在头显中,以保护用户隐私,防止窥屏。

◎ 手机等连接AR/VR头显(编号US20190065027A1)
描述了某种分体式触控交互方案,即使用手机等具备触控板、触感按键和显示屏的设备,来操控AR/VR头显显示的内容。换句话说,将iPhone作为AR/VR头显的手柄,这可以看做是手势、手柄之外的另一种交互方式,而且可以很好的融合苹果全家桶设备。

◎ 360°视频编码/解码技术
专利编号20190004414,指出了一种自适应分辨率和投影格式,特点是预设了多种编码配置方案,可根据成像效果选择是否插帧,从而提升360°和MR视频渲染质量。

我们只看到了这些专利的一部分,无法确切描述苹果XR设备的最终形态和功能。本文只是抛砖引玉,通过这些专利给大家一些线索和启示。苹果XR设备有待揭晓,期待在WWDC23让我们一睹芳容。
今天关于《挖掘数百篇AR/VR专利,苹果XR全方位探索》的内容就介绍到这里了,是不是学起来一目了然!想要了解更多关于专利,AR/VR,探索的内容请关注golang学习网公众号!
区块链开发入门指南(Go语言版)
- 上一篇
- 区块链开发入门指南(Go语言版)
- 下一篇
- 盘点20多个强大且免费的数据源,任何人都能以此来构建AI
-
- 科技周边 · 人工智能 | 11分钟前 |
- Claude怎么读完电子书?新方法揭秘
- 404浏览 收藏
-
- 科技周边 · 人工智能 | 16分钟前 | openclaw
- OpenClawAI支持长对话吗?使用教程
- 247浏览 收藏
-
- 科技周边 · 人工智能 | 18分钟前 |
- AI办公工具推荐与效率提升技巧
- 406浏览 收藏
-
- 科技周边 · 人工智能 | 43分钟前 | DeepSeek
- 外贸人必用翻译工具推荐
- 464浏览 收藏
-
- 科技周边 · 人工智能 | 44分钟前 |
- DeepSeekV4展会邀约短信怎么写
- 124浏览 收藏
-
- 科技周边 · 人工智能 | 45分钟前 |
- Perplexity递归搜索死循环解决方法
- 172浏览 收藏
-
- 科技周边 · 人工智能 | 48分钟前 |
- Minimax会议纪要效率提升10倍秘诀
- 408浏览 收藏
-
- 科技周边 · 人工智能 | 1小时前 | 火山方舟
- 设置方舟CodingPlan预警线,避免Token超支
- 360浏览 收藏
-
- 科技周边 · 人工智能 | 1小时前 |
- WorkBuddy技能导入响应慢?配置异步优化方法
- 260浏览 收藏
-
- 科技周边 · 人工智能 | 1小时前 | Hermes Agent HermesAgent
- HermesAgent接入KimiMoonshot配置解析
- 115浏览 收藏
-
- 科技周边 · 人工智能 | 1小时前 |
- 千问AI视频如何保证原创性
- 313浏览 收藏
-
- 科技周边 · 人工智能 | 1小时前 | Midjourney
- Midjourney甩镜头怎么生成
- 359浏览 收藏
-
- 前端进阶之JavaScript设计模式
- 设计模式是开发人员在软件开发过程中面临一般问题时的解决方案,代表了最佳的实践。本课程的主打内容包括JS常见设计模式以及具体应用场景,打造一站式知识长龙服务,适合有JS基础的同学学习。
- 543次学习
-
- GO语言核心编程课程
- 本课程采用真实案例,全面具体可落地,从理论到实践,一步一步将GO核心编程技术、编程思想、底层实现融会贯通,使学习者贴近时代脉搏,做IT互联网时代的弄潮儿。
- 516次学习
-
- 简单聊聊mysql8与网络通信
- 如有问题加微信:Le-studyg;在课程中,我们将首先介绍MySQL8的新特性,包括性能优化、安全增强、新数据类型等,帮助学生快速熟悉MySQL8的最新功能。接着,我们将深入解析MySQL的网络通信机制,包括协议、连接管理、数据传输等,让
- 500次学习
-
- JavaScript正则表达式基础与实战
- 在任何一门编程语言中,正则表达式,都是一项重要的知识,它提供了高效的字符串匹配与捕获机制,可以极大的简化程序设计。
- 487次学习
-
- 从零制作响应式网站—Grid布局
- 本系列教程将展示从零制作一个假想的网络科技公司官网,分为导航,轮播,关于我们,成功案例,服务流程,团队介绍,数据部分,公司动态,底部信息等内容区块。网站整体采用CSSGrid布局,支持响应式,有流畅过渡和展现动画。
- 485次学习
-
- ChatExcel酷表
- ChatExcel酷表是由北京大学团队打造的Excel聊天机器人,用自然语言操控表格,简化数据处理,告别繁琐操作,提升工作效率!适用于学生、上班族及政府人员。
- 4493次使用
-
- Any绘本
- 探索Any绘本(anypicturebook.com/zh),一款开源免费的AI绘本创作工具,基于Google Gemini与Flux AI模型,让您轻松创作个性化绘本。适用于家庭、教育、创作等多种场景,零门槛,高自由度,技术透明,本地可控。
- 4842次使用
-
- 可赞AI
- 可赞AI,AI驱动的办公可视化智能工具,助您轻松实现文本与可视化元素高效转化。无论是智能文档生成、多格式文本解析,还是一键生成专业图表、脑图、知识卡片,可赞AI都能让信息处理更清晰高效。覆盖数据汇报、会议纪要、内容营销等全场景,大幅提升办公效率,降低专业门槛,是您提升工作效率的得力助手。
- 4719次使用
-
- 星月写作
- 星月写作是国内首款聚焦中文网络小说创作的AI辅助工具,解决网文作者从构思到变现的全流程痛点。AI扫榜、专属模板、全链路适配,助力新人快速上手,资深作者效率倍增。
- 6557次使用
-
- MagicLight
- MagicLight.ai是全球首款叙事驱动型AI动画视频创作平台,专注于解决从故事想法到完整动画的全流程痛点。它通过自研AI模型,保障角色、风格、场景高度一致性,让零动画经验者也能高效产出专业级叙事内容。广泛适用于独立创作者、动画工作室、教育机构及企业营销,助您轻松实现创意落地与商业化。
- 5085次使用
-
- GPT-4王者加冕!读图做题性能炸天,凭自己就能考上斯坦福
- 2023-04-25 501浏览
-
- 单块V100训练模型提速72倍!尤洋团队新成果获AAAI 2023杰出论文奖
- 2023-04-24 501浏览
-
- ChatGPT 真的会接管世界吗?
- 2023-04-13 501浏览
-
- VR的终极形态是「假眼」?Neuralink前联合创始人掏出新产品:科学之眼!
- 2023-04-30 501浏览
-
- 实现实时制造可视性优势有哪些?
- 2023-04-15 501浏览

