掌阅科技申请阅爱聊商标 掌阅科技申请AI相关商标
来源:搜狐
2023-06-20 18:55:16
0浏览
收藏
对于一个科技周边开发者来说,牢固扎实的基础是十分重要的,golang学习网就来带大家一点点的掌握基础知识点。今天本篇文章带大家了解《掌阅科技申请阅爱聊商标 掌阅科技申请AI相关商标》,主要介绍了,希望对大家的知识积累有所帮助,快点收藏起来吧,否则需要时就找不到了!
掌阅科技(股票代码:603533)宣布,其首款对话式AI应用“阅爱聊”已于6月13日开始内测,据报道。据介绍,“阅爱聊”能够与对话系统中的预设角色形象进行对话,从而帮助读者阅读不同类型的文本内容。用户通过聊天对话的方式即可完成名著小说阅读。
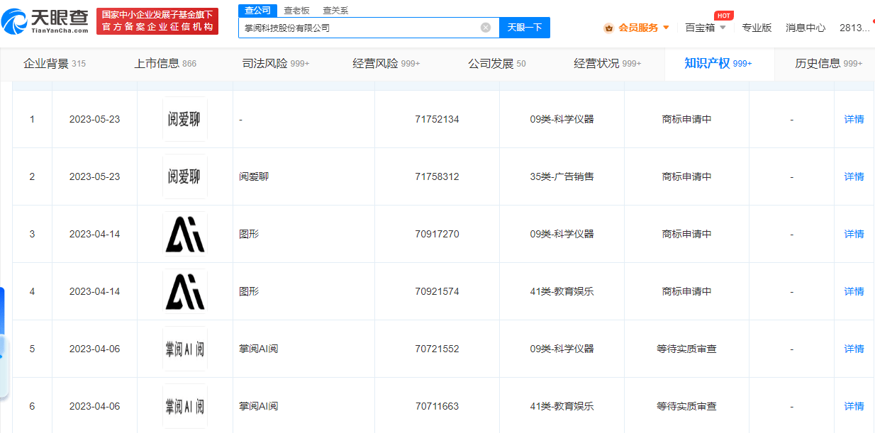
天眼查App显示,掌阅科技股份有限公司此前已申请注册多个“阅爱聊”“掌阅AI阅”等商标,国际分类包括广告销售、科学仪器、教育娱乐,当前商标状态均为申请中。


今天关于《掌阅科技申请阅爱聊商标 掌阅科技申请AI相关商标》的内容介绍就到此结束,如果有什么疑问或者建议,可以在golang学习网公众号下多多回复交流;文中若有不正之处,也希望回复留言以告知!
版本声明
本文转载于:搜狐 如有侵犯,请联系study_golang@163.com删除
全球销量第一,美国“捕食者”系列无人机,为何能长盛不衰?
- 上一篇
- 全球销量第一,美国“捕食者”系列无人机,为何能长盛不衰?
- 下一篇
- 智能汽车线控转向技术详解
查看更多
最新文章
-
- 科技周边 · 人工智能 | 12分钟前 |
- CodeGeeX怎么写YAML_CodeGeeX配置文件快速编写技巧【YAML】
- 371浏览 收藏
-
- 科技周边 · 人工智能 | 19分钟前 |
- Transformer 原理图解:如何快速上手 AI 领域最火的架构
- 382浏览 收藏
-
- 科技周边 · 人工智能 | 43分钟前 | AI视频 视频生成
- 本地AI视频软件部署 | AI视频生成快速上手指南
- 435浏览 收藏
-
- 科技周边 · 人工智能 | 52分钟前 |
- PlaskAi一键生成动画动作捕捉准吗_Plask动作捕捉动画测评【对比】
- 382浏览 收藏
-
- 科技周边 · 人工智能 | 9小时前 |
- DeepSeek多语言代码转换教程 DeepSeek跨平台开发技巧
- 424浏览 收藏
-
- 科技周边 · 人工智能 | 9小时前 | openclaw
- 学习伴侣:OpenClaw自动整理笔记与生成Anki抽认卡
- 404浏览 收藏
-
- 科技周边 · 人工智能 | 9小时前 |
- WorkBuddy vs. ChatGPT:谁更适合中国职场?
- 223浏览 收藏
-
- 科技周边 · 人工智能 | 9小时前 |
- 海螺AI主观视角开场运镜怎么拍_海螺AI沉浸式开场教程
- 444浏览 收藏
-
- 科技周边 · 人工智能 | 9小时前 |
- lovemo官方在线版 lovemo网页免费入口
- 131浏览 收藏
-
- 科技周边 · 人工智能 | 10小时前 |
- WorkBuddy存储对象怎么批量授权_利用前缀规则简化管理
- 487浏览 收藏
-
- 科技周边 · 人工智能 | 10小时前 | AI应用
- AI生成服装设计怎么操作_CalaAI辅助时尚设计教程
- 367浏览 收藏
查看更多
课程推荐
-
- 前端进阶之JavaScript设计模式
- 设计模式是开发人员在软件开发过程中面临一般问题时的解决方案,代表了最佳的实践。本课程的主打内容包括JS常见设计模式以及具体应用场景,打造一站式知识长龙服务,适合有JS基础的同学学习。
- 543次学习
-
- GO语言核心编程课程
- 本课程采用真实案例,全面具体可落地,从理论到实践,一步一步将GO核心编程技术、编程思想、底层实现融会贯通,使学习者贴近时代脉搏,做IT互联网时代的弄潮儿。
- 516次学习
-
- 简单聊聊mysql8与网络通信
- 如有问题加微信:Le-studyg;在课程中,我们将首先介绍MySQL8的新特性,包括性能优化、安全增强、新数据类型等,帮助学生快速熟悉MySQL8的最新功能。接着,我们将深入解析MySQL的网络通信机制,包括协议、连接管理、数据传输等,让
- 500次学习
-
- JavaScript正则表达式基础与实战
- 在任何一门编程语言中,正则表达式,都是一项重要的知识,它提供了高效的字符串匹配与捕获机制,可以极大的简化程序设计。
- 487次学习
-
- 从零制作响应式网站—Grid布局
- 本系列教程将展示从零制作一个假想的网络科技公司官网,分为导航,轮播,关于我们,成功案例,服务流程,团队介绍,数据部分,公司动态,底部信息等内容区块。网站整体采用CSSGrid布局,支持响应式,有流畅过渡和展现动画。
- 485次学习
查看更多
AI推荐
-
- ChatExcel酷表
- ChatExcel酷表是由北京大学团队打造的Excel聊天机器人,用自然语言操控表格,简化数据处理,告别繁琐操作,提升工作效率!适用于学生、上班族及政府人员。
- 4446次使用
-
- Any绘本
- 探索Any绘本(anypicturebook.com/zh),一款开源免费的AI绘本创作工具,基于Google Gemini与Flux AI模型,让您轻松创作个性化绘本。适用于家庭、教育、创作等多种场景,零门槛,高自由度,技术透明,本地可控。
- 4801次使用
-
- 可赞AI
- 可赞AI,AI驱动的办公可视化智能工具,助您轻松实现文本与可视化元素高效转化。无论是智能文档生成、多格式文本解析,还是一键生成专业图表、脑图、知识卡片,可赞AI都能让信息处理更清晰高效。覆盖数据汇报、会议纪要、内容营销等全场景,大幅提升办公效率,降低专业门槛,是您提升工作效率的得力助手。
- 4680次使用
-
- 星月写作
- 星月写作是国内首款聚焦中文网络小说创作的AI辅助工具,解决网文作者从构思到变现的全流程痛点。AI扫榜、专属模板、全链路适配,助力新人快速上手,资深作者效率倍增。
- 6468次使用
-
- MagicLight
- MagicLight.ai是全球首款叙事驱动型AI动画视频创作平台,专注于解决从故事想法到完整动画的全流程痛点。它通过自研AI模型,保障角色、风格、场景高度一致性,让零动画经验者也能高效产出专业级叙事内容。广泛适用于独立创作者、动画工作室、教育机构及企业营销,助您轻松实现创意落地与商业化。
- 5052次使用
查看更多
相关文章
-
- GPT-4王者加冕!读图做题性能炸天,凭自己就能考上斯坦福
- 2023-04-25 501浏览
-
- 单块V100训练模型提速72倍!尤洋团队新成果获AAAI 2023杰出论文奖
- 2023-04-24 501浏览
-
- ChatGPT 真的会接管世界吗?
- 2023-04-13 501浏览
-
- VR的终极形态是「假眼」?Neuralink前联合创始人掏出新产品:科学之眼!
- 2023-04-30 501浏览
-
- 实现实时制造可视性优势有哪些?
- 2023-04-15 501浏览

